文|野马财经 冯伟康
围绕中国宝安,2021年第一场重量级的股权争夺战或将打响。
一方是聚集众多大佬,来势汹汹的粤民投,一方是严阵以待,备好《公司章程》的“内部人”,消息传出,股价涨停。
举牌之后,粤民投还将增持不低于100万股……
2月1日晚,中国宝安(00009.SZ)公告称,韶关市高创企业管理有限公司(以下简称“韶关高创”)增持0.10%股权,合计持有总股本的5%,触发举牌。
这意味着,韶关高创举牌后将超过李松强跃居第三大股东,而韶关高创为广东民营投资股份有限公司(以下简称“粤民投”)的全资子公司。
韶关高创表示,增持中国宝安是基于其未来前景的信心和认可,同时计划在未来12个月内累计增持不低于100万股。因此,未来韶光高创有一定可能威胁到大股东深圳市富安控股有限公司(以下简称“富安控股”)的地位。
受此消息影响,2月2日开盘,中国宝安直接涨停。截至2月3日收盘,股价两天上涨12.96%至7.93元/股,总市值达204.53亿元。
股权争夺战历史重现?
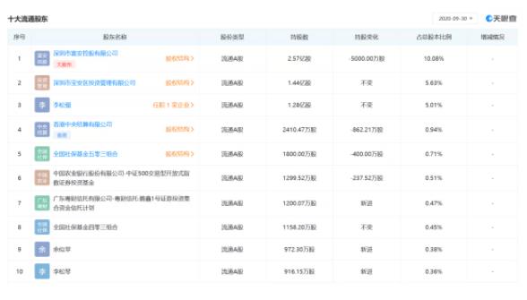
据去年三季报最新披露,中国宝安前三大股东分别为富安控股、深圳市宝安区投资管理有限公司(以下简称“宝安资产”)和牛散李松强,持股比例分别为9.97%、5.57%和4.95%,且三大股东并非一致行动人。

图片来源:天眼查
显然,中国宝安股权分散,目前处于无实控人状态,且后三位大股东持股比例较为接近,微妙的局势使气氛紧张起来。若粤民投再度举牌,其持股比例将超越富安控股成为第一大股东,其他股东防守反击也不无可能。
事实上,就在过去一年,粤民投通过增持辽宁成大,“敲响”广发证券大门的事情还历历在目。
与中国宝安类似,广发证券股东结构较为分散,无实际控制人,也呈“三足鼎立”态势。在2020年三季度末之时,广发证券前三大股东还是吉林敖东、辽宁成大、中山公用,分别持股16.43%、16.24%、9.01%。
自2020年1月2日开始,粤民投通过全资子公司韶关高腾持股达到5%,触及举牌线后,韶关高腾已经多次增持辽宁成大股份,持股比例达15%。
当时,韶关高腾曾对外表示,无意谋求辽宁成大的实际控制权。
不过,2020年11月,广发证券公告称,辽宁成大于3月23日至11月5日合计增持公司1%股权,持股比例由16.42%变为17.42%,已经成功超越吉林敖东,成为广发证券的第一大股东。
粤民投增持辽宁成大似乎成了举牌中国宝安的预演。知名经济学家宋清辉表示:“可以预见,中国宝安将上演股权争夺战。”
攻防势力都是谁?
外界曾有传言称,中国宝安第一大股东富安控股是董事长陈政民的“马甲”,野马财经致电中国宝安证券部询问股东相关情况,对方称“不知情”。
天眼查信息显示,经股权穿透,富安控股疑似实控人为许燕霞,而关于其人的公开资料甚少。

图片来源:天眼查
据中国宝安半年报披露,前两大股东富安控股和宝安资产之间不存在关联关系或一致行动关系,其他股东之间关联关系或一致行动关系未知。
由此看来,中国宝安第三大股东、牛散李松强的立场就显得十分微妙。值得一提的是,一年多以前,李松强曾和一致行动人妹妹李松琴举牌中国宝安。
此前,李松强先在中国宝安“潜伏”了2年。
在2018年第一季度末,李松强首次出现在中国宝安前十大股东之列,排名第五,持股比例为0.68%。随后,李松强一路增持中国宝安的股份,截至2019年6月24日,李松强持有中国宝安的股份比例为4.95%,李松琴持有中国宝安的股份比例为0.037%。
2019年6月25日,李松琴通过集中竞价增持中国宝安约680.01万股,李松强、李松琴二人合计持有中国宝安的股份比例达5.31%,然而在触及举牌线后延迟半年才披露。
此次举牌一方的粤民投,成立于2016年9月8日,是由广东省政府指导推动、省内多家大型民营企业发起设立的民营投资公司。
首期创立股东包括贤丰控股、美的控股、碧桂园、海天集团等在内的16家民营经济的明星公司。企业计划注册资本达500亿元,首期已实缴资本金160亿元,体量庞大实力强劲。
粤民投董事长兼总裁叶俊英,曾在广发证券先后任投资银行部总经理、公司董事、副总裁,此后组织筹备易方达基金,成为易方达创始人之一。公司执行总裁肖坚、副总裁凌云也都有过在易方达基金任职的经历。
粤民投前三大股东为珠海贤丰粤富投资合伙企业(有限合伙)、康美实业投资控股有限公司和华美国际投资集团有限公司,其分别持股15.63%、12.5%和7.81%。
具体来看,三大股东背后势力分别是贤丰控股(002141.SZ)、康美药业原实控人马兴田、华美国际投资实控人张克强。
图片来源:乐居财经
据天眼查显示,碧桂园杨惠妍、星河湾董事长黄文仔、香雪制药董事长王永辉、康美药业副董事长许冬谨、贤丰控股董事长谢松锋、万和集团前副总裁卢宇阳等粤商界名人,均在粤民投董事的名单上。
背后资本雄厚,粤民投四处出击。近年来,其投资的项目包括新三板的点米科技、港股的微创医疗和A股的立思辰。
此次高调举牌中国宝安,或许就是粤民投的又一次出手。
宝安“不安”
公开资料显示,中国宝安成立于1983年,其发展战略是“建设一个以新材料为主的高科技产业集团”,主营业务包含高新技术产业、生物医药产业、房地产开发经营。
2020年半年报显示,中国宝安的主营业务为高新技术行业、医药行业、房地产行业、其他行业,占营收比例分别为:53.94%、29.68%、10.99%、4.5%,高新技术行业成为其支柱业务。
具体来说,其高新技术产业主要涉及新材料、新能源汽车、精密零件制造及军工等领域。
中国宝安旗下新三板挂牌企业贝特瑞(835185.OC)是一家专业从事锂离子电池正、负极材料的研发、生产和销售的企业,拥有锂离子电池负极材料完整产业链。
中国宝安半年报称:“贝特瑞是全球锂离子电池负极材料龙头企业,其所生产的产品主要应用于电子数码、新能源汽车动力电池和储能领域。”
此外,中国宝安旗下还有多家上市公司及挂牌公司,包括国际精密(0929.HK)、大地和(831385.OC)、友诚科技(873087.OC)等。
中国宝安还通过控股上市公司马应龙(600993.SH)、大佛药业(836649.OC)、绿金高新(870415.OC)等布局药品生产经营、医院诊疗服务、生物农业等领域。
1月22日,中国宝安发布业绩预告称,去年归属于股东的净利润预计为6.5亿元至7.8亿元,同比增长115.85%至159.02%,扣除非经常性损益后的净利润约为-1.24亿元至-2.54亿元。
中国宝安表示,预计公司2020年净利润同比上升,主要是公司本期处置子公司投资收益约4亿元,证券、股权投资收益及公允价值变动收益约5亿元,属于非经常性损益。
中国宝安作为内部人控制企业,早在2016年为防止恶意收购而设立“金色降落伞”策略。
2016年6月7日,中国宝安发布公告对《公司章程》加入新的条款,“当公司被并购接管,在公司董事、监事、总裁和其他高级管理人员任期未届满前如确需终止或解除职务,必须得到本人的认可,且公司须一次性支付相当于其年薪及福利待遇总和十倍以上的经济补偿”。
简言之,该策略指的是雇用合同中按照公司控制权变动条款,一般来说,员工非自身原因被迫离职时可得到一大笔离职金。
彼时,中国宝安对此表示,由于公司的股权结构相对分散,容易成为被举牌目标,公司董事局基于公司的长远发展,为防止恶意收购给公司的正常生产经营活动带来混乱,才增添的该条款。
如今,敲门人已来,中国宝安将不再平静。
值得注意的是,此次举牌中国宝安的粤民投全资子公司韶关高创,从2020年8月才开始营业,在10月12日至11月12日短短一个月内就买进了中国宝安4.9%的股份。
粤民投之心,已经显露无遗。对集聚各方资本势力这场一触即发的“股权争夺战”,你怎么看?欢迎在下面留言讨论。


评论