记者 |
编辑 | 曾福斌
5.72亿元存货离奇失踪后,广州浪奇(000523.SZ)的“贸易黑洞”问题逐渐被揭开。界面新闻记者调查发现,与广州浪奇从事“贸易黑洞”业务的同一批企业,同一批人员,还与多个上市公司及IPO公司做着类似的业务。
除广州浪奇外,涉及的交易对象还包括A股上市公司世龙实业(002748.SZ)、延安必康(002411.SZ)、达志科技(300530.SZ),新三板公司托球股份(836190.OC)、快达农化(870536.OC),以及正在申请IPO上市的犇星新材。
目前,世龙实业的贸易业务也已经出了问题。
世龙实业的诸多蹊跷
1月30日,世龙实业披露2020年度业绩预告,因对部分存在回收风险的大额应收账款全额估提了减值准备,公司预计亏损7000万元至1.3亿元。世龙实业应收账款的重要组成即产自贸易业务。

数据显示,世龙实业2020年上半年亏损2879.13万元,2020年前三季度亏损额收缩为2349.48万元。这意味着原本公司第三季度有数百万的盈利,但突然的大额减值准备让公司陷入了更大的亏损。
世龙实业成立于2003年12月2日,上市于2015年3月19日,是一家以生产精细化工产品为主的综合性化工企业,主要从事AC发泡剂、氯化亚砜、氯碱等化工产品的研发、生产和销售。
世龙实业收入构成主要两部分,2020年上半年化工业务占了74.58%,贸易业务占了24.65%。
界面新闻整理公告信息发现,世龙实业从事贸易业务时间并不长。
2018年5月,世龙实业投资设立全资子公司江西世龙供应链管理有限公司(下称世龙供应链),开展公司产业链上下游的商品贸易业务。2018年世龙实业贸易类产品的收入为1.84亿元,占当年总收入14.85亿元比并不高,为12.38%。
2019年,世龙实业开展了尿素、煤炭、医药和农药中间体及其他化工产品的贸易业务,上半年贸易类业务收入为4.64亿元。2019年年报,世龙实业收入构成并未使用“贸易类”字样,从多份定期报告对比看,贸易业务数据应该放在了“供应链业务”名目下。2019年世龙实业“供应链业务”的收入为5.82亿元,在18.5亿元总收入中占比超31%。2019年世龙供应链的净利润为1427.49万元。
2020年上半年,世龙实业贸易业务收入为1.77亿元,在7.2亿元总收入中占比再度下滑为24.65%,其解释是因为疫情影响。
贸易业务增加了世龙实业的收入,也埋下了巨大隐患。
2018年年报显示,世龙实业当年经营活动产生的现金流量净额减少94.35%,原因就有子公司贸易预付款增加。
截至2018年末、2019年末、2020年上半年末,世龙实业应收账款分别为1.1亿元、1.4亿元、2.49亿元。2019年、2020年上半年应收账款的大幅飙升均与贸易业务应收账款增加有关。
需要指出的是,2018年至2020年上半年,世龙实业贸易业务金额曲线似“n”形,但应收账款却类似J型。直到发布2020年业绩预告时,世龙实业一直“正常”的贸易业务才爆出问题。
值得一提的是,世龙实业这几年的会计师事务所均为大华会计师事务所(特殊普通合伙),2018年、2019年的审计意见均为“标准无保留意见”。
世龙实业的蹊跷之处,不仅仅是贸易业务,此前公司的公开信息中就透露着一些异样。
首先是“难产”的换届。
早在2020年5月份,世龙实业第四届董事会、监事会就已经任期届满,当时公司解释换届未成行的主要原因是提名工作尚未完成。
2020年11月30日,世龙实业董事长刘宜云提议召开董事会,审议有关换届的议案,但遭遇了来自6名董事的不满,议案被否。此事还引来了监管层的关注函。世龙实业对此解释为公司各董事、监事之间的沟通和交流不够充分,并提到控股股东江西电化高科有限责任公司(下称电化高科)、江西大龙实业有限公司(下称大龙实业)对相关候选人人选持不同意见,一直未达成共识。
截至目前,世龙实业何时换届,仍是未知数。
其次是高管与股东间的法律纠纷。
刘宜云是世龙实业的董事长,也是大龙实业的董事及电化高科的董事长。
从天眼查APP可以看到,就在2020年10月19日,由电化高科状告刘宜云有关“返还原物纠纷”的案件开庭,案号为(2020)赣0281民初2900号,法院为乐平市人民法院。2020年11月24日,另一起“返还原物纠纷”案于乐平市人民法院内开庭,原告为大龙实业,被告为刘宜云、张海清。
张海清系世龙实业的总经理,大龙实业和电化高科的董事,同时也是世龙供应链的法定代表人及执行董事。
由此可见,刘宜云、张海清与股东间的矛盾早已公开化。此前由刘宜云提议召开的董事会换届议案最终被否,或不仅仅在于“沟通不够”。
另外,近期内,世龙实业还经历着股东减持及高管撤退。
2020年12月9日晚间世龙实业披露,12月8日上市公司收到董事王世团、监事罗锦灿提交的书面辞职报告,辞职后均不再担任公司任何职务。
世龙实业招股说明书显示,王世团1966年出生,中国香港公民,在新世界信息科技有限公司(下称新世界信息)任职。巧的是,1964年出生的罗锦灿,同样也是中国香港公民,同样任职新世界信息。
世龙实业目前第二大股东新世界精细化工投资有限公司(下称新世界投资)由2006年进入,是新世界信息的全资孙公司。新世界信息则为香港联交所上市公司新世界发展有限公司(00017.HK)旗下全资子公司。
新世界投资发行时拥有2174.25万股世龙实业,占总股本18.12%,但自2017年以来,新世界投资就在陆续默默减持。因为中间转增分派,2020年年初,新世界投资还持有世龙实业2913.99万股,占总股本的12.14%。后续新世界投资减持持续,至2020年11月份,新世界投资的持股比例进一步下降到10.1416%。
新世界投资不断减磅,安置在世龙实业中的高管提前抽身,也就非意料之外了。
此外,在2020年最后一天,世龙实业披露公司董事唐文勇也提交了书面辞职报告,辞职后不再担任公司任何职务。唐文勇系大龙实业的董事长,电化高科的董事,还在11月30日的董事会上投出过反对票。
掉进广州浪奇式“贸易黑洞”?
回到出问题的贸易业务。在界面新闻记者辗转获悉的几份世龙供应链的“产品购销合同”上,显示的供销商名称却“触目惊心”。
在2019年7月24日签订的一份“产品购销合同”中,需方为世龙供应链,供方为江苏中冶化工有限公司(下称中冶化工),涉及产品为戊酮,型号98.5%,数量150吨,单价8.3万元/吨,总价1245万元。此合同双方皆有公章。
另外在2019年8月9日、8月13日、8月19日等,中冶化工与世龙供应链也有签订“产品购销合同”,产品均为戊酮,涉及金额分别为581万元、664万元、498万元,中冶化工均为供方,世龙供应链为需方。
到了2020年,在世龙供应链的供应商中,又出现了南通鑫乾化工有限公司(下称南通鑫乾)、南通福泽化工有限公司(下称南通福泽)等,销售对象则出现了如东泰邦化工有限公司(下称如东泰邦)。
在2020年7月5日签订的一份合同中,由南通鑫乾作为供方,卖给世龙供应链1-(4-氯苯基)-4,4二甲基-3-戊酮,数量120吨,含税单价6万元/吨,涉及金额720万元;同样在7月5日,世龙供应链又与如东泰邦签订合同,将到手的120吨1-(4-氯苯基)-4,4二甲基-3-戊酮,以6.3万元/吨的价格卖出120吨,涉及金额756万元。
2020年10月8日,供方变成南通福泽,同样是与世龙供应链签订“产品购销合同”,产品同样为1-(4-氯苯基)-4,4二甲基-3-戊酮,涉及金额有1518万元。
另外,有材料显示,世龙供应链还与江苏琦衡农化科技有限公司(下称江苏琦衡农化)有过贸易往来。
为进一步核实情况,界面新闻记者致电了上述几家与世龙供应链从事贸易业务公司,但要么无法拨通,要么接通后对方表示不知情。记者也尝试拨打了通过天眼查APP查到的世龙供应链电话,无人接听。
世龙实业存在回收风险的应收账款,有多少与上述的贸易业务有关?为此,界面新闻记者致电并将采访提纲发邮件给世龙实业想进一步了解细节,截至发稿未有回应。
值得注意的是,无论是作为世龙供应链供应方的南通鑫乾,还是售卖对象的如东泰邦,两者的委托代理人均为於善国。更为重要的是,上述提及的公司,也曾在广州浪奇“贸易黑洞”中扮演着重要的角色。
广州浪奇2020年11月18日公告,公司向广东省广州市中级人民法院提交关于公司分别与南通鑫乾、南通福泽、南通福鑫化工有限公司(下称南通福鑫)、如东泰邦关于买卖合同纠纷的起诉书及财产保全申请书。广州浪奇透露,这些公司作为广州浪奇的销售对象,却未按照合同约定支付货款,广州浪奇要求其支付货款本金及违约金等,涉案金额5亿元左右。
这一诉讼涉及的南通鑫乾、南通福泽、如东泰邦化3家公司,前两者对世龙供应链来说是供货方,对广州浪奇来说是销售对象。
至于中冶化工,广州浪奇此前部分账户冻结的原因,就是与中冶化工以及江苏保华国际贸易有限公司(下称保华公司)的金融借款合同纠纷案有关。
2019年3月份、4月份时,中冶化工和保华公司向张家港农商行借款,担保的则是广州浪奇开出的电子商业承兑汇票,同时还有一种保证人。不过中冶化工和保华公司后并未还本付息,商业汇票到期也未能按时予以兑付,各保证人也未能履行保证责任,故张家港农商行一纸诉讼,将相关方告上法庭。
江苏琦衡农化更是与广州浪奇关系非浅。广州浪奇2013年从中冶化工手中收购了江苏琦衡农化25%的股份。广州浪奇也一度想转手江苏琦衡农化,但至今未成行。
指向同一批人
这些与广州浪奇和世龙供应链做着贸易业务的公司之间,又有怎样的联系?
据公开信息,此前中冶化工注册的联系电话中有“0513-55081580”,偏偏这个电话号码南通福泽用过,南通鑫乾用过,如东泰邦也用过,另外前述被广州浪奇起诉的南通福鑫也用过。现在这些公司的联系电话均已修改。
此外,中冶化工的注册地址为“南通市崇川区工农南路156号鑫乾国际广场A13层”,这个地址南通福泽也曾用过。但南通福泽于2018年5月9日变更了信息,现在的注册地址为“南通市经济技术开发区创业外包服务中心D座3层”,又与南通福鑫现在的注册地址一致。
中冶化工目前由季苏福持股20%,戴功洲持股80%,负责人为季苏福。但最初中冶化工的负责人为桑志国(同时也曾是股东),直到2015年7月才退出。而南通鑫乾目前的监事就叫桑志国。桑志国也曾是前述被广州浪奇起诉过的南通福鑫的股东及法定代表人。
中冶化工曾经还有股东名为沈建军,该人士同时也是南通福鑫的原股东和原高管。
南通福泽目前由蔡尧伯100%持有,但在2020年12月1日前,南通福泽的股东和负责人却为蔡雯婷。天眼查APP显示,蔡雯婷曾系南通迈特生物工程有限公司(下称南通迈特生物)的股东、负责人,而南通迈特生物由江苏琦衡农化100%持股。再往上追溯,江苏琦衡农化则是由王健控制49%,广州浪奇持股25%。
进一步看,南通迈特生物的监事也为桑志国,执行董事为陈广美。目前持股南通鑫乾100%股份的股东名字,正是叫陈广美。
江苏琦衡农化目前的法定代表人为陈华国,南通鑫乾的原负责人和原股东中,也有陈华国。由江苏琦衡农化100%持股的江苏琦衡国际贸易有限公司中,执行董事和法定代表人为陈广美,监事桑合富,而南通福鑫的现任法定代表人也名为桑合富。
还有一个关于江苏琦衡农化的公开信息是,江苏琦衡农化的董事黄健彬,同时也是广州浪奇子公司广东奇化化工交易中心股份有限公司的董事及财务总监,已被移交公安。
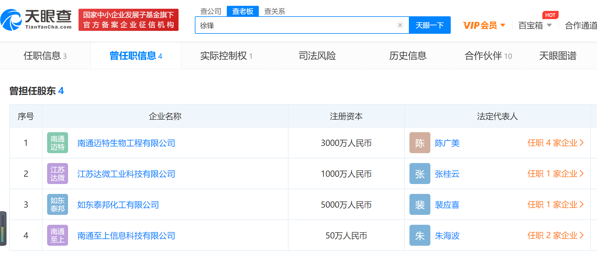
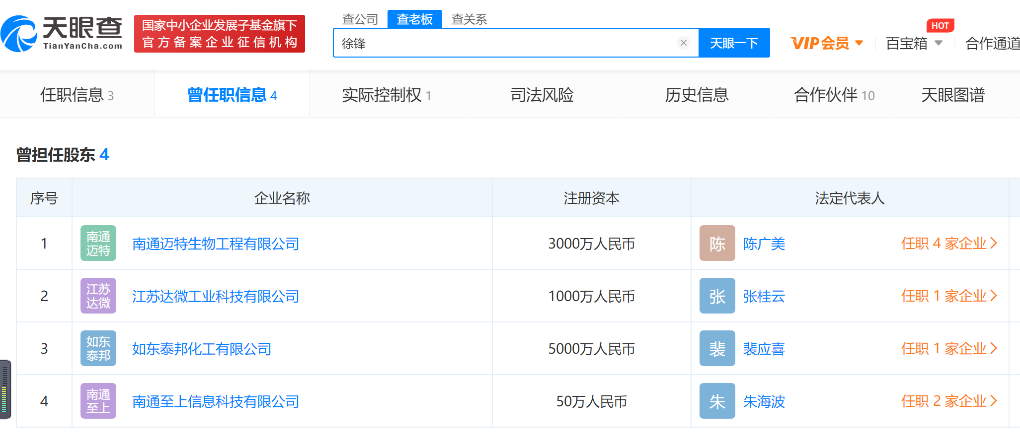
另外,如东泰邦的前股东、负责人徐锋,也曾是南通迈特生物的原股东。
这里面还一个关键人物是江苏琦衡农化的大股东王健。
王健此前曾对媒体表示,桑志国为其代持股份。再根据另一家上市公司达志科技的披露,“经中冶化工业务人员介绍及确认,季苏福系王健的舅舅,季苏福所持中冶化工股权系代王健持有。上述股权变动之原因系中冶化工为便于与戴功洲进行相关事项合作所办理的临时股权变更,待后续合作事项完成,戴功洲所持80%股权将转回至季苏福”。也就是说,中冶化工实际受王健控制。
天眼查APP显示,前面提到的世龙供应链的贸易供应方南通鑫乾、销售对象如东泰邦的相同的委托代理人於善国,则是江苏琦衡农化的监事。
另据公开报道,王健出生于1974年,江苏省南通如东县人。化工产业是如东县的主要支柱产业之一,王健正是靠化工起家。其编制了一张关系密切的网络,与多家上市公司做着类似的化工贸易业务。
已涉4家A股、2家新三板、1家IPO公司
事实上,除了广州浪奇、世龙实业外,在与前述同一批关系复杂的化工企业从事过贸易业务的公司还有A股的延安必康、前面说的达志科技,新三板公司托球股份、快达农化,以及正在申请IPO的犇星新材。
先说达志科技,其也是在2018年开始逐步布局拓展化工贸易业务的,2018年实现贸易业务收入约3716.29万元,2019年6957.87万元,2020年受疫情等影响,1-9月的贸易业务收入约948.94万元。其中,中冶化工正是达志科技贸易业务的主要客户,保华公司则是贸易业务的主要供应商。达志科技的贸易业务已被监管层留意,甚至还被问询其业务的真实性。
在2020年10月29日的回复函中,达志科技还答疑了中冶化工与保华公司办公地址相同的缘故,即分别租用了中国房地产开发集团南通有限公司持有、管理并对外出租的物业大楼的办公场所作为其办公场地(位于南通市崇川区沈家巷15号)。另由于两公司在工商年报信息填报时均委托中国房地产开发集团南通有限公司办公室相关工作人员予以协助办理,所留电话“0513-55081580”系公司办公所在大楼(即中国房地产开发集团南通有限公司所持有物业大楼 )前台办公电话, 所留存邮箱“185051177@qq.com”系中国房地产开发集团南通有限公司办公室相关工作人员的邮箱,因此两家公司在国家企业信用信息公示系统披露的企业通讯地址、邮箱、联系电话相同。
先前提及,“0513-55081580”这个电话不仅是中冶化工使用过,就连南通福泽、南通鑫乾、如东泰邦、南通福鑫也都使用过。若说多家公司“巧合”地都委托了同一代办工作人员,又“巧合”就是直接的产业链上下游关系,几率又有多大?
不管怎样,达志科技面对质疑,回答是真实的货物交割。
延安必康方面,当时延安必康还名为九九久,有报道称其2009年第三大客户江苏柏川化工有限公司(下称江苏柏川),也是其2009年的第二大供应商。在2013年广州浪奇的公告中,可以看到,江苏柏川的股东方为江苏琦衡农化控股股东王健的直系亲属。
到了2014年6月,九九久还进一步和江苏琦衡农化签订了《供销合同》,合同总金额4.92亿元。不过2016年1月,九九久又发布重大诉讼事项公告,披露了当时江苏琦衡农化拖欠货款2.13亿元,九九久还曾把江苏琦衡农化告了。
正在申请IPO上市的犇星新材,其2017年的客户中就有江苏琦衡农化,以及江苏振方生物化学有限公司(下称振方生物),且2017年的供应商中也有振方生物和琦衡国际。在2018年时,振方生物再次成为犇星新材的客户和供应商。
振方生物,成立于2012年5月23日,由王春红持股60%。王春红正是江苏柏川的股东和监事,持有江苏柏川84.7%的股份,根据广州浪奇之前公告,王春红极有可能就是王健的直系亲属。
新三板公司托球股份(836190.OC)、快达农化(870536.OC)的披露中,也同样出现了如东泰邦、中冶化工、奇化化工等名字,这些公司或为供应商或为客户,模式雷同。



评论