作为南京本土房企,近年来,通宇地产维权风波不断。
长久以来,通宇林景尊园、通宇林景蘭园等项目存在不同程度的延期交付问题,引起了诸多纠纷。
其中,以通宇林景尊园为甚,拿地10年,工程进度缓慢,项目交付一再延期。
时至今日,项目已延期交付长达一年之久,界面楼市南京站实地探访发现,原先延迟交付于今年6月的通宇林景尊园,按照目前的工程进度来看,项目或将再次延期交付。
通宇林景尊园还能如期交付吗?实探发现……
通宇林景尊园位于浦口新浦路与康盛路交汇处,处于浦口城南中心板块,周边配套较为完善,生活气息浓厚,距离10号线南京工业大学地铁站约1.8公里,区域内有大润发、江北虹悦城、慕斯荟等商业体,项目附近就有南京市浦口区中心医院。
通宇林景尊园原定于2020年3月31日交付,有的房源交付延期到今年6月。
如今,转眼已到2021年3月,距离约定的交付也只3个多月的时间,目前通宇林景尊园的现状如何呢?
界面楼市南京站来到通宇林景尊园项目所在地,发现项目上只有零星的工人在施工,紧邻河滨路一侧的某栋住宅正在做外立面。
位于新浦路一侧的社区中心,目前还没有完全拆除脚手架,工人正在作业。
项目至今还没有外墙,仅靠着绿色围挡遮住,靠着河滨路这侧的工地宿舍处垃圾遍地。
小区内部没有成型的道路,地面上裸土较多,有挖土机等机械车辆疑似在平整土地。
大部分裸土暴露在外,存在扬尘风险,这违反了《南京市城市裸土覆盖专项整治工作方案》(以下简称方案),方案中要求施工区域要使用绿色防尘网进行覆盖,防尘网密度要达到扁丝四针以上。
位于小区中央地带的2栋,仍在施工当中,脚手架和绿网都没有进行拆除,甚至部分外立面都没有开始施工。
在实探过程中,界面楼市南京站发现,由于前段时间的降雨,通宇林景尊园的某栋建筑(疑似8栋)出现了明显的颜色分层…
综上所述,和年前相比,现在通宇林景尊园的进度相当缓慢,小区内部的道路、绿化还没搞,是否能如期交付呢?当然,我们也希望项目能如期完工,给业主一个满意的答复。
延期交付,赔付标准离奇,通宇林景尊园到底有哪些槽点?
去年以来,通宇林景尊园就面临着交付难,赔付标准低等问题,一时间被推上了风口浪尖。
交付延期:
项目于2017年12月首开,推出3、4、5、6、8号楼,共计约362套毛坯房源,销许均价27300元/㎡,拟交付日期2020年3月31日。
由于去年疫情的原因,项目的进度受到点影响,业主收到开发商的回复是:正在加紧复工,争取早日交付。
关于具体的交付日期,开发商并没有明确回复,业主爆料:就算是同一楼层的房源,交付时间各有不同,有的延迟交付到2021年6月30日,有的则是要到2021年年底。
赔付标准:
此前,业主和开发商签订的《商品房预售合同》第六条约定,甲方延迟交付该商品房的,应该承担延期赔偿10元/天,且退房赔偿为合同签订之日起,按同期银行贷款利息赔。
后期,双方协商约定,甲方延迟交付该商品房的,逾期在180日之内,自第六条约定的交付期限届满之次日起至实际交付之日止,甲方按日计算向乙方支付全部已付房价款万分之1.3的违约金。
逾期超过180日后,乙方有权解除合同。
只是,根据业主的投诉,关于支付时间和支付方式,开发商并没有明确的书面说明。
除此之外,看着赔付金额确实有所提高,但是,赔付的结算起始时间发生了变化,起赔点也从合同签订之日退到期房约定交付之日。
这就意味着,业主还需要面临3个月宽展期免责,加上2个月疫情的影响,承担了不小的经济损失。
退房难:
想要退房的业主需要等待至少11个月的时间,即2个月疫情、3个月宽展期、合同退房条款约定的180天。
对于退房成功的业主来说,买房又要提上日程,只是同板块置业门槛又提高了,这就意味着购房成本进一步增加。
以当初通宇林景尊园毛坯均价2.7万/㎡的价格,入手建筑面积约89㎡的房源大约需要240万,如今,项目旁在售的滨江嘉品,弘阳望江悦府、正荣润棠府等新房,均价3万/㎡不等,面对同样建筑面积约89㎡的房源,买房人增加了至少27万的购房成本。
虚假宣传:
从前期业主投诉的情况来看,项目存在虚假宣传,置业顾问当初没有尽到告知义务,他们对于小区南侧的浦云路大桥一无所知。
如今浦云路大桥的通车,将对通宇林景尊园的1#、5#、6#产生噪音、尾气等不利影响。
户型:
从此前通宇地产公布的户型图来看,部分户型存在着不合理的设计。
建筑面积约89㎡:两房两厅一卫
该户型为南北三段式设计,不符合现代的户型审美。
入户对着洗手间,进深长,从餐厅到次卧中间有着一大块空面积,比餐厅的面积都大,空间利用率不高。
建筑面积约106㎡:三房两厅一卫
建筑面积约119㎡:三房两厅两卫
通宇地产到底怎么了?
通宇地产,成立于1994年,隶属于江苏省农垦集团,开发项目不少,奈何水花都不大,口碑一般,总有一两个项目表现的不尽如人意。
通宇林景熙园,原定于2018年12月22日交付,后来由于各种原因,一直延期交付。早期还有业主曾针对小区一楼公共空间和各楼层电梯厅均为大白墙的问题进行维权。
通宇林景蘭园,本应于2020年12月31日交付,同样延期交付,延期到2021年6月交付。
除了项目上频频失利,通宇地产在口碑上已经屡遭挑战。
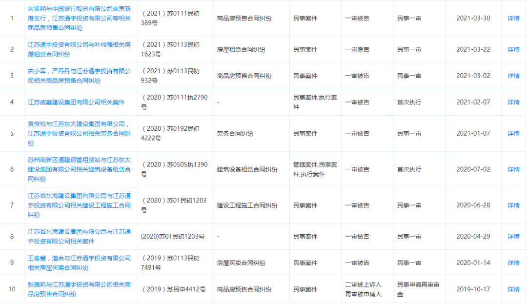
截止2021年3月10日,我们从天眼查上查询到,近年来江苏通宇投资有限公司一直纠纷不断,其中房屋买卖合同纠纷高达18例,商品房预售合同纠纷5例,未公开4例,通宇地产深陷维权风波不可自拔…
作为深耕江北的南京本土开发商,通宇地产开发的项目不少,根据界面楼市南京站的统计发现,目前通宇地产在江北的项目(包括二手房)高达9个,其中不乏热门楼盘的项目。
核心区通宇林景润园,拿地还是2019年,至今还没有上市的消息。
差不多同批拍地的长江时代1314、长江时代1516项目早已公开首开售楼处,预计本月即将首开。
高新开发区东大呈现学院旁的通宇林景博园,2016年11月18日被通宇以楼面价19561元/㎡拿下,需要现房销售,至今也没有上市。
除了这两大纯新盘外,通宇地产的其他项目去化成绩如下:
通宇林景尊园:
项目动态:通宇林景尊园仍有尾房在售,均价27300元/㎡,具体一房一价,主力户型建筑面积120、123㎡,毛坯交付。
去化情况:截止2021年3月10日,根据南京网上房地产的数据显示,项目仍有114套房源在售,项目去化八成不到。
要知道,项目首开于2017年12月19日,最近一次开盘是2018年11月27日。
林语山墅:
项目动态:在售毛坯别墅房源,其中三联排建面约410-450㎡,总价约1500-1600万;双拼建面约450-530㎡,总价1700-2000万;另外还有8套建面约2400㎡双拼,总价近7000万,具体一房一价。
去化情况:项目自2020年10月23日首次领取1-40幢销许,共88套房源(其中18套人才房源,27套无房家庭保障房),销许均价28000-39141元/㎡,户型建筑面积约户型414-2390㎡,毛坯交付。
截止2021年3月10日,根据南京网上房地产的数据显示,项目只卖出6套房源,去化不足一成。
通宇林景紫园:
项目动态:通宇林景紫园在售小高层1-12号楼房源,销许均价27496-28686元/㎡,具体一房一价,户型建筑面积约90㎡、96㎡、120㎡、121㎡、125㎡,毛坯交付。
去化情况:到目前为止,项目两次推盘,首次开盘于2020年10月23日,最近一次开盘于今年2月6日,根据南京网上网地产的数据显示,项目入网总套数828套,未售总套数623套,去化不足三成。
梳理这些项目不难发现,通宇地产旗下大多数项目面临去化艰难的尴尬境地。
当然,关于通宇林景尊园的后续交付问题,界面楼市南京站将持续关注。


评论