根据国家食品药品监督管理总局(CFDA)官网统计数据,截至2016年3月17日,取得互联网药品交易资格证的网上药店共448家,其中2015年新发证的共159家。
虽然自2014年5月CFDA发布《互联网食品药品经营监督管理办法﹙征求意见稿﹚》以来,正式管理办法一直未有出台,处方药的网售仍未有放开,但从新增网上药店的数量来看,已经占到了我国连锁药店企业总数的8.99%(截至2015年11月底,全国共有零售连锁企业4981家),可以说全国TOP500的连锁药店企业基本上都已经“标配”了互联网药品交易资格证。“互联网+药店”的时代真的来了!
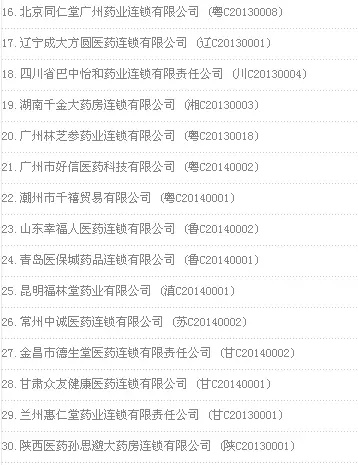
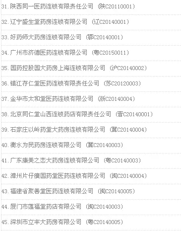
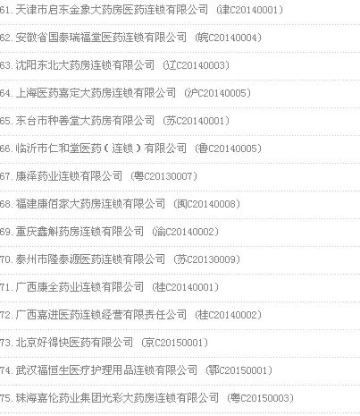
第一药店财智根据CFDA公布数据整理出截至2016年3月17日全国网上药店总名单:






























本文来自第一药店财智(yaodiancaizhi)微信公众号,转载请注明出处


评论