文|闻旅 杨凡
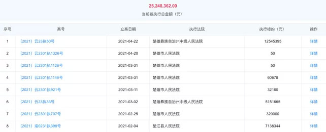
企查查显示,4月22日,云南汇通古镇文化旅游开发集团有限公司(以下简称“云南汇通集团”)被楚雄彝族自治州中级人民法院列为被执行人,执行标的12545395元,案号为(2020)云23民初14号,案由为重庆市华洋建筑有限公司与云南汇通集团建设工程合同纠纷。

这并非云南汇通集团首次成为被执行人,信息显示,云南汇通集团有50次历史被执行人记录,历史被执行总金额为8638.5万元。

自2021年2月起,因牵涉民间借贷纠纷、金融借款合同纠纷、建设工程施工合同纠纷、商品房销售合同纠纷、商品房预售合同纠纷等案件,云南汇通集团相继8次被垫江县人民法院、楚雄市人民法院和楚雄彝族自治州人民法院列为被执行人,被执行总金额达2525万。

截至目前,云南汇通集团有裁判文书记录274条,案件总额为6183.47万,以云南汇通集团身份为被告/被上诉人的案件总金额为5,314.99万元,占比85.95%。
信息显示,云南汇通集团成立于2003年,法定代表人为沙翠梅,注册资本为5000万元人民币,经营范围包括酒店经营(仅限分支机构经营);旅游资源综合开发经营、房地产开发经营;市场管理;广告策划、制作、发布;会展经营;物业管理;旅游商品研发、销售;建筑工程设计、施工。公司实际控制人为马勇。
作为知名文旅项目——彝人古镇项目的操盘方,云南汇通集团与中国文旅小镇运营商伟光汇通的创始团队密切关联。
伟光汇通文化旅游投资集团有限公司(以下简称“伟光汇通文化旅游投资集团”)由陆学伟、沙翠梅和苏泽芸三人于2013年投资成立,根据企查查信息,目前,陆学伟持股64%,是伟光汇通文化旅游投资集团实际控制人,沙翠梅、苏泽芸各持股8%;陆学伟任公司经理、执行董事,沙翠梅任公司监事。

至于云南汇通集团,企查查显示,2017年5月11日,公司法定代表人由陆学伟变更为沙翠梅;2017年8月22日,陆学伟从公司高级管理人员备案(董事、监事、经理等)中退出,马勇新增;2018年8月22日,陆学伟从公司股东中退出,马勇出资4000万人民币,成为公司新控股股东。

截至目前,伟光汇通文化旅游投资集团的股东沙翠梅与苏泽芸,各持有云南汇通集团10%的股份,沙翠梅为公司董事长兼总经理,苏泽芸任公司董事。
除云南汇通集团外,伟光汇通团队控制下的另一家地产开发企业——楚雄伟光房地产开发有限公司(以下简称“楚雄伟光”),同样问题重重。
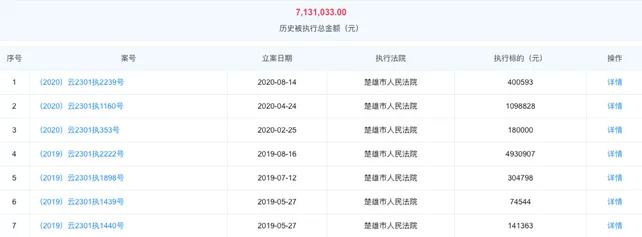
企查查显示,楚雄伟光成立于2009年9月,法定代表人同为马勇,注册资本为2865.34万元人民币,实控人同样为陆学伟。信息显示,楚雄伟光房地产开发有限公司有7次历史被执行人记录,历史被执行总金额为713.1万元;同时,作为限消令对象楚雄伟光的关联对象,2019年5月,苏泽芸被中国工商银行股份有限公司楚雄分行申请限制高消费。

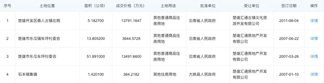
回顾彝人古镇项目,企查查显示,从2002年至2011年,楚雄汇通古镇文化旅游开发有限公司(云南汇通集团曾用名)以约3.1亿的总价,相继拿下包括楚雄市石羊镇集镇、东瓜镇车坪村委会、和楚雄开发区彝人古镇北侧在内共约72.29公顷(722900平方米)的土地,用于彝人古镇项目开发。

信息显示,截止目前,云南汇通集团牵涉的商品房销售合同纠纷案件已达130起。
从云南汇通集团的历史被执行人记录可以看出,从2017年初开始,受资金链问题影响,项目接连陷入与兴业银行股份有限公司大理分行、云南高远投资管理有限公司、武定县农村信用合作联等在内的社金融借款合同纠纷、借款合同纠纷案件。或许也正是因此,陆学伟选择在2018年退出云南汇通集团股东。但作为伟光汇通的发迹之地,陆学伟在楚雄的文旅地产扩张并未就此告终。

2017年5月,伟光汇通文化旅游投资集团与国开行旗下国开创新资本投资责任有限公司(以下简称“国开创新资本”)、北京空港科技园区股份有限公司联合组建的伟光汇通旅游产业发展有限公司(以下简称“伟光汇通”),紧随其后,2017年6月,伟光汇通在楚雄“另起炉灶”,投资成立楚雄彝风小镇旅游产业发展有限公司。
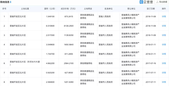
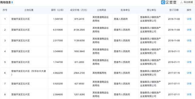
有了国开行的信用背书和资本加持,彝风小镇的拿地进度异常高效。企查查显示,从2017年7月到2018年11月,楚雄彝风小镇旅游产业发展有限公司通过先后8次土拍,拿下楚雄开发区北片区共计23.53公顷(235300平方米)的其他商服用地/其他普通商品住房用地,总价约1.681亿。

至于成本,以2018年11月8日拿下的楚雄市CK2018-10号其他普通商品住房用地为例,该地总面积6.5106公顷,成交价8138.25万元,约定容积率上限1.5,折合楼面价约833元/平。
按官方介绍,彝风湿地文旅小镇位于楚雄北,整体规划用地面积三万亩,总投资上百亿,是楚雄前所未有的综合性旅游项目。但根据人民网领导留言板上项目业主反映的情况来看,目前彝风小镇似乎除房产销售外,配套内容的落地进展,与伟光汇通宣称的“运营导向下的地产开发”相去甚远。

得益于国开行的背书,过去几年,伟光汇通在各地的文旅项目遍地开花,且拿地价颇低。以吉首乾州古城文旅项目为例,2019年2月,伟光汇通旗下吉首伟光汇通旅游产业发展有限公司以11138万元竞得总面积约为114229.35平方米的商住用地,容积率上限1.1,合楼面价不到900元/平方米。

如果只从营销角度评判,出自伟光汇通团队之手的彝人古镇,在业界确实声量颇大,但历经连续的攻城拔寨后,时至今日,伟光汇通旗下似乎再无可与之匹敌的项目出现。而新的迹象显示,曾经倚重的国开行这座靠山,目前似乎试图从中抽身。
根据上海联合产权交易所的信息,2月25日,国开创新资本挂牌伟光汇通22%股权,转让底价约3.24亿元,信息披露起止日为2021年2月25日至2021年4月28日。
目前,伟光汇通其大股东为伟光汇通文化旅游投资集团有限公司,持股51.01%;而国开创新资本持股44%,北京空港科技园区股份有限公司持股4.99%;至于伟光汇通的业绩情况,透过审计报告披露的惨淡经营数据,业界应该足以理解,国开行为何要急于抽身。

2019年,伟光汇通营业收入约6.08亿元,净利润亏损2.79亿元,资产总计52.37亿元,负债55.17亿元,所有者权益约为-2.8亿;而截止2020年10月31日,其营业收入降至1.33亿,净利润亏损扩大到3亿,资产总计63.73亿,负债总计68.9亿,所有者权益已进一步降至-5.15亿。


评论