文|雷达财经 张凯旌
编辑|深海
一石激起千层浪。
4月29日,天眼查显示,赵薇770万股权数额于近日被冻结,执行法院均为北京市第二中级人民法院。目前,赵薇仍担任4家公司的高管,并入股了8家公司。
北京中闻律师事务所律师闫创对雷达财经表示,从管辖的法院可以倒推出具体涉案的金额。以目前情况看,诉讼真实标的或在5000万元以上。
现年45岁的赵薇曾凭借“小燕子”一角在影视圈崭露头角,据媒体报道,至2002年时,其片酬已达10万元一集。随后,赵薇又在北影读研时结识了丈夫黄有龙,就此“攀上”阿里系。
作为娱乐圈距离资本最近的人之一,赵薇黄有龙夫妇最著名的操作莫过于入股阿里影业,后连续高位精准套现近23亿港元。然而2017年,这对夫妇却因以空壳公司借51倍高杠杆收购上市公司等违规操作,被判5年证券市场禁入,并处罚款,最终该事件成为赵薇生涯的“滑铁卢”。

沉寂一段时间后,赵薇重新回归影视业。2021年4月15日,其主演的电视剧《学区房》先导片在微博上线,然而随着郑爽风波的不断发酵,目前学区房先导片已在多平台下架。另一方面,阿里也正遭遇多事之秋,公司刚被反垄断处罚182.28亿元,蚂蚁集团上市悬而未决。
踩中“双坑”的赵薇,会面临怎样的未来?
赵薇770万股权遭冻结,网友:小钱
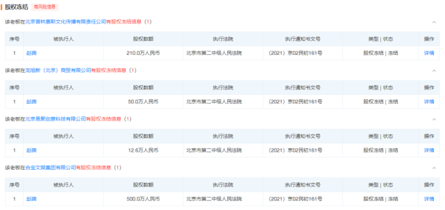
据天眼查,目前赵薇所有担任高管、股东的企业共有9家,其中包括市值25.47亿元的唐德影视。目前,已有4家公司于4月28日遭到了股权冻结。
北京普林赛斯文化传播有限责任公司成立于2002年,注册资本300万元,赵薇持股70%,被冻结股权数额为210万元。
龙旭新(北京)商贸有限公司成立于2011年,注册资本50万元,赵薇全资持股,被冻结数额50万元。
北京易聚创意科技有限公司成立于2014年,注册资本126万元,赵薇持股10%,被冻结数额12.6万元。
合宝文娱集团有限公司成立于2015年,注册资本1.11亿元,赵薇持股4.51%,被冻结数额500万元。

据此来看,赵薇在上述四家公司的所有股权已悉数被冻结,冻结期限至2024年4月,且四项冻结的执行通知书文号相同,执行机构均为北京市第二中级人民法院。
律师闫创称,因为在决定管辖法院时,会参考原告的诉讼请求金额,所以从管辖的法院也可以倒推出具体涉案的金额。
2019年4月30日,最高人民法院对全国高级法院和中级法院管辖第一审民事案件的标准进行了调整,按照现行法规,在北京市第二中级人民法院执行第一审的民商事案件一般分三种情况:诉讼标的额在1亿元以上50亿元以下且当事人住所地均在本市;诉讼标的额在5000万元以上50亿元以下且当事人一方住所地不在本市辖区;标的额在2000万元以上的第一审涉外(含涉港澳台)案件。
而从涉案的四家公司来看,基本可以排除第三种情况,由于目前尚无法知晓原告的情况,所以赵薇股权被冻结背后牵涉的诉讼金额或至少为5000万元。
消息传出后不久即登顶热搜,截至发稿阅读量已超3.9亿,有网友评论:“小钱。”还有网友称,“才几百万可能半天就赚到了。”
与此同时,雷达财经注意到,赵薇主演的电视剧《学区房》先导片也遭下架,该视频最初由微博账号“电视剧学区房”发布,下架前已有146万播放量。抖音账号“电视剧学区房”作品也遭清零,其主页显示账号已获得了2.8万点赞,有6346名粉丝。

郑爽日赚208万,赵薇呢?
赵薇数百万股权遭冻结获得如此高的关注度,亦与近期由郑爽引发的娱乐圈巨震有关。在张恒曝出郑爽1.6亿天价片酬,且还涉及偷税漏税等后,网上又传出多位明星接连注销旗下工作室的消息。
那么,既然前两年如日中天的郑爽能拿1.6亿,早在20年前就凭借《还珠格格》中“小燕子”一角火遍大江南北的赵薇能拿多少呢?
据多家媒体报道,1995年赵薇拍摄了自己的荧屏处女作《姐姐妹妹闯北京》,当时拿到的片酬一集最低有几百元,最高不过一两千元;而在1998年出演《还珠格格》时,赵薇以北京电影学院大二学生的身份每集可拿到的酬劳已达3000元。
1999年,赵薇接连成立上海星星商务咨询有限公司、上海欣艺文化传播有限公司,这也是她名下成立时间最早的两家公司,注册资本均为50万元,赵薇的持股比例分别为46%、51%,不过目前两家公司皆已被注销。
据南方人物周刊,《还珠格格》火了之后,《情深深雨濛濛》于2000年开机,彼时赵薇的身价暴涨至1万元一集。这部剧再次让赵薇实现“跳级”,以至于拍摄《京华烟云》时,赵薇的片酬已达10万元一集的“天价”,与张国立、陈道明同档。
然而转折点来的很快,因为美国《时装》杂志拍摄宣传照时,身披日本军旗的方巾,25岁的赵薇引发了业内的巨大争议。随后赵薇放弃拍摄电视剧,转战大荧幕,但又成了“票房毒药”,并被曝出“凌晨在某餐厅指示他人殴打孕妇”。
2006年,赵薇回归北京电影学院,成为导演系研究生班的一名学生,在此期间,她主演的《画皮》、《赤壁》等电影上映,据悉,赵薇拍《画皮》时的片酬在100万元左右。同时期,有媒体报道称赵薇豪掷3000万元在号称北京第一别墅区的顺义财富公馆预定了一套顶级豪宅。
另据《财经》报道,也正是在读研期间,赵薇认识了人生路上的一位重要的贵人——黄有龙,这让她日后成为了娱乐圈中与资本走得最近的明星之一。
但即使单就拍戏而言,赵薇获得的财富也是现象级的。2013年,赵薇导演的青春爱情电影《致我们终将逝去的青春》上映,最终斩获7.26亿元票房,这让赵薇成为了首位执导处女作票房过亿的女导演。
据网易娱乐,2014年,38岁的赵薇拍摄电视剧《虎妈猫爸》时,剧筹逾4000万元;2018年,赵薇出演的综艺《中餐厅》第二季,单季片酬5000万元。
“女股神”跌下神坛
而在资本市场的赵薇,更是有“女版巴菲特”之称。
自与黄有龙结婚后,赵薇在资本市场的崛起就犹如坐上火箭一般。
据媒体报道,黄有龙18岁南下打工,早年曾从事酒店管理工作,业务涉及房地产经营、金融投资管理、建材营销、汽车贸易及旅游等行业,并于此后加入新加坡籍。
黄有龙与马云私交甚密。无论是马云请盖茨吃饭,还是恒大与阿里巴巴宣布签署战略合作协议,黄有龙都曾亲临现场为马云助阵,而这层关系则为赵薇黄有龙在资本市场的驰骋开辟了捷径。
2012年,赵薇成为上海云锋新创股权投资中心(有限合伙)自然人股东,这个股权投资中心的法人是马云作为股东的上海云锋新创股权投资管理中心(有限合伙);2014年,阿里影业投资的第一部电影正是赵薇主演的《亲爱的》。
2014年12月20日,赵薇夫妇以每股1.6港元购入逾19.3亿股阿里影业股份,涉及资金达31亿港元(约合人民币25亿元),交易完成后,夫妇二人凭借9.18%股份,成为阿里影业第二大股东。
几乎是在与此同时,赵薇还与自己的哥哥赵健一同入股了即将上市的唐德影视,招股书显示,二人合计持股比例达12.62%。
2015年4月,阿里影业大涨,赵薇夫妇的持股账面盈利达到44亿港元,一个月后,赵薇夫妇减持了部分阿里影业股票,套现近10亿港元。2016年,夫妻俩再度减持阿里影业7.99亿股,套现约12亿港元。
除此之外,赵薇夫妇的投资战绩还包括:跟随马云入股香港本地券商瑞东集团,后者复牌首日就让赵薇黄有龙大赚74.3亿港元;上市前入股中国创意控股,持股4.5%,上市首日账面浮盈1.9亿港元;认购蓝鼎国际股份并且享有不禁售条款,认购完成后两个月蓝鼎国际即刻收购韩国济州岛一公司,借此切入韩国博彩业等等。
2015年,赵薇和黄有龙夫妇以50亿元资产跻身“新财富500富人榜”,赵薇也被《福布斯》称为中国“最富有的女演员”,并且拥有“敏锐的投资头脑”。但很快,这对夫妇就因资产运作违规遭遇重创。
2016年12月,上市公司万家文化公告称,控股股东万家集团将向龙薇传媒转让其持有的1.85亿股万家文化无限售条件流通股,占万家文化已发行股份的 29.135%。此次交易完成后,龙薇传媒将成为万家文化的控股股东。
收购消息刚传出时,股价应声大涨,可后续随着收购的搁浅,万家文化的股价一路下跌。
后据证监会调查显示,龙薇传媒背后实控人为赵薇,该公司注册资金仅为200万元,总资产、净资产、营业收入、净利润都为零。但却欲在成立仅一个多月后,收购境内市值达100亿元的上市公司29.135%股份,且收购方案中自有资金仅6000万元,其余均为借入资金,杠杆比例高达51倍。
彼时就有投行人士表示,“这种高杠杆可以说是十分罕见的,在全面降杠杆风险的情况下还这样冒进肯定会被监管层盯上,同时因为有明星效应这个收购案关注度也十分之高。”
最终,该笔收购告吹。2017年,证监会对黄有龙赵薇夫妇处以各30万元罚款,对龙薇传媒处以60万元罚款,夫妇二人也被禁入证券市场5年。当年,赵薇黄有龙夫妇以70亿元身家位列胡润百富榜567位。
此事影响深远,以至于到2019年3月7日时,全国人大代表、上海富申评估咨询集团董事长樊芸在两会期间仍对赵薇进行点名,直言“现在证券法顶格处罚只有60万,解决不了问题。像赵薇割韭菜,赚了几十个亿,不止一项罪名,加起来才罚70万!”
资本市场折戟后,赵薇黄有龙夫妇的财产连年下跌,胡润数据显示,2018、2019年二人身家分别为55亿、45亿,而至2020年,二人已跌出胡润百富榜。
值得一提的是,与赵薇夫妇关系密切的马云和他的阿里也正深陷泥沼。自2020年10月在上海外滩金融会议上大胆“开火”后,蚂蚁集团A+H上市双双夭折,阿里也因涉及“二选一”等垄断行为被罚182.28亿元。
同时踩中两个“大坑”的赵薇,能否走出困境?雷达财经将继续关注。
雷达财经(ID:leidacj)



评论