文|雷达财经 吴艳蕊
编辑|深海
近日,江苏南通市民房女士在查询个人征信时发现,其职业信息“工作单位”一栏中竟然出现了“专业做鸡十年”字样。
据房女士介绍,其本人曾向晋商消费金融借款,因还款事宜一直与晋商消费金融保持沟通。目前,其本人尚未收到晋商消费金融针对此事的正当说法。
经人民银行南通中心支行协调,涉嫌上传不当信息的晋商消费金融股份有限公司(下称“晋商消费金融”)已做了在线删除处理。
5月25日,人民银行太原中心支行主要负责人再次约谈晋商消费金融公司及其大股东,在重申监管意见的基础上,要求深刻反思事件经过,主动回应客户诉求,消除不良影响。
天眼查App显示,晋商消费金融二股东是360创始人周鸿祎旗下公司。此前,晋商消费金融曾因未经同意查询个人信息遭行政处罚。而中国裁判文书网相关判例显示,征信报告引发的名誉权纠纷案已发生多起。
个人征信报告出现侮辱字眼
4月6日,房女士在人民银行南通中心支行查询个人征信时发现,其职业信息“工作单位”一栏中竟然出现了“专业做鸡十年”字样。房女士随即向银行反映,并要求相关责任方赔偿精神、名誉损失。
经人民银行南通中心支行核实,晋商消费金融承认不当信息由公司上传到征信系统。4月6日,人民银行南通中心支行责令晋商消费金融在线修改了房女士的相关职业信息。
据房女士介绍,其从事个体户生意,与晋商消费金融之间存在借贷关系。2018年4月,房女士在晋商消费金融南通分支机构签署了一份16.2万元的个人消费贷款合同,贷款期限约定36个月。2020年2月,因受疫情影响,房女士向晋商消费金融提出延期还款的请求,晋商消费金融为房女士延至2020年底再接着还款。截至目前,房女士尚需偿还本息7万余元。
出具征信报告的人民银行南通中心支行征信管理科科长姜文华表示,央行征信系统是一个平台,数据都是由相关金融接入机构传送,谁传动谁负法律责任;当事人如有异议,可走征信异议处理程序。
据房女士称,其本人就还款事宜和晋商消费金融保持着沟通。事发后,房女士一直没有收到涉事公司针对此事的正当说法。
针对晋商消费金融“个人征信报告出现侮辱性字眼”问题,人民银行太原中心支行于4月8日约谈了晋商消费金融公司,5月25日,人民银行太原中心支行主要负责人再次约谈晋商消费金融公司及其大股东,在重申监管意见的基础上,严肃提出后续整改要求:
一是要深刻反思事件经过,主动回应客户诉求,消除不良影响;
二是要深入调查事件原因,严肃追责;
三是要全面梳理内部工作流程,进一步加强内控管理,切实履行征信信息采集报送主体责任,保障金融消费者合法权益。
下一步,人民银行太原中心支行将对本次事件情况调查核实后,依法依规作出严肃处理。
据行业人士表示,此次的涉及侮辱字眼的个人基本资料属于文本信息,机器无法鉴别,超出审核范围。此外相关业内人士也表示,机构可以自主填写借款人某些个人基本信息,包括工作单位信息,不必通过征信中心的审核。
涉事机构曾因违规查询个人信息遭行政处罚
天眼查资料显示,晋商消费金融于2016年1月18日获得中国银监会批准筹建,2月24日经山西银监局批准开业,是山西省首家全国性消费金融公司,总部设在山西太原。晋商消费金融股东包括晋商银行股份有限公司、奇飞翔艺(北京)软件有限公司、天津宇信易诚科技有限公司、山西华宇商业发展股份有限公司、山西美特好连锁超市股份有限公司。
值得关注的是,360创始人周鸿祎持有奇飞翔艺(北京)软件有限公司24.69204%的股份。
今年3月30日,北京宇信科技集团股份有限公司公布了2020年财报,其中披露了其联营企业晋商消费金融。数据显示,2020年,晋商消费金融营收5.46亿元,较2019年3.72亿元增长46.77%,净利润0.54亿元,比2019年的0.52亿元增长3.85%。
雷达财经注意到,此前在2019年8月15日,晋商消费金融因未经同意查询个人信息遭行政处罚,被中国人民银行太原中心支行责令限期改正,并被处以罚款人民币50万元;对直接负责的主管人员处以罚款人民币5万元。

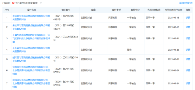
据天眼查案件统计显示,晋商消费金融的相关名誉权纠纷案约有12件,在案由统计中占据第7位。其中一案件在2018年12月进行了二审判决,原告要求法院依法判令晋商消费金融消除原告个人信用报告上所描述的逾期个人消费贷款记录,同时诉讼费由被告承担。一审法院驳回原告诉讼请求,二审法院维持原判。

在黑猫投诉平台中,晋商消费金融的投诉量为1105件,满意度约60%。有消费者投诉表示,其从未向晋商消费金融借过个人消费借款,征信报告中却存在借款记录。
另有消费者表示,其2018年租房时受中介引诱在“元宝e家”平台中贷款。房屋租赁到期前的2个月被赶。“元宝e家”催促还款,房屋中介表示不用偿还,没有后续问题。消费者近期发现,此笔贷款已由晋商消费金融录入了征信系统。

征信报告已引发多起名誉纠纷案此次征信报道引发的名誉侵权案并非孤例,雷达财经在中国裁判文书网中以“征询报告”和“名誉权”为关键词进行搜索,共检索到896篇文书。

较早发生的一起侵权案判决显示,1997年7月原告曾在不知情的情况下,被告单位重庆市农村商业银行股份有限公司石柱支行工作人员谭某冒用其名义贷款2000元。1998年银行找原告催收贷款利息时,原告表示并未贷款。随后银行查清事实,并提交了关于原告不真实的债务情况说明。
原告认为,虽贷款未贷,但银行却给予原告不良信用记录。原告多次要求被告银行消除不良记录遭拒,银行同时声明无法解除此不良记录。原告认为该不良记录,导致其2006年因承包工程资金向银行贷款失败,遂向法院请求被告银行赔礼道歉、恢复名誉,消除不良征信记录,赔偿经济损失。
经法院查明,原告在中国人民银行发布的个人征信报告中没有不良征信记录,故原告主张事实不成立,名誉权受损事实没有证据,法院驳回原告的诉讼请求。
2012年10月,河南尉氏县的朱某到尉氏县农业银行贷款,银行查询发现,朱某在银行个人征信系统中存在不良信用记录从而拒绝放贷。后朱某多次查询得知,尉氏县农村信用合作联社内部职工冒用其名义贷款并逾期,为此朱某多次找到尉氏县农村信用合作联社要求删除记录。2013年,朱某到尉氏县工商银行贷款,发现仍存在不良记录。随后,朱某向法院提起诉讼,河南省尉氏县人民法院一审判决:尉氏县农村信用合作联社在判决生效后立即删除不良信用记录(已删除);张贴书面道歉声明,送达书面道歉声明,并支付朱某精神损害慰抚金7000元。
雷达财经(ID:leidacj)


评论