记者 |
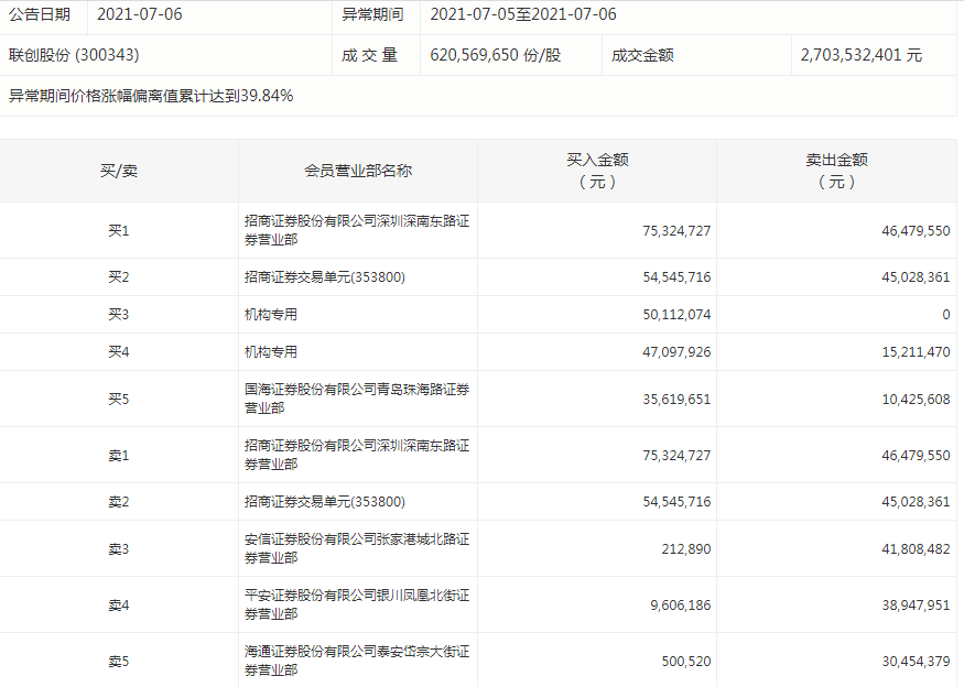
7月7日早盘,此前连续两天20cm涨停的联创股份(300343.SZ)再次高开大涨,截至发稿涨幅约11%。6日晚间,深交所指出,该股票异常期间价格涨幅偏离值累计达到39.84%。
过去两个交易日,联创股份合计成交量6.2亿股,成交金额27.04亿元。7月5日,其主力资金净流入20705.77万元;7月6日,该股票主力资金净流入8879万元。
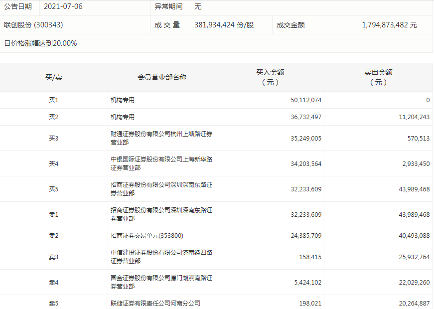
7月6日盘后,联创股份当日龙虎榜显示,两机构专用账户分别买入5011.21万元、3673.25万元,另有知名游资账户财通证券杭州上塘路证券营业部买入3524.9万元、卖出57.05万元。
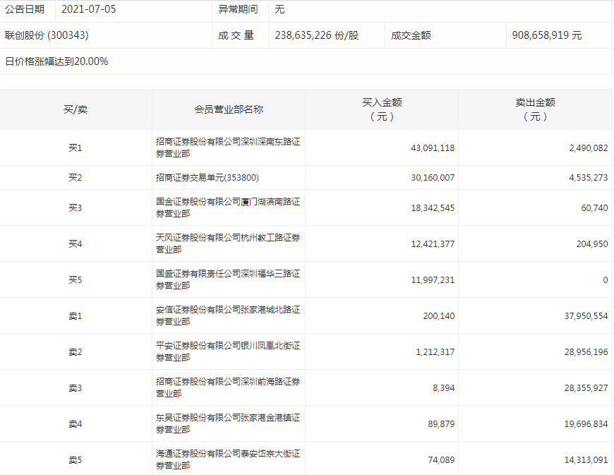
另一方面,7月5日,位居前三大买入账户的招商证券深圳深南东路证券营业部、招商证券交易单元(353800)、国金证券厦门湖滨南路证券营业部,在7月6日跻身前五大卖出席位,7月5日分别买入4309.11万元、3016万元、1834.25万元,次日(7月6日)分别卖出4398.95万元、4049.31万元、2202.93万元。
联创股份3日龙虎榜数据显示,招商证券深圳深南东路证券营业部三日总计买入7532.47万元,卖出4647.96万元,同时占据买入席位、卖出席位两个首位;其次是招商证券交易单元(353800)合计买入5454.57万元,卖出4502.84万元,也同时占据买入席位、卖出席位第二名之位。

对于近期股价异动,联创股份于7月6日称,公司目前没有任何应予以披露而未披露的事项;董事会也未获悉公司有根应予以披露而未披露的、对公司股票及其衍生品种交易价格产生较大影响的信息;公司前期披露的信息不存在需要更正、补充之处。
值得一提的是,7月5日,联创股份发布2021年半年度业绩预告称,公司预计今年上半年扭亏为盈,从去年同期亏损5858.99万元转为盈利4000万元至4800万元。该公司解释,业绩增长主营是“化工新材料行业市场行情较好,产品平均销售价格及毛利较上年同期增长较快”,同时亏损的数字营销公司不再纳入本期合并财务报表范围。
公开信息显示,联创股份的化工新材料板块主要由山东华安新材料有限公司、山东联创聚合物有限公司、淄博联创聚氨酯有限公司等化工新材料类公司构成,涉及聚合物与聚氨酯业务主要为组合聚醚多元醇、聚醚多元醇、聚酯多元醇的生产与销售。“项目均涉及危化品, 存在一定的安全风险”,联创股份7月6日公告特别强调。
据报道,受锂电池、光伏背板需求拉动,加上各类原材料价格抬升等影响,高附加值氟材料PVDF(聚偏氟乙烯树脂)的价格不断攀升。数据显示,近3个月PVDF粉料、粒料价格从7万元/吨上涨到14万元/吨;锂电用PVDF从11万元/吨上涨到15-20万元/吨。
对此,联创股份7月6日提示风险指出,公司聚偏氟乙烯(PVDF)项目规划产能 8000 吨/年,该项目计划分二期进行投资建设。首期建设产能 3000 吨/年,已经完成主要设备安装。“该项目尚未投产,项目后续建设、试生产尚需验收、办理相关手续等,存在不能如期投产或效益不及预期的风险,预计短期内不会对业绩产生重大影响。”
该公司还表示,6万吨/年生物可降解聚合物项目,在公司现有生产厂区进行建设,目前处于工程化设计和重点设备采购阶段,工程尚未开始施工,短期内不会对公司业绩产生重要影响。同时,项目后续建设需办理相关手续等,存在不能如期投产或效益不及预期的风险。此外,公司的生物可降解塑料为 PPCP 可降解塑料,其制备工艺属于新技术,存在产品不能一次达标的风险;作为新产品,其应用市场开发需要一定周期,存在市场推广风险。
另外,联创股份还强调,第四代新型环保发泡剂项目规划产能 3000 吨/年, 项目已完成主要设备安装,截止本公告发布之日该项目尚未投产,预计短期内不会对公司业绩产生重要影响。“第四代发泡剂的生产工艺是新技术,客观上存在产品不能一次达标的风险。”
在业绩好转的时候,联创股份财务总监却辞职了。7月2日,该公司披露,公司财务总监郝志健因个人原因申请辞去公司财务总监职务。辞职后,不再担任公司的任何职务。



评论