记者 |
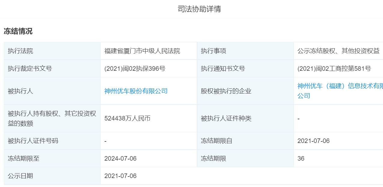
天眼查App显示,7月6日,神州优车(福建)信息技术有限公司新增一条股权冻结信息,股权数额价值约52.44亿人民币,被执行人为神州优车股份有限公司(以下简称神州优车),股权被执行的企业为神州优车(福建)信息技术有限公司,执行法院为福建省厦门市中级人民法院。
值得注意的是,早在6月30日,神州优车作为被执行人,神州优车(福建)作为被执行企业,已遭司法执行过两次股权冻结,分别涉及6亿元、3亿元人民币的股份。

神州优车(福建)信息技术有限公司成立于2014年12月,注册资本约61.44亿人民币,法定代表人为苏丽雅。股东信息显示,该公司由神州优车股份有限公司全资持股,最终受益人陆正耀。
此外,从天眼查数据上可以看到,6月30日,另一家神州系关联企业——神州闪贷(平潭)融资租赁有限公司也被曝出股份冻结,价值约8亿人民币,被执行人依然是神州优车。
神州闪贷(平潭)融资租赁有限公司成立于2016年3月,注册资本8亿人民币,法定代表人为王丹丹,经营范围包括融资租赁业务;租赁业务;向国内外购买租赁财产等。股东信息显示,该公司由神州优车股份有限公司全资持股,最终受益人也是陆正耀。

从不完全统计来看,神州优车累计已遭冻结价值超69亿元人民币的持有股份。对于股份被冻结一事,界面新闻记者向神州优车方面进行询问,但截至发稿尚未得到回复。
据悉,此前登陆新三板上市的神州优车(证券代码:838006)因未同步披露内幕消息,已于去年6月1日起停牌。今年4月8日,北京市第一中级人民法院批准冻结了陆正耀名下神州优车的股份。



评论