文|酒讯 朱莉
近日,小糊涂仙酒业(集团)有限公司(下称“小糊涂仙”)注册资本由1.5亿变更为1.87亿元。同时,公司新增广州润物共长投资合伙企业(有限合伙) 与广州润心共生投资合伙企业(有限合伙)两家机构股东。经股权穿透后,出现多个从事酒类、食品的地方经销商身影。
酒讯从天眼查了解到,自2019年进行过一轮增资后,小糊涂仙先后进行过三次规模性投资人变更,新增8家机构股东,中途还进行过两次增资。目前,公司实控人黄震宇的部分股权已分散至上述机构。
实控人进行股权分散,小糊涂仙奔走IPO的节奏进一步加速。而它高举的30亿、50亿乃至百亿目标,会因此如约而至吗?
一拖再拖的上市计划
2016年,小糊涂仙提出“计划在2019年之前完成上市”,并称“已经在和几家券商沟通相关事宜”。彼时,贵州茅台的股价还困在300元/股的关卡前迟迟无法突破,酱酒热也毫无苗头。

距离“2019年前完成上市”的大限已过去一年半,“2023年实现A股主板上市”的计划再度提上日程。公司实控人震宇的股权不断分散,让所有期待变得急促了起来。
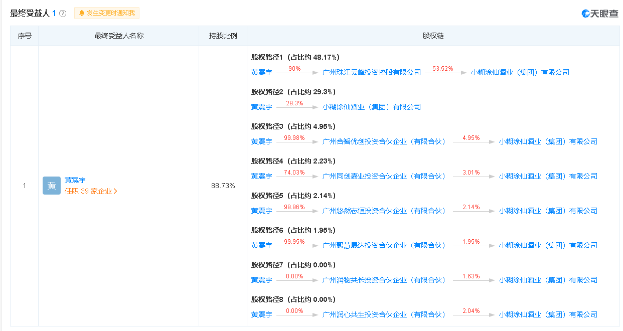
酒讯梳理了解到,2019年12月26日,小糊涂仙酒业注册资金由1000万元增至12750万元,同时,公司引进广州珠江云峰投资控股有限公司,并将原本黄震宇持股90%、其夫人周诗瑶持股10%的股权结构,调整为黄震宇持股19.41%、周诗瑶持股2.16%,其余股权分散至云峰控股,持有小糊涂仙股权78.43%。
第一次股权调整后,小糊涂仙先后于2020年3月30日、2021年7月5日两度增资至18684.21万元。在此期间,公司再度引进广州同创嘉业投资合伙企业(有限合伙)等7家机构,持股人中包括经销商、小糊涂仙高管等众多自然人股东。

经多次股权分散后,黄震宇、周诗瑶二人直接持有小糊涂仙股权分别为29.30%、1.47%,其中,黄震宇直接、间接持股的份额总计为90.52%。

一位法律从业人士对酒讯表示,“有限公司上市改制时,自然人股东需对股权增值部分缴纳20%个人所得税,因此,实控人通过将股权转让给其实控的企业,在保证实控权的同时,可将股权增值所得计入公司总的所得,进而与控股公司层面的亏损相抵,且如此操作,公司所得税可以延缓缴纳,会减少股东层面的税款压力。”该法律人士表示,一般进行类似股权转让的操作,很有可能是为了上市做准备。
超越茅台的“门外汉”
此前,小糊涂仙酒业副总经理张志勇在接受媒体采访时对外表示,“小糊涂仙创立于1997年,从创立到红遍全国只花了4年时间,2003年全国销量已经做到了30亿+,小糊涂仙在浓香型酒里面很受消费者喜欢。”
2003年的30个亿什么概念?那一年,浓香盛行,贵州茅台的主营业务收入24.01亿元,五粮液是63.33亿元。按照黄志勇的口径,彼时的小糊涂仙规模超越贵州茅台,抵得上半个五粮液。
网易酒香频道总监、北京酒类流通行业协会秘书长程万松对酒讯表示,小糊涂仙酒当年是以“文化酒”的形象在1990年代行销大江南北,在电视广告的大面积、高密度覆盖下,给人留下印象深刻。尤其是主打“聪明难,糊涂更难”的糊涂文化,在当时和厚黑学一样风靡一时。
有意思的是,比起茅台的酿酒基因,小糊涂仙可以算是“门外汉”跨界入行。1997年,广东的电器商人黄维崧到了茅台镇,看上了白酒生意。在英雄问出处的年代,他果断选择落地生根,在茅台镇上开起了酒厂,打着“茅台镇传世佳酿”的旗号将小糊涂仙卖到了全国各地。
生意人黄维崧看到的是茅台镇的文化价值,但并没有预见酱酒会在后来掀起浪潮。因此,自诞生之初,小糊涂仙就主打浓香酒生产和销售,且一度被冠以“国民浓香”的美誉。
时过境迁,近20年的时间,变化的不仅是浓香和酱香的舆情地位交替,还有小糊涂仙从高山走向低估的事实。如今的30亿元规模已成为小糊涂仙排到2023年的计划,而这个目标也是小糊涂仙冲击IPO的基础。
关于目前公司销售规模,小糊涂仙相关负责人对酒讯表示,目前公司正在积极做好自身经营,不断提高销售规模。因涉及商业秘密,暂不对外披露。
生意人不比酿酒人有耐心。除了小糊涂酒业之外,彼时的黄维崧还有众多产业。据了解,到2015年,黄维崧一手创造的云峰集团旗下公司涉及酒业、房地产、大学、药业、翡翠珠宝等众多行业领域。如今,集团对外投资企业多达70家。
2002年开始,彼时还叫“云峰酒业”的小糊涂仙开始实行战略收缩,集团开始把资金大量投向云峰药业,小糊涂仙也将曾经带火它的“终端拦截”打法抛弃,瞄准政务市场——在当时是一块“比较大而且相对稳定”的蛋糕。
好景不长,后来政务消费遭受限制,市场消费升级进入名酒消费时代,小糊涂仙和许多名噪一时的各种文化酒渐渐或陨落、或沉沙,金六福、分金亭、张弓酒等等都是如此。

“抛弃茅台镇”的尴尬
虽说是“门外汉”,相比于十余年后带着资金去茅台镇“撒币”的业外涉酒资本而言,小糊涂仙做酒是认真的。除了自建生产基地,公司还聘请了一批高级评酒师、高级酿酒师等白酒酿造人才。
锦上添花的是粤商黄维崧的营销头脑,小糊涂仙早年间使用的“拦截终端”营销打法,直到今天还在被整个白酒市场广泛使用。黄维崧也因此被封了一个“酒界教父”的名号。
最初的小糊涂仙酒,凭借着黄维崧深耕已久的广东市场顺势扎根,随后挟“茅台镇传世佳酿”、终端营销、组合广告(电视广告、终端促进、平面广告等)“三板斧”大举进攻全国市场。彼时,公司不少经销商都是沿袭了黄维崧手下的电器经销渠道。
也正是这份成功的喜悦,让小糊涂仙看不清“茅台镇传世佳酿”背后真正的含义。直到酱酒热逐渐燃起星火,“国民浓香”的皇冠成了桎梏,而时下高喊的“浓酱并举”也略显尴尬。
小糊涂仙相关负责人对酒讯表示,小糊涂仙酒业有四大品牌,“国民浓香”小糊涂仙,高端新锐浓香“小糊涂仙·睿”、国民酱香“小糊涂仙·金酱酒坊”,高端柔顺酱香“心悠然”,囊括旗下十余款产品。小糊涂仙推行“浓香并举”的市场策略,用不同的产品及不同价格带,满足不同消费群体需求。
但需要注意的是,该公司酱香产品直到2017年才有新品面世。相较于其他茅台镇的纯血统酱酒而言,少了些许先天优势。同时,尽管早早扎根于茅台镇,但小糊涂仙的酱酒生产基地并不在此,而是位于赤水河中下游的习水县土城镇。
此前,习水县方面曾提出,到2020年,习水县新增2家以上全国知名白酒品牌企业,培育5家以上销售额10亿元以上白酒企业,完成3家白酒企业上市,其中包括小糊涂仙、多彩贵州酒、宋窖等。
现实是,无论是从规模还是知名度上,隔壁镇上的习酒显然更符合“习水之光”的要求。而上述三家被寄予厚望于2020年上市的“预备军”,小糊涂仙至今还在贵州省上市挂牌后备企业资源库名单上挂着,多彩贵州酒、宋窖早失了名分。



评论