近日,青岛产权交易所综合交易平台新发布一则产股权交易项目,青岛龙教置业有限公司拟转让100%股权及债权。
在这一转让项目披露的标的企业情况中,龙教置业过高的资产负债率、开发情况成谜的名下土地等重要事项引发了广泛关注。而背景情况相似的另一宗转让项目的处境,或许预示着龙教置业寻找受让方不甚明朗的可能性。
青岛龙教置业挂牌转让
近日,青岛产权交易所综合交易平台发布了新的产股权交易项目:青岛龙教置业有限公司(以下简称“龙教置业”或“标的企业”)挂牌转让100%股权,底价为11558.28万元,信息披露日期为7月12日至8月6日,8月9日上午10点开始竞价。
该交易平台的“标的企业基本情况”板块显示,龙教置业成立于2018年9月30日,注册资本1000万元。系国有公司(企业)。企查查显示,龙教置业的法人代表、执行董事及总经理为郑小朋。
但国资背景并不意味着企业必将拥有一番喜人的业绩。年度审计报告显示,2020年龙教置业营业收入、利润总额、净利润三项均为零,资产总额为1.12亿元,负债总额为1.04亿元,资产负债率高达91.19%。

该公司担负的高额债款也体现在本次转让的交易条件中。转让项目详情显示,本次股权转让底价中,净资产总额为1031.1万元,受让方代标的企业偿还债务,债务及利息为10527.18万元。
工商注册信息显示,龙教置业的经营范围包括教育基础设施建设、管理和运营;以自有房屋租赁;教育信息咨询服务等。
此外,龙教置业名下还有一块面积达11.31万平方米的教育用地。从所购地块的用途来看,龙教置业的实际发展方向与注册时设定的经营范围并无太大偏离。那么,成立不到三年的龙教置业,为何会发展到如今被转让全部股权的境地?
注册即购地,近三年毫无进展?
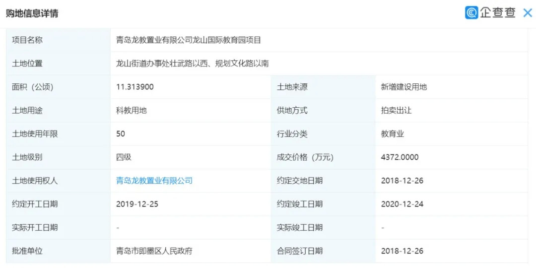
2018年10月19日,青岛市国土局国有建设用地使用权网上交易系统举行了一场拍卖。在这场拍卖中,注册仅半月有余的龙教置业以4372万元的成交价拍下了编号18-58-3号地块。
根据拍卖公告,该地块位于即墨区龙山街道办事处壮武路以西、规划文化路以南,土地面积113139平米,出让年限为50年,拍卖起始价4372万元,竞买保证金3296.2680万元。土地用途为教育(非营利性民办学校)。当时的媒体报道显示,该地块未来将建非营利性的民办学校,为所在片区增添教育配套。
在企查查中,该地块的项目名称显示为“青岛龙教置业有限公司龙山国际教育园项目”,约定2018年12月26日交地,并于2019年12月25日、2020年12月24日分别实现开工、竣工。
但实际情况却是,截至龙教置业挂牌转让项目公示之日,企查查、天眼查等各大平台中仍无实际开工、竣工日期记载,也无法搜到与“龙山国际教育园”后续开发、建设进展有关的信息,本次转让中对名下土地事项进行披露时也未提及相关内容。

龙教置业债务缘由以及土地开发情况信息的缺失,让投资者们不禁产生猜想:这块购置三年而未有实质性开发进展的土地,或将是龙教置业背负大额债务、成为“不良资产”的原因之一。
转让可能性几何?
分析龙教置业能否成功找到受让方,不妨从近期青岛情境相似的另一宗股权转让项目的处境来进行推断。
青岛创客置地(以下简称“创客置地”)5月28日在青岛产权交易所综合交易平台披露了转让信息,拟转让公司49%股权及债权,且意向受让方需一并受让青岛聚贤置地有限公司(以下简称“聚贤置地”)、青岛智力岛置地有限公司(以下简称“智力岛置地”)49%的国有股权,合计金额达2.11亿元。与龙教置业相同,这3家公司均为国资企业。
在名下土地所涉重大事项方面,公开披露的资料显示,智力岛置地存在土地置换问题,聚贤置地名下项目地块存在大量渣土,均可能会对项目的后续开发建设产生影响;创客置地与智力岛置地名下的国有建设用地使用权为工业用地,允许准入的行业、具体项目投资内容、投资强度及投资开发时序等可能需要按照青岛高新区管理委员会的相关政策和要求执行。
在主要财务指标方面,2020年5月31日发布的月报显示,3家企业的营业收入、利润总额及净利润均为零。在2020年的年度审计报告中,聚贤置地实现了1.43亿元的净利润,资产负债率为61.08%,数值较正常;而智力岛置地与龙教置业相同,营业收入、利润总额与净利润均为零,资产负债率达88.94%;创客置地净利润亏损602.43万元,负债总额已远超其资产总额,所有者权益为-302.43万元。
从以上财务数据中不难看出,转让方对上述3家公司进行的“捆绑销售”,一定程度上存在处理不良资产的打算。
但这一打算未必能如愿。公开信息显示,该转让项目原定公告期为5月28日至6月25日,由于未征集到意向受让方,目前公告期已延长3个周期,且仍有继续延牌的可能。这或许与这3家公司被“捆绑销售”的情况给潜在受让方带来的担忧有关。
此外,股权转让交易完成后,3家企业的实控权并不会发生转移,这可能也是迟迟未有受让方出现的原因之一。
名下土地开发未来不明朗、资产负债率高升,是智力岛置地等3家企业与龙教置业存在的相似问题。由上述3企业转让项目的延牌处境来看,龙教置业想要通过寻找新受让方接手100%股权及债权,实现不良资产的“重生”,或许并没有预期那么顺利。
来源:凤凰网青岛


评论