文 | 张力
因业主重庆嘉铠房地产开发有限公司无力偿债,位于重庆市九龙坡区科园六路288号的浙商大厦,近日被挂上了阿里司法拍卖网。起拍价2.97亿元。
大厦有抵押和被查封情况
拍卖公告显示,重庆市第一中级人民法院将于2021年9月13日10时至2021年9月14日10时,对重庆浙商大厦进行公开整体拍卖。
标的物信息显示,浙商大厦位于重庆市九龙坡区科园六路288号,建于2015年,钢筋混凝土结构,共24层,通6部电梯,无物业管理,土地使用权类型为出让。
标的物总建面为40239.9平方米,总套内面积33844.87平方米 ,评估价42483.61万元,起拍价29738.527万元,较评估价打7折,保证金为2800万元,增价幅度50万元(以及其整倍数)。
本次拍卖标的物有抵押,已查封,无优先购买权人。
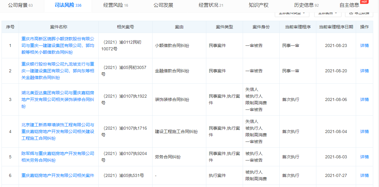
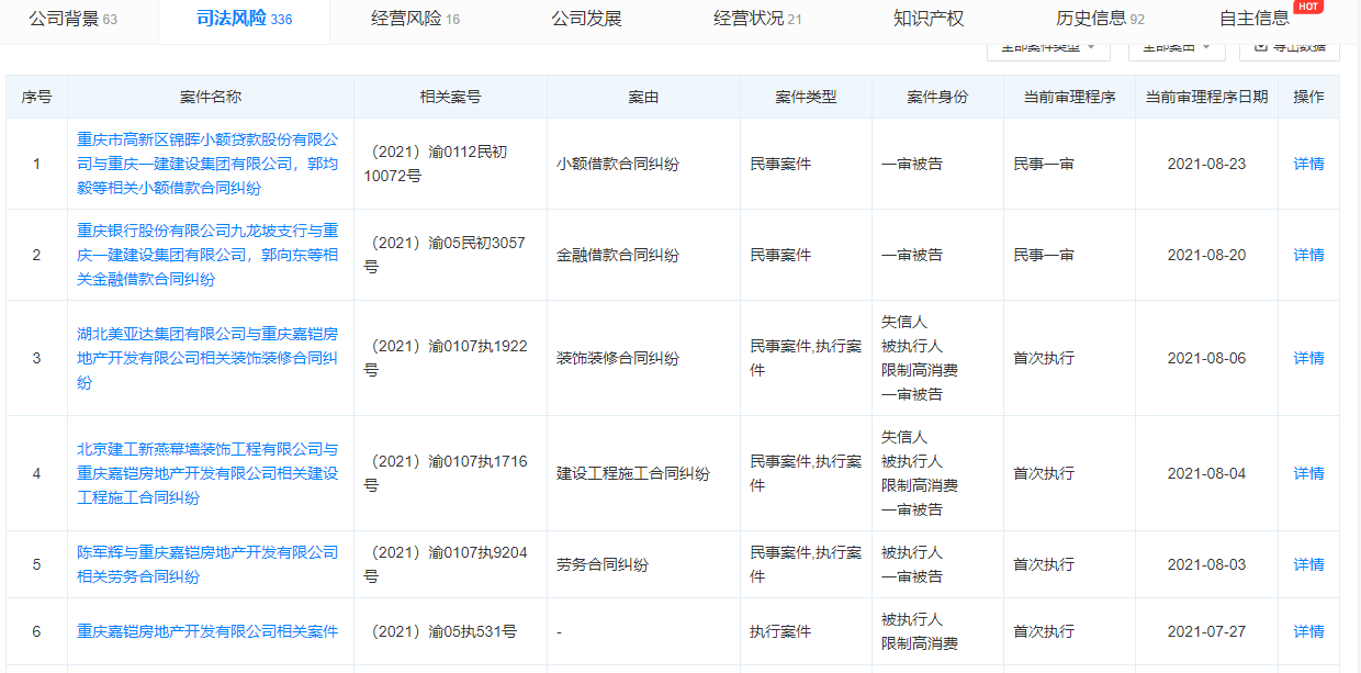
业主公司存在多起金融借款合同纠纷
此次拍卖为华夏银行重庆市江北支行与被执行人重庆嘉铠房地产开发有限公司等借款合同纠纷一案,而由华夏银行重庆市江北支行申请法院强制执行。
天眼查APP显示,重庆嘉铠房地产开发有限公司成立于2007年3月13日,注册资本2000万,法定代表人为刘相福。经营范围包括房地产开发、房层租赁等。
股权结构显示,重庆嘉铠房地产开发有限公司由重庆一建建设集团有限公司100%持股。
在司法解析一栏,该公司存在多起司法纠纷。除了与华夏银行重庆市江北支行存在借款合同纠纷外,还与重庆银行九龙坡支行、重庆市高新区锦晖小额贷款股份有限公司等存在金融借款合同纠纷和小额借款合同纠纷。
业主公司子公司和大股东经营风险“高”
另外值得注意的是,除重庆嘉铠房地产开发有限公司的控股子公司重庆云铠商业管理有限公司和大股东重庆一建建设集团有限公司,经营状况都不太好。
在物业公司新大正今年的半年报中提到,新大正与重庆云铠商业管理有限公司等公司发生的应收账款账面余额全部计提坏账,共计298万元。和讯房产在对新大正半年报进行报道时指出:经查询发现,重庆云铠背后的大股东重庆一建建设集团有限公司则直接提示有破产重整风险。
天眼查APP显示,重庆云铠商业管理有限公司和重庆一建建设集团有限公司风险等级均为“高”。
2021年1月14日,巴南区人力社保局依法向重庆一建建设集团有限公司下达了《劳动保障监察行政处理决定书》要求其支付拖欠的31名劳动者的报酬48.80万元。


评论