记者 |
9月1日,有色金属行业位居跌幅榜首位,当日板块整体跌幅6.61%,该板块主力资金净流出规模也居首,全天净流出189.30亿元。该行业所属的个股共126只,其中上涨的有9只、下跌的有117只。
当日,南山铝业(600219.SH)、宁波韵升(600366.SH)、神火股份(000933.SZ)、株冶集团(600961.SH)、盛和资源(600392.SH)、安宁股份(002978.SZ)、五矿稀土(000831.SZ)、西部材料(002149.SZ)、赣锋锂业(002460.SZ)、广晟有色(600259.SH)、华友钴业(603799.SH)、海星股份(603115.SH)、天齐锂业(002466.SZ)、天山铝业(002532.SZ)、鹏欣资源(600490.SH)等15只前期大牛股跌停。此外,铂科新材(300811.SZ)、银河磁体(300127.SZ)、图南股份(300855.SZ)等股价分别下跌13.47%、11.45%、10.39%。
数据显示,9月1日,主力资金净流出最多的有色金属股前五强分别是天齐锂业、赣锋锂业、北方稀土、五矿稀土和华友钴业,主力净流出分别是20.16亿元、13.86亿元、12.48亿元、12.16亿元、10.03亿元。
9月1日,锂矿龙头天齐锂业跌停,报收122.64元/股,单日市值蒸发201亿元。上半年,该公司营业收入23.51亿元,同比增长25.13%;归属于上市公司股东的净利润8579.75万元,同比扭亏为盈。其中二季度,公司营业收入14.47亿元,同比增长59%;归母净利润3.34亿元,同比扭亏为盈。8月31日,天齐锂业披露,其于8月30日、31日接受179位投资者调研,其中包含90家机构投资者。
同为龙头的赣锋锂业也跌停,报198元/股,市值蒸发316亿元。龙虎榜显示,当日,深股通专用账户买入7.48亿元、卖出6.2亿元,招商证券交易单元账户、一机构专用账户分别买入1.27亿元、8434.72万元;同日也有另一机构账户卖出1.26亿元,国泰君安证券宁波彩虹北路证券营业部卖出3.58亿元、国泰君安证券上海新闸路证券营业部卖出1.83亿元。

财报数据显示,2021上半年,该公司营业收入40.64亿元,同比增长70.27%;归母净利润14.17亿元,同比增长805.29%。
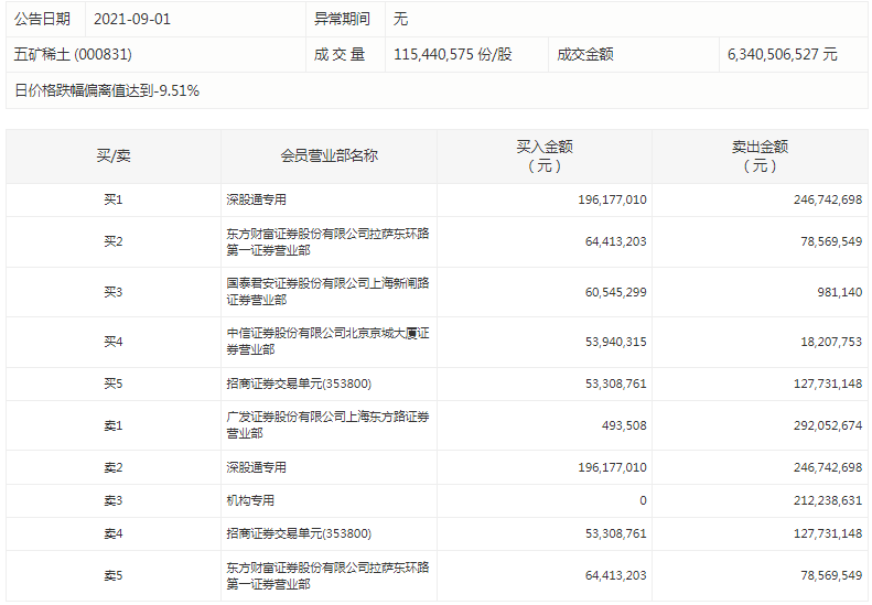
7月1日至今,五矿稀土股价两个月内飙涨了167%,8月31日刚收涨停板,次日9月1日却立马迎来跌停板。五矿稀土龙虎榜显示,深股通专用买入1.96亿元、卖出2.47亿元,招商证券交易单元买入5330.88万元、卖出1.28亿元,一机构专用账户卖出2.12亿元。2021年上半年,该公司实现营业收入15.74亿元,归母净利润1.69亿元,分别同比增长126.53%、6.47%。
9月1日,前一个交易日才涨停的北方稀土大跌7.67%至53.58元/股。公司第二大股东东嘉鑫有限公司自今年5月开始减持动作,拟减持不超过4000万股公司股份(占总股本1.101%),到8月27日已减持1365万股。2021年上半年,北方稀土实现营业收入147.20亿元,同比增长49.47%;归属于上市公司股东的净利润20.36亿元,同比增长500.52%。
9月1日,钴业龙头华友钴业的主力资金也净流出超10亿元,当日跌10%至126.19元/股,总市值单日蒸发171亿元至1539亿元。另一钴业龙头寒锐钴业(300618.SZ)跌7.29%,当日主力净流出2.17亿元。
消息面上,国家统计局8月31日发布数据显示,今年上半年,全国十种有色金属产量3255万吨,同比增长11%,增速同比提高8.1个百分点。其中,铜产量515万吨,增长12.2%,提高7.6个百分点;电解铝产量1964万吨,增长10.1%,提高8.4个百分点;铅产量361万吨,增长20.9%,提高16.5个百分点;锌产量327万吨,增长5%,回落2.7个百分点;氧化铝产量3928万吨,同比增长11%,去年同期为下降5.1%。
与上月相比,铜、电解铝、铅、锌价格均有所下跌。6月份,上海期货交易所当月期货铜、电解铝、铅、锌平均成交价分别为69875元/吨、18646元/吨、15315元/吨、22273元/吨,比上月分别下跌5.4%、3%、0.7%、0.7%,同比分别上涨49.8%、36%、6.2%、33.5%。
8月31日,中国有色金属工业协会相关负责人表示,对于屡创新高的铝价也有“三个不支持和两大风险”。不支持的因素有:一是电解铝供应并未出现明显短缺,而且全行业都在全力保供;二是电解铝生产成本涨幅明显不及价格增幅;三是当前消费没有好到可以支撑如此高的铝价。两大风险有:一是当前持续大幅高涨的铝价已使下游铝加工企业苦不堪言,如果下游行业不堪重负,甚至一旦高铝价对终端消费产生抑制,从而出现替代材料,则会动摇价格上涨基础,导致价格在高位短时间快速回调,形成系统性风险;二是史无前例的货币宽松环境是本轮大宗商品价格的主要推手,而货币潮水一旦褪去,商品价格也将会面临巨大的系统性风险;三是国家政策对市场的影响。
此前8月30日,中国有色金属工业协会召开骨干电解铝企业视频会。中铝集团、魏桥创业、国家电投、山东信发、东方希望、酒钢集团、河南神火、天山铝业、杭州锦江、伊电集团等10家电解铝企业参加会议。与会企业拥有电解铝产能合计超过3000万吨,占全国电解铝总产能比例超过70%。
另外,五矿铝业有限公司副总经理解少彤日前撰文透露,为保证大宗商品市场的有效供应,稳定商品价格,国家发展改革委、国家粮食和物资储备局在7月5日和7月29日分两批次投放国储铜铝锌合计约27万吨,其中第一批次投放国家储备铝5万吨、第二批次投放国家储备铝9万吨。



评论