文|开菠萝财经 金玙璠
编辑|魏佳
李子柒最近一条视频依然停留在7月14日这一天。舆论场上,围绕她的剧情已经上演了67天。
自停更到现在,报警、辟谣、维权、资本这些字眼,都在和田园生活代言人李子柒扯上关系,外界的猜测,从“狂热粉丝的骚扰”,“团队被挖”、“账号被夺”,后期集中到了李子柒和她背后MCN微念的利益纷争。
业内人士分析,如果双方有矛盾,最有可能发生在电商版块的利益分配上。
在李子柒和微念的博弈中,还有特殊的一层。微念老板刘同明发现李佳佳(李子柒本名)时,她已经是一个有名气的红人了,微念并非从0孵化,而现在李子柒在微念的IP价值和商业价值有多大,看看微念愿意“全公司五百多人服务李子柒一个人”就知道了。
一方是拥有千万量级粉丝的网红,另一方是有巨头加持、看起来掌握更多资源的商业公司。粉丝开始担心博弈下去对李子柒非常不利:李子柒不是杭州微念的股东,从股权方面看,也无法控制另一家与杭州微念共同持股的公司四川子柒,在利益分成面前自然就处于弱势地位。

如果终要与微念割席,李子柒是否会陷入粉丝担心的“危险”的境地?李子柒IP的商业版图如何划分?千万量级粉丝的社交账号、超过633万粉丝的网店和多个具有商业价值的商标、公司与子品牌会归谁?
“李子柒”发生了什么,当事各方都讳莫如深。一位微念员工告诉开菠萝财经,公司内部不让讨论此事。
其实,红人与MCN闹掰在这个圈子里并不新鲜。微博大V“吾掌柜”对此评论称,“很多成体系的MCN公司老板,最后大概率要娶了旗下最大的网红做老婆。同理MCN公司最大瓶颈是一夫一妻制,老板不能娶了所有的主播。”
红人与MCN到底要靠什么绑定,一直是MCN机构思考的问题,李子柒断更事件或许会引发从业者的重新思考。
猜:“李子柒”去哪了?
李子柒的粉丝最先嗅到危险的气息,等待视频更新的他们在8月30日等来的是李子柒在绿洲账号发布的状态,“大清早报个警”,配图是一张她坐在警察局里的侧脸照。
至于为什么报警,李子柒没有做过说明。起初有网友猜测,她这次报警和3年前一样,是被蹭流量的主播骚扰了。

图源 / 绿洲
但李子柒回复评论后又秒删的那一句“已经让律师做了保存,太可怕了!资本真的是好手段”,让“李子柒报警”迅速登上热搜,粉丝们注意到李子柒这次断更,和4年前因被恶意中伤而停更不同。“资本”两字,更是引发外界诸多猜测。舆论的关注点放到了李子柒与微念的矛盾上。
这类纠纷发生在博主和MCN之间并不奇怪,但在李子柒身上还是第一次。一位李子柒的忠实粉丝潘瑞告诉开菠萝财经,关于刘同明的故事,粉丝们只知道,他2016年因为李子柒那条走红网络的“兰州牛肉面”的视频而看中她,不断私信她、还去她的城市请她吃饭,双方才开始合作,李子柒的视频慢慢开始在微博出圈。
在李子柒账号断更的这2个月,对她为什么“消失”的种种猜测甚嚣尘上。
十几天前,李子柒的助理(微博昵称“她助理”)对于断更的解释还是,隐晦表达李子柒在不断学习各种学问、手艺。到9月13日,李子柒助理的话风一转,在微博上发文解释称,“李子柒最近暂时在整理公司与第三方公司的问题,没有如网络谣传的团队被挖等讯息”,并表示“更不要牵连无关艺人朋友”,间接否认此前流传的李亚鹏挖人传闻。
这就要提到李子柒断更期间发生的两段意外“插曲”。一个是李亚鹏,一个是中秋月饼。
李子柒这边已经两个月没更新视频了,那边李亚鹏在抖音做起短视频,走的也是田园风,被网友评论从风格到配乐都和李子柒很像,并传出了“李亚鹏把李子柒团队一锅端了(挖走了)”的消息,言下之意是这导致了李子柒没有内容产出。

图源/ 抖音
月饼事件就更离谱了。9月14日,李子柒品牌被曝遭一家超市侵权,这家超市把与“李子柒”无关的月饼包装成“李子柒月十全十美月饼”,一盒就卖出了786元的高价。为此,四川子柒通过官微出面作出澄清。
李子柒助理透露是“公司与第三方公司”问题的三天后,也就是9月16日,连续两位微博博主发声,他们释放出的信息,继续让李子柒断更事件的舆论关注点回到李子柒和微念之间的争斗上。
“兔撕鸡大老爷”在微博上爆料“李子柒现状远远比大家想象中的要惨”。大意是,把古风带火的李子柒,却在股权结构中吃了大亏,很有可能沦落到颗粒无收的境地。其晒出的某KOL微信群中提到,“理论上如果闹掰了,李子柒连账户都没把控权。”
紧接着,微博大V“吾掌柜”的爆料更为关键。他“猜测”,这是一个资本引起的企业内部股权争夺的故事,核心问题是:李佳佳(李子柒本名)本人是否掌控和拥有“李子柒”这一品牌。
危:李佳佳很危险?
热心网友和粉丝之所以担心李佳佳本人“很危险”,这背后其实是股权的问题。
目前和李佳佳有直接股权关系的公司有两家,一家是上海沉香里创意策划工作室,李佳佳100%持股。另一家是和微念共同持股的四川子柒文化传播有限公司(下称“四川子柒”),它成立于2017年,有两名股东,李佳佳持股49%、杭州微念持股51%,属于相对控制权。
杭州微念正是李子柒签约的MCN,也是李子柒旗舰店所属的公司,全称是杭州微念品牌管理有限公司(下称“杭州微念”)。天眼查显示,这家公司共有微创投、华映资本、辰海资本、字节跳动等22名股东,李佳佳不是股东,也不在12名主要成员中,她只有一个合伙人职位。
伴随李子柒成名,杭州微念一路被资本疯抢。从早期的华映资本、琢石资本的A轮融资,到2018年芒果文创基金、新浪微博基金投资8000万元的B融资,再到2021年7月,字节跳动联合华兴新经济基金、琮碧秋实、华映资本的战略投资。伴随字节入股,杭州微念融后估值据称已高达50亿元。
如今,杭州微念的股权已相对分散,实际控制人刘同明的持股比例接近20%。
股权是一方面,但还要看四川子柒、杭州微念两家公司在李子柒IP的商业版图中的分工,以及对品牌的控制权。
李子柒与杭州微念是深度捆绑关系。从2016年9月开始,微念开始为李子柒进行社交平台推广服务;2017年,双方从合约模式转为合资公司,达成深度合作,共同成立了四川子柒文化,开始经营“李子柒”品牌,随后在海外社交平台上进行账号注册。
短短几年时间,李子柒已经成长为传闻估值过十亿的IP:在国内多个平台已经拥有超1亿粉丝(不计重合)。其中微博粉丝2765万,B站粉丝792万,抖音及西瓜视频粉丝是5494万,快手是1029万;不算国内,李子柒光是在YouTube上每个月就有50万美金左右的广告联盟收入(据海外网红营销服务平台Noinfluencer数据),一年算下来有600万美金,也就是近4000万人民币的广告收入。
李子柒品牌更是李子柒IP变现版图中的重中之重。海豚智库显示,李子柒品牌2020年销售额为16亿。李子柒天猫店目前粉丝数为633万。
一位接近微念的行业人士徐陈告诉开菠萝财经,一旦李子柒和微念之间闹掰,利益怎么分配,取决于国内外社交平台账号的归属,以及李子柒相关商标、品牌、李子柒天猫旗舰店的所有权。
北京至普律师事务所李圣主任律师表示,通常情况下,双方股东会就商标及网络账号归属做约定,如果约定归公司所有,那各方股东按照股权比例及公司章程分配受益、转让即可,如果约定归属于一方股东,则另一方可能仅享有收益权。
徐陈透露,李子柒早期注册的平台有美拍、微博等,后期B站、西瓜视频以及海外的YouTube等平台的内容发布和运营多是控制在微念手上。
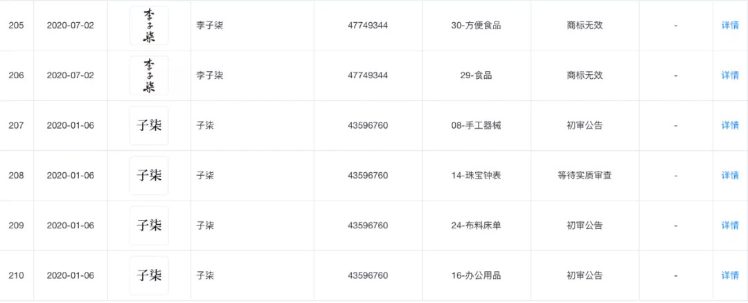
四川子柒承担着对外的内容输出。天眼查显示,这家公司掌握了200多个李子柒相关商标,包括柒、子柒、LIZIQI、李子柒、柒家好物、东方美食生活家等。
杭州微念也拥有小部分李子柒品牌相关知识产权。但开菠萝财经查询发现,其旗下和李子柒相关的商标基本处于两种状态,要么是商标无效,要么是等待实质审查。

微念旗下李子柒相关商标状态 图源 / 天眼查
而负责李子柒品牌商业的落地和执行的是杭州微念,淘宝上的李子柒天猫旗舰店背后的经营者正是这家公司。天眼查显示,李子柒品牌成立的螺蛳粉工厂“广西兴柳”,其背后大股东也是杭州微念。
也就是说,不论是2020年销售额达16亿元、拥有螺蛳粉、藕粉等全网热销单品的李子柒天猫旗舰店,还是螺蛳粉工厂,从明面上看都和李佳佳没有直接关系。
结合天眼查显示的微念参保人数为504人,四川子柒和上海沉香里参保人数一直为0这些信息,潘瑞所在的粉丝群已经开始这样解读:“李子柒品牌的日常运营到商业变现相关人员都归属杭州微念”、“李子柒持有的是一家空壳公司,且对账号没有绝对把控权”。
不过,这些猜测并未得到微念及李子柒方面的证实。
忧:李子柒品牌会被“白嫖”吗?
对于李子柒这样的视频博主来说,断更相当于背水一战。某红人孵化MCN机构负责人肖可对此表示,说明李子柒与微念的矛盾已经到了没有办法解决的层面,分歧大概率发生在电商版块的利益分配上。
相比一般红人IP,李子柒IP最特别的是,她有消费品牌,这是在李佳佳和微念合作后,一步步被做大的。回看李子柒IP走红的时间线,不难发现2018年是个关键节点。那一年,其微博粉丝数突破1000万,同名天猫店铺上线螺蛳粉产品。
后续的实际收入和资本入局都证明,最吸金的还是李子柒品牌,尤其是其中的李子柒螺蛳粉。有数据显示,2020年光是李子柒螺蛳粉就卖出5亿元。此前字节投资微念时,一位电商平台品牌负责人就曾分析称,因为微念帮李子柒做品牌,做供应链,字节投资微念更看重的是双方在新消费领域资本、供应链层面的合作。
在肖可看来,李子柒出镜拍视频,粉丝因为李子柒这三个字去天猫店下单,李子柒品牌一年能卖出16个亿,但微念依赖的是和代工厂合作,赚的是李子柒IP的附加值,却没有给李子柒本人股份。谁也没有想到这个品牌能在全球范围内持续有影响力,随着李子柒品牌越做越大,货越卖越多,早期的利益分配方式一定会引发矛盾。
那在电商利益分配上,谁更能约束谁,谁更有话语权就成了关键。身为李子柒粉丝,潘瑞担心的是,如果双方闹掰,会不会出现微念继续卖李子柒品牌的东西,李子柒“无形资产被白嫖”的局面?
肖可表示,红人在和MCN的合同中,收益分成是10%甚至1%,在行业内都非常常见。他自己就经常被红人问道,“我以后成了大红人,还拿1%吗?”据他了解,自己公司包括行业内一些MCN都会和红人签补充协议,进一步对粉丝数、收入做阶梯式的利益分配,数据和收入越高,红人的分配比例越高。
当然,李子柒作为千万量级粉丝的红人,已经证明,自己即使从不直播带货,IP的带货能力和IP含金量也是行业顶级的,因此在MCN面前的话语权更强。
肖可分析,不管是后期的资本投资,还是持续的粉丝消费,都是因为杭州微念和李子柒的绑定关系,尤其是粉丝,已经把李佳佳和李子柒完全等同了。
一旦双方闹掰,没了李佳佳本人的出镜,李子柒账号的粉丝大概率会大量流失,李子柒品牌的商业价值也会打折。李子柒可能不掌握视频账号的所有权,但可以利用“绿洲”及其它渠道发声,和粉丝继续互动,核心消费群体就不会再光顾李子柒旗舰店,资本也会重估微念的价值。
李佳佳这边,不愁“买家”,但另起炉灶成为下一个李子柒,短时间内也要伤筋动骨。
“现在很多跨行业来的资本方都在高价挖红人,按照粉丝量明码标价,买的不只是账号的归属,更是账号背后的红人IP。”肖可表示。但对于李子柒来说,在微念,其他红人(林小宅、香喷喷的小烤鸡、卧蚕阿姨、nG家的猫等)集体没有存在感,徐陈形容,“全公司五百多人服务李子柒一个人”,想要转投其他资本进行商业变现,一定需要比较长的适应磨合期。
“在红人圈子里,其实没有什么千里马与伯乐的故事。”徐陈表示。不过肖可的经验是,“用利益绑定不是长久之计,我们现在都是跟红人做真正的朋友,一起把蛋糕做大。”
任何一方都不希望走到杀敌一千自损八百的地步,只是要为各自的利益博弈。
*应受访者要求,文中潘瑞、徐陈、肖可为化名。



评论