记者丨刘晨光
红岭创投有了最新兑付进展。
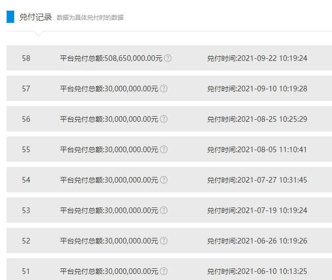
9月22日,界面新闻记者获悉,本次红岭创投兑付金额超过5亿元,达到约5.09亿元。
一位红岭创投的投资者向界面新闻记者表示,对于本次陡增的兑付额度,很多出借人倍感意外。在红岭创投讨论区,关于此话题的讨论也十分热烈。

事实上,在本次兑付之前,红岭创投官网上已经公布了9月22日的兑付金额,和此前一样,红岭创投本次的兑付金额也是3000万元。根据红岭官网的公告,关于平台进行第五十八次兑付的通知显示,拟于9月22日10:00进行第五十八次兑付,兑付金额为3000万元。

根据红岭创投投资者提供的兑付数据。从2020年4月份以来,红岭创投所有的相关兑付均为一次3000万。而维持在这个兑付水平一年多之后,红岭创投此次兑付金额突然增大。

值得注意的是,红岭创投9月17日在社区公告称,“昨日兑付专款余额7876万元,今日新增兑付款500万元,累计可兑付款8376万元。”

短短几日之内,红岭创投的可兑付金额为何大幅提升,从原来拟定的3000万变成了5个多亿?界面新闻记者向红岭创投了解兑付金额变化的相关原因,截至发稿尚未得到回复。
公开资料显示,2019年3月23日,随着实控人周世平“虽然清盘,但不是说再见!”的发帖,红岭创投正式宣布清盘,并推出了“出借人全部出借款三年内完成全额兑付”的方案。但是清退情况并不如意,清退进度远远不如承诺所预期的。
彼时的清退方案是:第一年(2019年)兑付20%;第二年(2020年)兑付35%;第三年(2021年)兑付45%。从当前清退情况来看 ,相关兑付标准远远没有达到。
红岭系旗下有三个平台。除了人们熟知的红岭创投之外,还有投资宝和红岭资本(具体形式为线下合同)。截止目前,投资宝和红岭资本分别涉及60多亿元和10亿元的待付金额。
据界面新闻此前报道,投资宝和红岭创投在最初本为一脉,后续也有较多交集。投资宝和红岭创投两家公司不仅具有同一实控人,存在经营范围一致、人员混同、场所混同等问题,还存在一段时间内的资金互通,或涉及“法人人格高度混同”问题。 (详见【调查】红岭系网贷平台230亿清退谜局:实控人周世平是否滥用控制?该不该“混合清退”?)
此外,投资宝的管理层在近段时间出现了一些变化,投资宝出借人向界面新闻记者确认,投资宝总经理已经离职(据了解,该总经理为2019年8月入职,也是众多出借人之一)。
另一方面,作为投资宝清退组组长的周世平也被采取的强制措施。
7月22日晚,深南金科股份有限公司公告称,收到公司控股股东、实际控制人周世平家属的通知,周世平已被深圳市公安局福田分局采取刑事强制措施。这意味着,如今投资宝清退处于“无人领导”状态。
三个平台的兑付进度有较大差别。根据投资宝平台最新的兑付提示,9月17日兑付了1000万,目前兑付进度大概为6.2%。
红岭系下面的另一个出借平台红岭资本一资深出借人表示,“总共10.8个亿,兑了大概5400万,平均5%。”她坦言,红岭资本是很复杂的兑付方式,每人根据到期日不同,比例不同,有些兑付比例仅有2%。据她介绍,截止目前已经有几个月停止了兑付。
仅从兑付比例而言,红岭创投本次兑付成功后,整体的兑付额度超过了17%。距离年底的“上岸”计划,显然也还有较大距离。
如今看来,红岭系下面的红岭创投、投资宝、红岭资本将走向何处,能否进一步兑付成功,出借人能否顺利“上岸”,还需要进一步观察。



评论