记者|赵阳戈
11月15日北交所正式开市,来自精选层的81家公司悉数亮相。截至上午收盘,81家公司中,除了3家公司停牌之外,另有21家公司录得上涨,56家公司收跌,1家不涨不跌。
盘面看,涨幅靠前的是11月15日新登陆的10家公司,其中N同心(833454.BJ)表现最为抢眼,多次临停后涨幅率先突破500%。在其身后的是N大地(870436.BJ)、N志晟(832171.BJ)、N晶赛(871981.BJ)等,涨幅也超过了200%。即使是表现相对最弱的N科达(831832.BJ),账面上也有145%的涨幅。
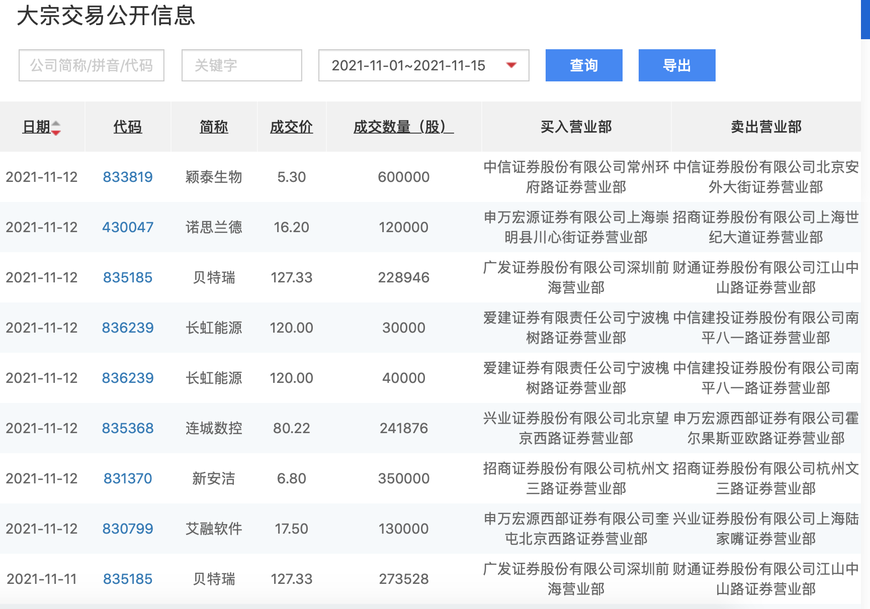
实际上在北交所11月15日正式开市之前,一众标的就显得有些兴奋,11月12日的大宗交易记录了这一切。这其中不乏人气公司长泓能源(836239.BJ)、贝特瑞(835185.BJ)等。
其余如德瑞锂电(833523.BJ)、德众汽车(838030.BJ)、安徽凤凰(832000.BJ)等一批排头老兵,表现也不俗,截至11月15日午间收盘,涨幅分别为21.18%、11.08%、8.99%。
不过也不是所有股票都在首秀中有惊喜。比如华维设计(833427.BJ)、拾比佰(831768.BJ)、同辉信息(430090.BJ)、龙竹科技(831445.BJ)反而出现了开盘就走跌的情形,截至午时收盘分别下跌8.13%、11.24%、11.13%、10.67%。

至于有3家公司停牌,则是因为这3家公司已经提交了转板申请。其中,翰博高新(833994.BJ)是在11月4日向深交所提交了转板上市申请文件,拟转入创业板,于11月9日收到受理通知,这也是转板申请获得受理的第一家。而在提交申请前的10月27日,翰博高新还发生了一笔协议转让,当时的转让价为22.16元,成交数量621.45万股。
观典防务(832317.BJ)则是在10月20日就向上交所提交了转板申请,拟转入科创板,11月10日公司也收到了受理通知。泰祥股份(833874.BJ),则是在11月5日向深交所递交转板申请的,其目的地为创业板,同样在11月10日收到了受理通知。
除了平移到北交所的精选层外,创新层和基础层也有不少公司以大涨应喝。其中创新层的晶晟股份(839830.BJ)、恒润股份(834679.BJ)涨幅分别为100%、95%;基础层的瑞玲企管(831481.BJ)、小蝉传媒(872379.BJ)、千叶珠宝(833585.BJ)等7只标的涨幅均为100%。
这一批首秀之后,后续新鲜血液也离上线不远。据北交所披露,精选层目前已受理公司为12家,已被问询的公司有38家,报送证监会的有1家,规模还将继续放大。



评论