文|闻旅
来自重庆产权交易网的信息显示,重庆统景旅游开发有限公司(以下简称“重庆统景旅游”)启动增资,拟公开募集资金不低于35433万元,公开募集资金对应持股比例为60%,挂牌起始日期为2021年12月15日,挂牌期满日期为2022年2月14日。
信息显示,重庆统景旅游成立于2011年1月,注册资本23622万元人民币,法定代表人为姜文君,经营范围包括旅行社业务;利用自有资金从事旅游行业的项目投资,温泉旅游项目开发及经营管理服务,旅游景区管理服务,酒店经营管理服务等。
目前,重庆统景旅游由重庆旅游投资集团有限公司(以下简称“重庆旅投”)和国开发展基金有限公司分别持股84.7%和15.3%;根据年度审计报告,自2020年以来,重庆统景旅游在巨幅亏损中备受煎熬。

2020年度,重庆统景旅游营业收入为3658.59万元,净利润为-6521.61万元;进入2021年,截至11月25日,公司营业收入为3894.96万元,净利润为-5645.04万元(即疫情至今2年时间不到已净亏超1.2亿元),资产总额为115693.67万元,负债总额101660.31万元,所有者权益为14033.36万元,负债率近88%。
如果任由这一亏损态势延续,重庆统景旅游不久或将濒临资不抵债境地,而从此次募资举措来看,重庆统景旅游显然是在拒绝就此沉沦。重庆统景旅游究竟有怎样的历史?为何会陷入如此困境?其未来又能否“枯木逢春”?
1、“温泉之都”的老招牌
作为全世界唯一的山地特大城市,重庆的温泉开发历史悠久,相关数据显示,在其8.2万平方公里的疆域内,已探明的温泉分布区域有1万平方公里,温泉点有107处,温泉水日涌量达10万立方米,依托丰厚的温泉自然资源,早在2005年。重庆市政府便提出把重庆打造成“温泉之都”的战略决策,使温泉成为重庆的四张“城市名片”之一。
自2006年起,重庆市围绕打造“中国温泉之都”总体目标,逐步构建特色鲜明、种类齐全、品质高档的温泉旅游精品,形成东、南、西、北、中温泉旅游产业集群,全面提升温泉旅游服务水平。在2012年,世界温泉及气候养生联合会正式授予重庆“世界温泉之都”的称号。
在重庆众多的温泉中,位于重庆渝北区御临河畔的统景温泉风景区属于资源禀赋最好、开发历史最早的一批。该景区面积15平方公里,统揽山、水、林、泉、峡、洞、瀑、天池、小岛、古寨、鹰群诸景,堪称“自然博物馆”,同时,其流量大、水温高、水质优、医疗科普价值高,且集“硫酸钙型温泉”、“重碳酸钙型冷泉”冷热双泉于一体,位居国内前列、西南第一。
1998年、2000年两次被评为“重庆市十佳风景区”。2006年荣评国家级AAAA景区,2008年评为重庆“巴渝新十二景”、“中国十佳休闲旅游景区”,2009年评为“2009年中国旅游品牌最佳温泉养生度假景区”……恰如重庆当地资深旅游业者对闻旅的说法,“尽管后来者众多,但统景在重庆温泉中的江湖地位始终不可动摇;而且无论是在北上广深任何一个都市圈,都难见到能与统景品质和规模并列的温泉竞品。”
尽管声名在外,但由于多年未改造,配套陈旧,重庆统景早早便遭遇周边竞品崛起带来的冲击;另一方面,作为2011年7月组建成立的市属旅游投融资集团,负责对全市重要旅游资源投资、开发、经营管理的重庆旅投,彼时有着多元化布局和提升重庆温泉整体水平的双重责任,亟需优质资源加持。
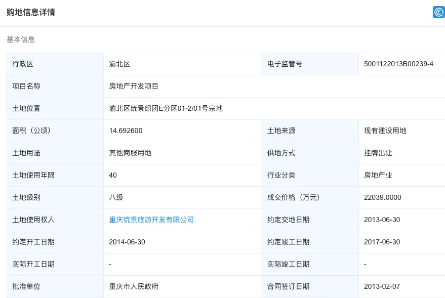
“一拍即合”下,早在2011年,渝北区政府和重庆旅投便签订了框架协议;2013年11月,重庆旅投以2.2亿元的价码,正式收购统景温泉。

按彼时规划,重庆旅投将投资11.2亿元对统景温泉进行提档升级和5A级景区的创建。首期投资6.2亿元(含2.2亿元收购款),2013年12月动工,预计次年完成温泉坝景区的提档升级。二期为5A级景区创建工程,投资5亿元。结合“原汤、自然、冷热双泉”的特点,将统景风景区打造成集温泉养生、山水风光、休闲度假等功能于一体的温泉旅游综合体。
2015年2月,历经提档升级的渝北区统景温泉风景区正式开门迎客,景区核心占地约650亩,主要由温泉中心、温泉养生精品酒店、入口综合服务区和统景“小三峡”组成。温泉中心的汤池由原来的16个,增加到48个,有全国最大的温泉造浪池和温泉儿童水乐园,已建成的温泉接待中心占地8000平方米,日最大接待量可达7000人次。
与之相配合,统景温泉随后开通阳光旅游统景温泉直通车专线,从南岸四公里汽车站、渝北龙头寺汽车站同时发车,沿途经过南坪万达广场商圈、上清寺汽车枢纽站、渝北渝通宾馆等,每日两班。目前统景风景区是4A级景区,温泉的升级,也在为景区申报5A创造条件,下一步,景区将对栈道、寺庙、景观等进行修复,完成后将适时申报5A级景区。
2、尴尬的“投入产出”
作为典型的大额投入、长线回报行业,温泉开发/运营对资金的需求量较大,或正是归因于此,2015年底,重庆统景旅游通过增资,引入国开发展基金有限公司作为二股东,公司注册资本由1.8亿元增加至23622万元。
除招募国开发展基金有限公司入股外,2016年12月,重庆旅投曾将其持有的重庆统景旅游全部股权,质押给了招商银行股份有限公司重庆分行;到2021年11月,重庆旅游再次将其持有的重庆统景旅游全部股权,质押给中国进出口银行、交通银行股份有限公司重庆南坪支行。
另外在2017年9月,重庆旅游集团、复星集团、渝北区政府三方座谈,复星集团郭广昌表示,复星集团进入重庆已有十五个年头,涉及地产、医药等产业,发展势头良好,近几年着手启动重庆旅游板块布局。目前,集团已在重庆成立西南中心,对统景旅游项目前景看好,希望能与渝北区政府、重庆旅游集团开展深度合作,共同打造西南地区旅游目的地精品项目。

尽管在对统景旅游项目进行了实地考察,双方就尽快推进合作落地达成基本共识。但从后续动态来看,双方再无进一步接洽。
对于统景温泉交由重庆旅投操盘,彼时各方均抱有足够期待,甚至一度将其视为打开老景区的改造序幕。按照温泉旅游专家何其伟的观点,企业为了追求经济效益,必定会对统景温泉进行重新规划和包装,一定程度上将解决统景温泉当前遇到的问题。
“旅投集团披露的规划正在干这件事,提供高、中、低端各个消费层级的产品,通过提供温泉保健等服务将档次提高。从大的方面而言,也一定程度上助推重庆温泉医疗健康保障体系的建成。”
回归现实,自重庆旅投接手以来,统景温泉的发展距离最初的预期“相差甚远”。
以申报5A景区为例,从重庆旅投入主统景温泉起,重庆旅投与渝北区曾反复提及统景温泉申报5A景区的时间表,但如今8年已经过去,尽管期间曾上榜所谓2017“重庆十大热门景区”、第三届中国温泉金汤奖之“十佳温泉”和“五星级温泉”等名头,但统景温泉始终与5A景区的招牌无缘。
落到最根本的运营层面,根据彼时统景风景区管委会提供的数据,在重庆旅投尚未接手的2012年,重庆统景风景区接待游客23万人次,旅游总收入约7000万元。
而中诚信国际出具的相关跟踪评级报告显示,2015年,也就是统景温泉改造完成正式投入运营后的首年,重庆统景旅游客流量30万人次、收入为3600万元,仅为改造前的一半;到2016年,重庆统景旅游人次降至26万人次,营收仅为3700万元;到2017年,重庆统景温泉客流量为35.7万人次,营收为5300万元。
到2018年,重庆统景旅游营收增至5389.76万元,进入2019年,其营收再度降至4936.08万元,即疫情前其营收已从最高点转入负增长状态。同时,其净利润分别为26.45万元和96.06万元,以不足2%的净利润率,实难自证其作为操盘者的运营能力。
转眼进入2020年,在年度净亏损超6500万元的情况下,重庆统景温泉仍然荣获“金汤奖2020”TOP人气温泉榜第1名。两相对比,未免太过刺眼。
3、何以困顿至此?
2020年3月,中国旅游协会温泉旅游分会曾做过一轮抽样问卷调研。数据显示,2020年疫情影响预期温泉接待设施平均关停天数为51.8天,酒店住宿预计关停天数48.9天,餐厅预计关停天数48.9天,康体娱乐设施预计关停天数51.7天。2020年“春节”黄金周,44.4%的温泉企业接待游客为0,接待1000人次以上的企业仅占4.2%。
具体到上市公司,以天目湖(603136.SH)为例,财报数据显示,2020年度,其温泉业务营业收入为3752.7万元,同比下降29.12%;对应的营业成本为2260万元,同比增加3.61%,毛利率同比减少19.02%。
同期,古兜控股(08308.HK)录得营业额约人民币1.27亿元,同比减少约46.6%;其中,古兜控股六间主题酒店房间收入为4060万元,同比减少约37.3%;公司拥有人应占溢利约为286.1万元,同比减少约88.4%。
至于疫情期间上市成功的西域旅游(300859.SZ),截至2021年6月31日,旗下新疆准东经济技术开发区古海温泉有限责任公司(曾用名“新疆五彩湾温泉娱乐有限责任公司”)营收为349.75万元,净利润为-342.8万元,净资产为-3007万元,已处于资不抵债境地。
受疫情“通杀”,统景温泉陷入如今困境似乎在“情理之中”。但从下跌“烈度”来看,尽管同为亏损,与上述3家企业温泉业务的运营情况相比,统景温泉2020年度超6500万的净亏损,可谓触目惊心。
重庆当地旅行社业者李箫(化名)对闻旅分析称,相比于重庆其他温泉,统景温泉至少有4点优势。
从资源禀赋看,统景绝对属于重庆温泉玩家中的头部IP;
从区位看,统景温泉紧邻江北国际机场,比较优势明显;
从体量看,统景温泉占地规模大,拥有足够的施展空间;
从政策扶持看,由于渝北区的旅游资源不算太多,所以统景温泉享受到的政策扶持权重相对会更高。
多重优势加持下,统景温泉自改造至今始终没能如预期走上正轨,李箫认为,症结主要在于操盘者本身的局限性。
在产品层面,据李箫介绍,大约在3年前(也就是疫情之前),其便陪家人一起去过统景温泉,此后便再无复购。其解释称,从设计理念来看,其与新生代客群需求存在“代差”;由于日常维护问题,给人感觉显得较为陈旧,体验感和性价比较为一般。
具体到产品组合的丰富性,以重庆另一家高口碑的融汇温泉城为例,查询携程等平台可以发现,除常规的成人票、家庭票2大1小、亲子票1大1小和儿童票外,该温泉还推出有门票+搓背/修脚/艾灸(三选一)(成人票)、门票+理疗体验(成人票),经典项目香薰瑞士按摩SPA体验(成人票),以及门票+自助餐和门票+午餐券,以及单独的自助餐票。与之相对比,连亲子套票都没有的统景温泉,显得太过单一。
聚焦渠道拓展,李箫谈到,疫情前旗下旅行社曾卖过统景温泉的产品,但作为渝北区温泉景区的代表,统景温泉和旅行社渠道一直没有太多互动,包括疫情防控常态化下旅游内循环崛起,现在正是温泉旅游旺季,重庆旅行社都有卖各大温泉门票或套餐,但基本见不到统景的产品海报。
“即便不走旅游社渠道,包括达人直播、网红打卡这类新的线上渠道拓展也没看到,至少在我们身边,基本没人谈论这个本属于重庆温泉景区中的大IP,慢慢也就被大家遗忘。”
在李箫看来,引发上述问题的深层次原因,或许还是重庆旅投作为市属国企,其管理机制欠缺相应的市场化运营基因。李箫以重庆旅投旗下更有代表性的黄金游轮,对此作了生动对比。
“黄金邮轮曾经是重庆的名片,也是重庆实力最强、硬件设施最好的邮轮公司,但发展到现在已经明显滞后,甚至部分总统套房进去都会有一股霉味;对比另一个民营企业世纪游轮,同样的船龄,因为维护更好,世纪游轮的船看上去崭新,不仅很卫生,而且更时尚,反映在最终的市场层面,同样的服务内容,世纪游轮就是可以卖出比黄金游轮明显高一截的价格。”
值得注意的是,2021年6月,渝北区文化旅游委新闻发言人胡刚曾表示,渝北区将对统景温泉改造升级,其中,2021年作为统景温泉改造提升项目的筹备期,将完成第一期的策划规划、建设项目的审批及开工启动。2024年所有任务主体建设完工,到2025年收尾和验收。到2030年,该景区的发展将带动周边区域旅游人次达到300万人次,统景场镇及周边新增旅游收入约5亿元、贡献税收约3000万元,创造直接及间接就业岗位7000个。
8月,深圳华侨城股份有限公司与重庆旅投、重庆统景旅游签下意向协议,称将计划投入80亿元,邀请国际顶级设计公司AECOM 进行方案设计,以“+温泉”的规划理念,按照国家5A级景区标准对统景温泉旅游度假区进行升级打造,将统景打造为重庆第7张城市名片,成为符合直辖市地位的国际知名温泉度假区。
而针对投资方资金实力和行业经验,此次募资严格的条件限制,似乎也是为华侨城而特设。
1、实力雄厚:意向投资方应为中国境内(不含港澳台)依法成立3年及以上且有效存续的企业法人(以营业执照为准),实缴注册资本金不低于5亿元(以验资报告或者2020年度审计报告为准)。
2、行业经验丰富:意向投资方或其关联方(关联方指意向投资方实际控制人或意向投资方实际控制人实际控制的其他企业。关联方须提供国家企业信用信息公示系统查询的股权结构)在全国运营不少于一家5A级景区。运营情况须提供5A景区运营合同或者协议等。
在李箫看来,以统景温泉运营方为代表,由于管理体制决定运营观念存在局限性,最近几年,这类非垄断性的国有企业日子其实都不好过,在这种情况下,重庆旅投寄希望于混改产生的“鲶鱼效应”重新激活不良资产,属于明智之举。
“相比于纯粹的地产开发商,华侨城属于地产与文旅并行,其在文旅多个细分业态均有覆盖,且拥有较为丰富的文旅运营能力积累和成熟的团队架构,如果真能通过混改进来,统景温泉至少能在品牌塑造层面有全新的蜕变,至于能否恢复‘昔日荣光’,这涉及到双方磨合情况、行业格局变化等多重内外因影响,一切有待时间检验。”


评论