文|化妆品观察
近日,完美日记母公司逸仙电商申请注册“完美日记元宇宙”“PERFECT DIARY METAVERSE”“皮可熊元宇宙”等多个商标,国际分类为3类及21类,包括日化用品、厨房洁具,当前商标状态为申请中。紧接着,其申请的范围扩大至“小奥汀元宇宙”等商标。
对此,化妆品观察第一时间咨询逸仙电商相关负责人,该负责人表示,申请商标出于保护商标目的,暂未有元宇宙计划。
而除了逸仙电商,宝洁也于近日推出相关产品——“元宇宙”空间BeautySphere;此外,欧莱雅、雅诗兰黛等企业也相继于去年年底推出NFT相关产品。
上述行为,被不少人认为是“美妆企业入局元宇宙”的开局。
欧莱雅、雅诗兰黛已入局
作为2021年的年度热词,元宇宙的爆火不言而喻。
元宇宙一词诞生于1992年的科幻小说《雪崩》,百度百科给出了这样的定义:元宇宙是利用科技手段进行链接与创造的,与现实世界映射与交互的虚拟世界,具备新型社会体系的数字生活空间。
简言之,元宇宙是一个网络化的虚拟现实。“元宇宙与现实生活是深度联结的,线下的社会生活将能够在线上得到高度还原,”国海证券在一份报告中指出。
当前,从国外的Facebook,到国内的腾讯、字节跳动等巨头们,都已加入阵营。美妆企业也不甘其后,打响了入局战。综合来看,美妆企业被认为布局元宇宙的方式无外乎三种。
其一,注册相关商标。
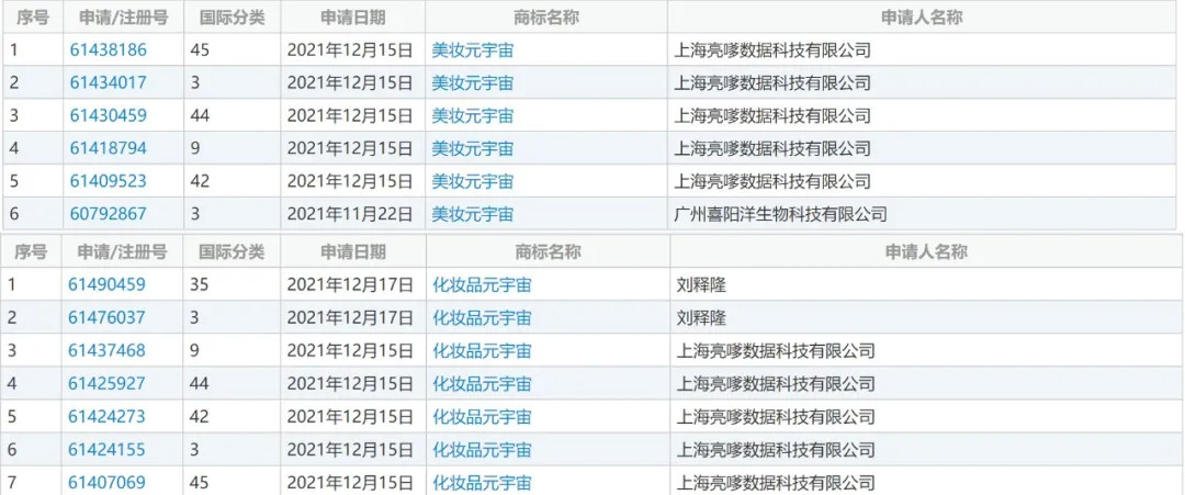
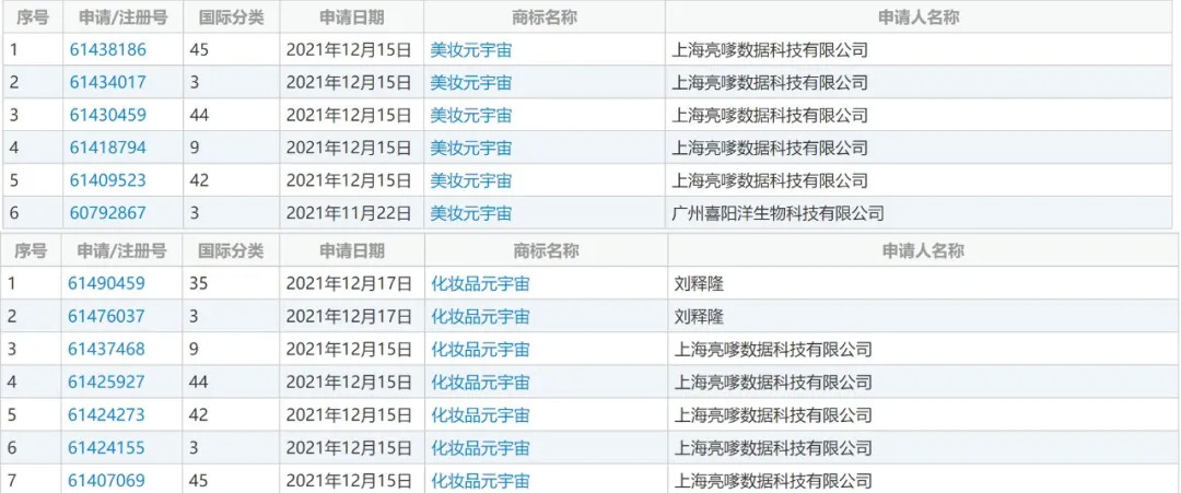
化妆品观察在中国商标网输入“化妆品元宇宙”“美妆元宇宙”等字眼,显示已有15个商标正在申请中,且申请时间均是2021年11月之后。申请人包括护肤品牌韩斐(HANFY)的母公司广州喜阳洋生物科技有限公司、上海亮嗲数据科技有限公司,以及个人刘释隆,正在申请中的商标包括3类、9类、21类、42类、44类、45类等。

截自中国商标网
同时,部分美妆企业申请了与美妆品牌相关的商标,如逸仙电商申请了“完美日记元宇宙”等相关商标。资生堂/丸美的服务商元隆雅图,日前在投资者互动平台表示,公司正在申请注册元宇宙相关的多个商标。
其二,推出相关概念产品。
近期,巴黎欧莱雅联合5位女性艺术家创作推出NFT口红——RedsofWorthNFT,并在OpenSea上进行拍卖,每个NFT的最低起拍价为1500美元。而更早之前,Clinique、Givenchy纪梵希、妮维雅等国际大牌,以及自然堂等国内一线品牌也相继推出系列NFT产品。
此外,宝洁也于1月5日首次公开其打造的虚拟空间BeautySphere,用户可通过这一产品,以更沉浸的方式参观和了解集团旗下品牌在可持续性、透明度、质量和性能方面作出的努力。
其三,打造或关联虚拟形象等。
推出虚拟形象或官宣虚拟代言人,被认为是企业入局元宇宙的“切入口”。例如,虚拟美妆博主柳夜熙的推出被解读为美妆与元宇宙“喜结连理”的标志性事件之一;又如,去年12月,欧莱雅美发在官宣AYAYI为其色彩焕新官时,其微博声明便把AYAYI定义为“元宇宙数字人”,开启元宇宙营销。
是真营销还是伪概念?
尽管众多美妆企业动作频频,不过,部分企业已撇清了与元宇宙的关系。例如,逸仙电商在回应中表示“暂未有元宇宙计划”。
“美妆拥抱元宇宙是很顺理成章的事情。”人工智能多场景应用服务商北京清博智能科技有限公司副总裁李祖希表示,作为与营销强关联的行业,入局元宇宙,可以看做是美妆企业营销的其中一种呈现形式。
他举例,美妆品牌Givenchy纪梵希、Clinique等推出NFT产品,既实现了基于NFT的营销拓展,即传达品牌价值观、塑造高端企业形象;也实现了通过这样一个产品,使用户和品牌发生情感的关联,并催生了新的增长点。“因为这类产品可以进行收藏,后续可能还会有转售的行为,基于此,其形成了一个新的流量入口。”
上述说法得到了国内某头部彩妆品牌相关负责人的认可。该负责人认为,作为当下最热的概念,“元宇宙是什么”并不重要,重要的是它提供了一个营销切入点。当前,从AR试妆到虚拟代言,都被冠以元宇宙的概念,部分行为也产生了一定的影响。
化妆品观察发现,欧莱雅美发官宣AYAYI的微博,收获了超2万的点赞,远超该账号其他微博的点赞量。
不过,某资深业内人士则表示,目前大家对元宇宙的看法不尽相同,并没有一个明确的界限,“不少元宇宙营销被认为是伪概念”的说法也是存在的。
他指出,从经济学的角度,所有经济的母体到头来都是实体,化妆品作为实体经济的一部分,与元宇宙的接轨并没有那么快。“目前布局了元宇宙的美妆企业都没有实质性的进展”。
“元宇宙的本质是一场科技革命,目前美妆行业的科技整体偏低,作为发展中的元宇宙,会率先在高科技含量的行业应用。”前文所述国内某头部彩妆品牌相关负责人表示,因此,现阶段布局元宇宙的美妆企业,“炒概念和噱头的可能性更大”。
此外,元宇宙未来的不确定性,也让部分企业止步于“噱头”。以美妆品牌推出NFT产品为例,本质上,NFT是一种不受监管的虚拟资产,全球尚未出台NFT法律规范,存在着不稳定因素。故而,不少美妆企业在推出NFT产品后便没了“下文”。
值得注意的是,部分上市企业在关联元宇宙后“获利”也并未长久。例如,在推出虹宇宙后,欧莱雅/宝洁服务商天下秀股价应声大涨,2021年10月及11月的涨幅分别达到29%以及19%。不过,其股价在去年12月份以及2022年1月均有回落。“这是炒噱头的一个缩影,”前文所述资深业内人士如是说。
5万亿市场,美妆有机会吗?
据彭博行业研究预计,到2024年,元宇宙的市场规模将达到8000亿美元(约合人民币5.08万亿元)。
“实现终极形态的元宇宙可能需要几十年乃至更久时间。”开源证券在一份元宇宙的分析报告里指出。
报告提及,形成元宇宙大概要经历三个阶段:即从“沉浸式体验形成雏形”到“虚拟/现实逐渐模糊”再到“在虚拟世界中形成新的文明”。
其中,到第二阶段,消费、生活服务等真实世界的元素会陆续接入虚拟网络中,而至第三阶段,现实中的社会生活和商业活动大部分都可以在元宇宙实现。
这即意味着,作为消费领域的一环,美妆行业必然会受到元宇宙的影响。
“美妆在元宇宙的落地,未来行之有效的方式可能会有三种:其一,打造虚拟形象或虚拟代言人;其二,打造NFT产品;三,在虚拟世界里打造部落或者街区,又或建造一个展示品牌的空间,类似于品牌的元宇宙。” 李祖希认为,这三种落地形态,第一种和第二种更易实现些,“元宇宙将为美妆拓宽了一个新的营销渠道”。
在和麦贺达集团副总裁田黎明看来,如果元宇宙能逐渐实现,未来人们可能大部分时间都在虚拟世界里。这即意味着,消费场景将发生变化。“对应来看,元宇宙对行业影响的更大契机,来自于流量的新转移机会,产品营销也要跟着转移过去”。
不过,前文所述资深业内人士也提醒,美妆与元宇宙的相遇将会比其他行业稍晚。如果没有持续的动作,美妆企业入局元宇宙被认为“炒噱头”的概率会偏大,倘若因此而带来负面影响则“得不偿失”,美妆企业仍需要谨慎入局。
正如人民日报评论:“虽然元宇宙似乎拥有广阔空间和多种可能,但目前还是一个尚未成型的新兴事物。每个人仍需理性看待当前的元宇宙热潮,警惕任何以科技和未来为名义的忽悠;是镜花水月还是触摸得到的未来,是资本炒作还是新的赛道,是新瓶装旧酒还是科技新突破。不妨冷静三思,谨防热到烫伤的风险。”
值得一提的是,作为当前的一大热词,“元宇宙”已被越来越多的省市写进今年的政府工作报告或产业规划中,其中包括上海、武汉、合肥等。随着政府部门的推动,元宇宙或将迎来更快发展,其与美妆行业的接轨或将能更快实现。


评论