记者 | 胡振明
公募基金当了“接盘侠”? 网传一段对话疑似质疑公募组团买入上市公司恒帅股份的股票,为私募接盘。
1月19日盘后,恒帅股份发布2021年度业绩预告,预计全年归属于上市公司股东的净利润为1.10亿元至1.20亿元,比上年同期增长65.77%-80.84%;扣除非经常性损益后的净利润为9,750万元至10,750万元,比上年同期增长58.85%-75.14%。
然而,恒帅股份当天收到了上市以来的第一个20%跌停,收于105.69元/股。前两天(1月17日),其股价还最高触及139.50元/股,如今市值已经从111.60亿元跌到了84.55亿元,三天内蒸发掉近四分之一,距其完成IPO不足一年。
恒帅股份的股价出现大跌,源于网络上疯传的疑似公募私募圈泄露出来的一张截图。该截图在业内疯传,其中显示,上海陆家嘴存在一个“核心圈”,“每天有饭局”,“卖方买私募产品,私募先买,然后准备好专家,和公司董秘甚至董事长沟通好,写段子+报告推。”“然后公募开始研究的,就会找到已经准备好的专家,再和公司一交流,传统主业提供安全垫,还搞新能源提估值,一下翻几倍。”该截图中短短数语让投资者怀疑:这个上海陆家嘴的“核心圈”通过饭局组团操纵股价。
该截图还显示:“恒帅股份就是典型”。如此点名道姓,恒帅股份遭遇20CM跌停。

恒帅股份的龙虎榜数据显示,1月19日全天成交395.50万股、4.50亿元,换手率19.78%,买入前五名中有3个机构专用席位,卖出前五名中有4个机构专用席位,买入总合计9087.96万元,卖出总合计10223.59万元,净卖出1135.63万元。
恒帅股份于2021年4月12日首发上市,第一个交易日高开低走,收了一个长长的“大绿柱”,其后股价呈现出震荡下跌的趋势。直到2021年8月23日,股价低开高走,收涨6.66%。次日股价高开,十分钟之内迅速拉至20%涨停,并且全天封死在44.21元/股的涨停价,收获上市以来第一个涨停板。
由此开始,恒帅股份的股价出现了一轮凌厉的上涨,2021年11月1日触及最高点174.98元/股,期间涨幅405.14%。此后,在11月的上半月出现三轮巨幅震荡,才出现股价大幅回调,最低回调至2022年1月5日的91.63元/股。如今出现截图被传出之后,网上有投资者将该截图和恒帅股份的股价走势结合起来分析,股价被操纵的疑虑陡增。
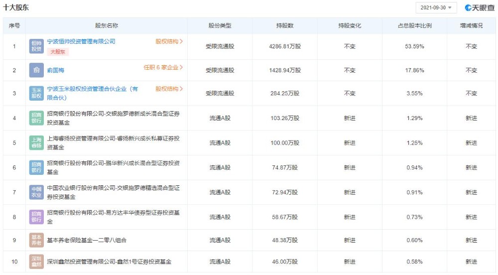
界面新闻记者通过天眼查看到,截至2021年9月30日,恒帅股份的前十大股东当中,除了新进的七大流通股股东之外,前三大股东仍为实控人许宁宁、俞国梅及其控制的宁波恒帅投资管理有限公司、宁波玉米股权投资管理合伙企业(有限合伙),持股比例合计75%。
从2021年三季报前十大流通股东名单看,公募基金共有交银施罗德基金、鹏华基金和易方达基金三家基金公司旗下多只产品新进成为前十大流通股股东。同时,股东名单中还新出现了上海睿扬、深圳鑫然投资等3家私募基金公司旗下产品的身影。
根据公司公告,恒帅股份及其实控人跟“投资”有关的信息并不多。2021年11月29日,恒帅股份发布《关于参与设立创业投资合伙企业(有限合伙)暨对外投资的公告》,公司拟以自有资金出资,参与设立宁波江北创业投资合伙企业(有限合伙),经营范围是创业投资(限投资未上市企业),执行事务合伙人为宁波蓝湖投资管理有限公司。除此之外,还有13名合伙人,其中宁波市江北区资产经营有限公司以认缴8000万元占认缴出资的比例最高。
截至2021年12月6日,该合伙企业已完成工商注册登记,恒帅股份首期出资实缴金额为500万元人民币,且已签署合伙协议。根据合伙协议,基金认缴总规模4.72亿元,其中,恒帅股份作为基金有限合伙人所认缴的1000万元占比为2.12%。
2021年7月3日,恒帅股份发布《关于公司董事会秘书辞职的公告》,戴鼎因个人原因申请辞去公司董事会秘书职务,辞职后不再在公司任职。到8月23日,恒帅股份第一届董事会第十四次会议审议通过了《关于聘任董事会秘书的议案》,同意公司董事会再次聘任张丽君为公司董事会秘书。
也是在2021年8月23日,如前面所述,恒帅股份的股价从当日最低价34.64元/股开始上涨,直到11月1日触及首发上市之后的股价最高点。
公告显示,张丽君于2019年7月至2020年3月期间担任公司财务总监、董事、董事会秘书,后因公司工作调整不再继续担任董事会秘书。张丽君自2020年3月离任后至今未买卖公司股票。恒帅股份于2021年4月12日在深交所创业板首发上市,以20.68元/股的价格首次公开发行了2000万股股票。



评论