文|伯虎财经 唐伯虎
2021年以来,社区团购丧钟不断。
同程生活、食享会先后倒闭,橙心优选上线不到一年即下架,最近十荟团也陷入了裁员欠债的风波中。
最早的“老三团”只剩下兴盛优选,它将独自迎战巨头多多买菜和美团优选。
行业信心低沉的时候,兴盛优选尚且幸运,它总是悠悠地传出一些乐观的消息。比如去年7月,同程生活在被追债的水深火热中,兴盛优选却拿到了3亿美金战略融资。
又比如这次,十荟团陷入变局,兴盛优选却说我要卖服装了。

伯虎财经想要讨论的是,卖服装这件事对社区团购平台来说,意味着什么?熬过巨头补贴战之后,借着品类扩张,兴盛优选要攻入电商腹地了吗?
01 当社区团购开始卖服装
消息很短。
兴盛优选新增了服装类目,上线了大量女装款式,覆盖年轻用户至中年群体。
伯虎财经打开其小程序,发现“源本”女装占据首页两个醒目入口,并附有开屏直推“买退包邮”,以获取用户信赖。点进频道,大部分冬装价格区间29-400元之间,合作品牌叙芳年和檬菲不太知名。服装的发货模式也不是送货上门,而是与社区团购一样门店自提。


(伯虎财经截图自兴盛优选小程序)
事实上,据天眼查APP显示,早在2021年10月27日,兴盛优选便入股了一家湖南恩衣电子商务公司,该公司经营范围包括服装生产销售相关业务。兴盛优选占恩衣公司股份的40%。

(图源:天眼查APP股权穿透图)
新增女装之前,兴盛优选的主打品类是水果、蔬菜、肉禽蛋水产豆腐、牛奶、农副、烘焙糕点、以及一些家居日用品。
虽然一直以来,兴盛优选对自己的定位都是电商,但是与线上平台丰富的品类相比,社区团购早期都还是内卷在生鲜水果及生活日用这些刚需高频消费品类。
高频带动低频,是电商的品类逻辑。
兴盛优选终于做服装了,至少意味着社区团购朝着电商的全品类运作,稍微迈出了一小步。也透露出,它想要在3%微利的卖菜业务上,撕开一道利润的口子。
不过大家还需要想一下,服装,是谁的看家品类?是淘宝。这十多年积攒下来的供应链优势,兴盛优选还差不止十万八千里。
再者,电商直播带货之下,服装的退货率就一直居高不下,兴盛优选能否扛得住这不菲的运营成本?
02 兴盛有几条命?
早在九十年代,湖南人岳立华便从小卖部开始,由批发转入了开超市。
受制于沃尔玛等连锁超市的影响,无品牌优势的超市难以发展,还有高昂的成本压力,岳立华干脆关掉100平方以上的大店。
就这样岳立华转型小型社区超市,店铺面积控制在80平内。
通过加盟轻资产模式,芙蓉兴盛扩张飞快,据官网显示,到2021年,累计拥有19000多家社区超市,辐射16个省市的480多个城市。
作为比较,中国连锁经营协会发布了2021年中国便利店TOP100,其中前三名,中石化易捷、美宜佳、中石油昆仑好客拥有门店数量分别是27600、22394、20212家。
强大的规模优势,给了连锁品牌不错的议价能力,芙蓉兴盛可以从供应商那里拿到最低的供货价。
而这众多社区入口+丰富的供应链资源,其实也是它转型社区团购的基石。
2013年7月,岳立华着手孵化电商平台兴盛优选,初衷是为了复兴门店。也走了一些弯路,他尝试过门店自配送、网仓、配送站,但都面临履约成本太高,加盟商利益驱动不大的问题。直到2017年6月,才最终摸索出“预售+自提”的模式。
作为公司主体的芙蓉兴盛利润本身不高,据说早在2016年就有董事会的人想要准备IPO,他们反对再把钱砸到兴盛优选的实验当中。
也就在这个时候,资本开始关注到社区团购,行业融资热度升温。长沙作为社区团购的重镇获得了投资人的青睐,一边是竞争激烈,一边是市场要扩张,兴盛优选也向投资机构敞开。
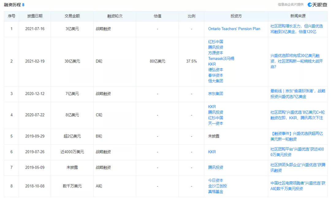
据天眼查APP显示,迄今为止,兴盛优选一共获得8轮融资。最早的一轮来自今日资本、金沙江创投和真格基金。多轮融资之后,创始人岳立华占股10.40888%。

(融资历程 图源:天眼查APP)
事后的报道中,兴盛优选称2016至2018这两年过得颇为艰难,市场竞争激烈,打仗需要子弹。有两笔投资至关重要,一个是腾讯的战略投资,令其抱住了流量大腿。另一个是今日资本徐新的进入,为后面京东的战投也搭了个桥。
这里伯虎财经插一句,同样是抱紧巨头大腿,社区团购抱腾讯和抱阿里的命运截然不同。譬如十荟团在阿里下场推出淘菜菜和盒马鲜生之后,便逐渐被边缘化,沦为弃子。
时钟拨到2020年,疫情之下,社区团购大爆发,眼看能够赚钱了,拼多多、美团、阿里、滴滴这些巨头纷纷下场,战火骤然升级,来不及补充弹药的同程生活、食享会被攻陷。
而在2020年7月至2021年7月的关键阶段,兴盛优选连续获得4轮累计48亿美元的融资。
总的说来,兴盛优选还挺能熬的。
03 安于做诸侯?
湖畔大学流出过一段第六届学员岳立华的视频,他用四个词评价自己:“土”、“吃得苦”、“爱折腾”、“一件事情不干好不罢休”。
“很多人做得巧,讲求资源整合,用最快得办法解决问题。但把时间维度拉长,你会发现那不一定是当下最好得选择。”岳立华倒宁愿“守拙”,“挖一口井,就一直挖。”
2021年下半年开始,兴盛优选的战略也转为保守。
它停止了一切拉新、单量奖和超低价位的产品销售活动,也全面停止了未开发区域的市场进入和新区域区域配送站的建设;并且关闭低效门店,合并低效网格站。
扩张按下暂停键,兴盛优选进入降本增效的节奏?
关键是,美团优选、多多买菜、淘菜菜这来势汹汹的“新三团”,会不会给它韬光养晦的空间?
也许退到不能退,兴盛优选还有自己的门店入口。可是,以社区便利店为端口,它能跑得通服装这些类目吗?
关于社区团购的终局,以兴盛优选为代表的线下派,依然是参照连锁门店的区域化格局来揣测,认为守住地域优势,做不了大一统,做诸侯是可以的。
但是,站在互联网企业的视角,地理的界限,早就不是问题。进攻从来都是大扫荡式的。
对岳立华来说,折腾,还得继续。
下一阶段“4进3”,兴盛优选还能坚守吗?
参考来源:
VCPE参考:揭秘社区团购兴盛优选背后的投资人



评论