2月10日,中国银保监会消费者权益保护局公开,关于梅赛德斯-奔驰汽车金融有限公司(下称 “奔驰汽车金融”)侵害消费者合法权益的通报。
通报提到,奔驰汽车金融涉及宣传材料未明确说明贷款产品提供方;服务价格信息披露不符合要求;有关消费者信息授权使用的格式条款未遵循合法、正当、必要的原则;消费者权益保护审查执行不到位的四大问题。

具体而言,在2019年7月,奔驰汽车金融提供给经销商的“‘藏不住’系列GLA朋友圈海报-通用版”宣传材料,将公司贷款产品和梅赛德斯-奔驰租赁有限公司(下称 “奔驰租赁”)租赁产品放在同一页面,但未明确说明贷款产品提供方为奔驰汽车金融。
2020年1月,其提供给经销商的“没错系列朋友圈海报”宣传材料,以“奔驰金融”名义同时宣传贷款产品和租赁产品,仅提示“‘奔驰金融’指代奔驰汽车金融和奔驰租赁”。宣传材料未明确说明贷款产品提供方。
蓝鲸财经此前注意到,有不少奔驰金融用户投诉,原以为办理了“汽车分期消费金融”,后期方知悉是在奔驰租赁购车,表示对于售后回租融资租赁购车情况不知情。
另有双方诉至法庭,用户称,原本可以全款买车,但被告知每月支付900元利息更划算,并未知悉租车事宜,以为每月支付的是利息并非租金。
以融资租赁方式购车,车辆所有权人为奔驰租赁,借款利率也不尽相同。蓝鲸财经此前对比奔驰金融两种业务的成本,售后回租融资租赁购车的金融成本高于车贷。
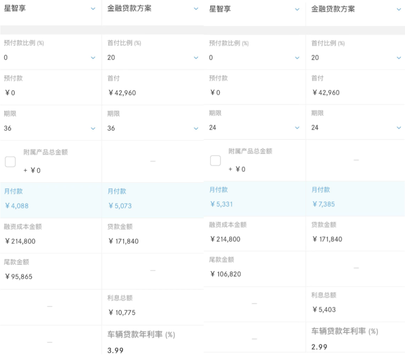
根据奔驰金融旗下公众号,“星智享”由奔驰租赁提供服务,“金融贷款方案”由奔驰汽车金融提供服务。同样购买A180L轿车,以36期算,“星智享”预付款为0,月付4088元,尾款95865元;“金融贷款方案”首付42960元,每月还款5073元;总体成本分别为24.3万元和22.5万元。融资金额不同分别为21.48万元和17.18万元,若尾款和最后一期租金同时支付,奔驰租赁和奔驰金融24期方案的年化IRR分别为6.08%和2.99%;36期方案的年化IRR分别为5.9%和3.99%。
与此前投诉信息类似,用户对于售后回租融资租赁购车情况疑未完全知情。值得注意的是,从法院文书看,双方都签署了融资租赁合同。

通报还提到,奔驰汽车金融还存在未在网站主页醒目位置公示服务价格信息的行为。用户需要依次点击购车支持、金融服务、合规宣传方可查阅《梅赛德斯-奔驰汽车金融有限公司收费项目公示》。
此外,2019年5月至2020年12月检查期间,奔驰汽车金融与消费者签署的《汽车贷款抵押合同》载明,消费者授权该公司可以向其所属集团内的任何公司、其他贷款人授权的或向贷款人提供服务的第三方机构,收集、披露以及允许其使用消费者信息。该授权条款在合同有效期内以及合同终止或解除后持续有效。
通报指出,披露消费者信息的范围和使用消费者信息的时长等条款约定未遵循合法、正当、必要的原则,不符合《消费者权益保护法》《国务院办公厅关于加强金融消费者权益保护工作的指导意见》以及《商业银行信息科技风险管理指引》相关规定。
在2021年推出的《个人信息保护法》中,监管规定,经营者收集使用个人信息应当具有明确、合理的目的,并限制在对个人权益影响最小的方式和实现处理目的的最小范围,不得过度收集消费者个人信息。
2019年,奔驰曾陷西安车主“哭诉维权”风波,被投诉收取金融服务费等。除车本身的问题外,该车主称在不知情的情况下被开通奔驰金融,并被迫交了1.5万元左右的金融服务费。
奔驰曾表示将对相关经销商展开调查,暂停其资质,车主与相关授权经销商达成了谅解共识。中消协曾对事件提出意见,包括汽车销售金融服务等应明码标价,杜绝强制交易等违法行为。
除西安奔驰4S店事件,佳木斯利星汽车有限公司也曾因金融服务费问题被用户起诉。原本的太原4S店原本在山西天健之星汽车销售服务有限公司已被列为失信被执行人。2020年,天健之星法人贺英奎曾被河津市警方列为在逃犯罪嫌疑人。

2019年,奔驰汽车金融曾因对外包活动管理存在严重不足被罚。2021年12月,北京银保监局发布行政处罚信息,奔驰汽车金融因发生核心业务系统中断暴露出业务连续性管理不到位、严重违反审慎经营规则,被处以40万元罚款。
奔驰汽车金融在2005年成立,给包括梅赛德斯-奔驰和smart品牌乘用车、戴姆勒商用车客户和经销商提供金融服务,涉及金融贷款标准产品、金融贷款限时专案产品及二手车等金融贷款产品。
截至2021年第二季度末,奔驰汽车金融零售业务未偿贷款本金余额837.79亿元。据披露,2021年第二季度,奔驰汽车金融净收入14.99亿元,未明确是否为上半年全部收入,金额超过2018年全年净利润。据此前披露,2020年,奔驰汽车金融营业收入41亿元,同比增加约1.9%;净利润录得18亿元,同比降16%。

奔驰汽车金融的主要收入构成包括利息净收入,占比连年超过90%。据奔驰汽车金融方面称,2020年9月,其应银保监会的监管要求以及处于对于资产风险的审慎考虑提高了计提资产减值损失的比率,导致营业利润下降。


评论