文 | 奇鲸
就在深圳部分新盘喊出“一成首付”的口号,准备打破库存去化难的僵局时,一则令人瞠目结舌的消息从阿里司法拍卖平台传来。
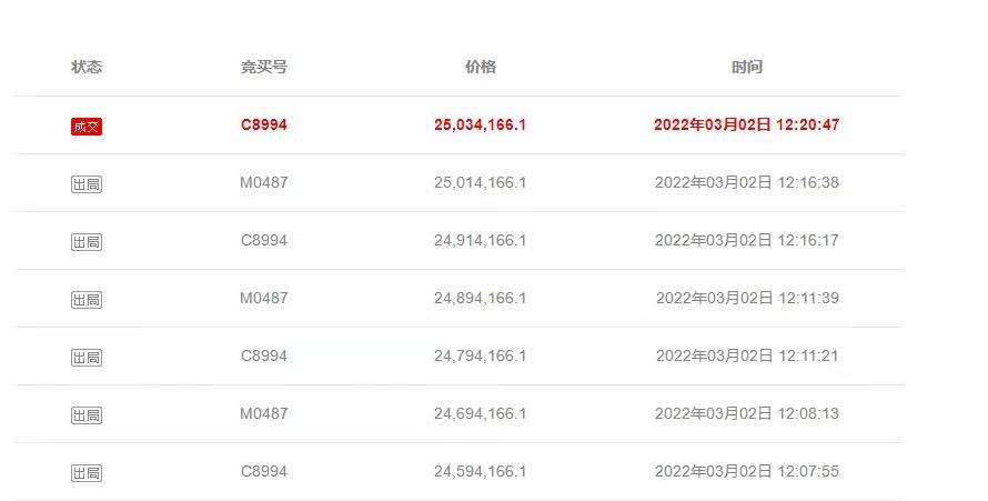
3月2日,阿里司法拍卖网页显示,一套位于深圳南山天鹅湖花园二期、建面为131.43平方米的房产,被编号为C8994的竞拍者以2503.41万元高价拍下,单价折算约19万元/平方米,而这套房产的起拍价仅为1599.41万元,市场评估价为1881.66万元。
该房源的实际成交价比起拍价高出904万元。根据深圳住建局官方信息,天鹅湖花园二期的二手房参考价仅为12.5万元/平方米,而这套房子的成交单价足足高出参考价约6.5万元/平方米。
这个竞拍结果,给前来围观这场拍卖的1.8万人上了扎实的一课:“不是所有的法拍房都能以低价捡漏的”。
最贵的法拍房最多人抢
就在大家还在猜测楼市小阳春何时到能到来时,3月刚刚过去3天,阿里法拍网站已经举办了17场房屋拍卖活动。
在这被拍卖的17套房子里,成交了11套,流拍6套。
令人意外的是,报名人数最多竟是这批被挂牌的房源中最贵的一套——位于南山区侨香路的天鹅湖花园二期D栋一单元3302号房产。
这套房子被山西省太原市中级人民法院查封,户型为南北朝向的3室1厅2卫,建面约131.43平方米。
一拍共有16人报名参加,在经过182轮的应价后,在超过1.8万人的围观下,最终以2503.41万元的价格成交。
而在竞买须知里说明,如竞买人报名参加则视为具备拍卖标物所在地购房资格,不具备购房资格报名参加导致拍卖行为无效的,应当承担赔偿责任。
由此可知,该房源总价比起拍价高904万元,比市场评估价高621万元,单价更是高出该小区的官方二手房参考价6.5万元/平方米。
为何如此高出市场评估价约621万元的房子也要拍下?那就要从这套房源的位置来看了。
天鹅湖花园位于南山华侨城片区侨香路南侧,与地铁2号线侨城北站直线距离为445米,附近聚集了波托菲诺天鹅堡、波托菲诺纯水岸等老牌豪宅小区,还有建有大型游乐场欢乐谷。
在天鹅湖花园已经入市的住宅中,一期和二期南侧紧挨着天鹅湖,三期则更靠近地铁。
此次被拍卖的房产位于二期的D栋,二期于2017年入市,备案均价约11.68万元/平方米。
除去自身条件优质之外,天鹅湖二期配套也非常丰富。首先,项目距离地铁站很近,且还位于主干道旁,未来出行非常方便。
其次,项目居住环境优越,小区依湖而建,旁边还有欢乐谷和燕晗山郊野公园以及高尔夫球场,环境非常宜居。
在商业配套上,项目旁虽然没有集中商业,但在距离天鹅湖花园1.2公里处,建有大型购物中心益田假日广场和华侨城购物广场,基本可以满足消费需求。
最后在教育资源方面,距离天鹅湖花园一公里内有华侨城小学和中学、南山第二实验学校,基本能实现一站式入学。此外,小区周边还建有华侨城医院。
由此可见,这个拥有便捷交通商业和学校资源、优质景观配套的小区,已经达到了深圳豪宅的标准。各项配套优质,也充分揭示在3月这批被司法拍卖的房产里,天鹅湖花园二期的这套房产最受欢迎的原因。
法拍房并非都能捡漏
法拍房之所以受关注,是因为这类被法院强制执行拍卖的房产,一般会以市场价7-9折的价格挂出,这样一来,拍下房产的人等于低价捡漏。而且不少被法拍的房产,是位于好地段拥有还配套的优质房源,市场上普遍一房难求。
除了能捡到笋盘,法拍房过户很快,拍定房源后由法院强制过户房产所有权,大部分二手房一样,过完户即可拎包入住。
法拍房看起来十分诱人,但参与司法拍卖,规则和风险以及税费问题还需要买房者多加留心。
去年6月,同样是位于南山的恒裕滨城二期,这套房子的起拍价为5617.54万元,最终以6217.54万元价格成交,单价为27.6万元/平方米。
而这还不是最后买家能带走的价格。由于这套房屋的产权的权属人是开发商企业,买家需要在在支付6217.54万元的基础上,按照(拍卖成交价-房屋登记价)x50%公式来核算税费。
通过计算,该买家需要支付近3000万元的税费。如果买家为第二套购买,估算需缴纳的税费可能达到将近3900万元,折合下来这套房子的单价达到约45万元/平方米。
这也说明,要购买法拍房,需要处处小心。除了税费问题,还需留意该房产有无租约以及拖欠水电、物业费用等。
因为即便房源易主,租约依然有效,若出租时间较长,对于想要拎包入住的买家而言,无疑会造成一定的损失。
与此同时,法拍房多是由于业主无法偿还债务而被法院强制拍卖的房源,所以欠缴水电费、物业费和税费等各类费用,也是司空见惯的情况,这些费用也在无形中增加了购房的成本。
在司法拍卖中,能捡漏的房源不在少数,而这类被拍出高价的也很多,不论是买二手房还是法拍房,都需要了解各项利弊之后再下手,在资金充裕的情况,确保万无一失,买到心仪的房子。


评论