编译|智东西 杨畅
编辑|三北
智东西3月18日消息,据外媒Letsgodigital报道,近日,三星的一项最新可折叠手机专利被国际知识产权组织(WIPO)公开。基于该专利造出的手机不仅可以折叠使用,还能以打开一副卷轴画类似的方式,将手机屏幕面积扩充一倍。用户可以拉动原有屏幕,带动隐藏的屏幕从折叠手机内部移出,进而增加整个手机屏幕的面积。

与已经上市的三星Galaxy Z Flip系列折叠手机相比,使用该专利设计的手机折叠时同样是紧凑的方形设计,面积相近,但是当展开时,手机的大小会是Galaxy Z Flip展开屏幕面积的2倍。

Samsung Galaxy Z Flip 3 5G
公开的专利文件显示,三星在2021年9月向WIPO提交了这项专利。这份标题为“多折叠电子设备”的专利文档共60页,国际公开日期是2022年3月10日。

01 展开面积是Galaxy Z Flip 2倍预计可达30CM
该三星专利上展示的示例手机在最紧凑的形态下与现有的Galaxy Z Flip 3一样小巧,但是最大显示面积比Galaxy Z Flip 3要大更多。通过移动原有屏幕,拉出隐藏屏幕,用户可以将手机显示屏区域再增加一倍。完全展开情况下,专利上显示的手机长度是Galaxy Z Flip 3长度的两倍,可达30厘米。

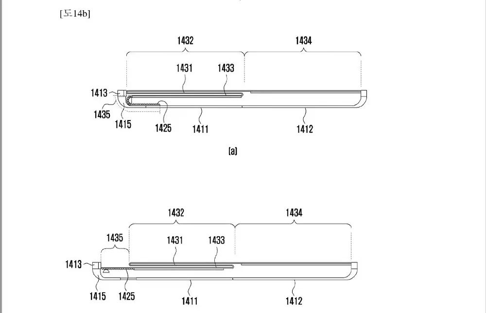
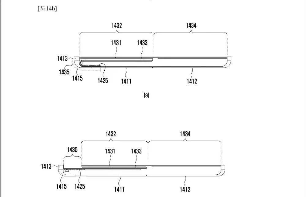
可拉出的屏幕和摄像头被装在手机外壳的上部。这样的设计给手机外壳的下部留出了足够的空间来集成电池。通过这种方式,手机的顶部和底部的框架保持完好,从而使设备能保持最佳的防碰撞保护状态。
由于独特的结构,用户还可以从中间拉出屏幕,使用户在两侧都可以看到一个直立屏幕和一个横向屏幕,类似两个Galaxy Z Flip设备背对而放,两个直立显示屏被磁力拉向彼此。

这种屏幕状态非常适合用来玩多人游戏,因为使用者不能看到面对面的游戏对手的屏幕。三星还为该设备提供了虚拟游戏按钮,包括一个方向键(D-pad),以便用户更灵活地使用设备。
该专利显示的设备没有单独的前屏幕,像现有的Galaxy Z Flip系列一样。用户也可以只拉出隐藏的屏幕,而不是按折叠屏的方式展开设备,这样就可以折叠着使用手机。此时,这一小块被拉出来的屏幕可以作为一个前置显示器。

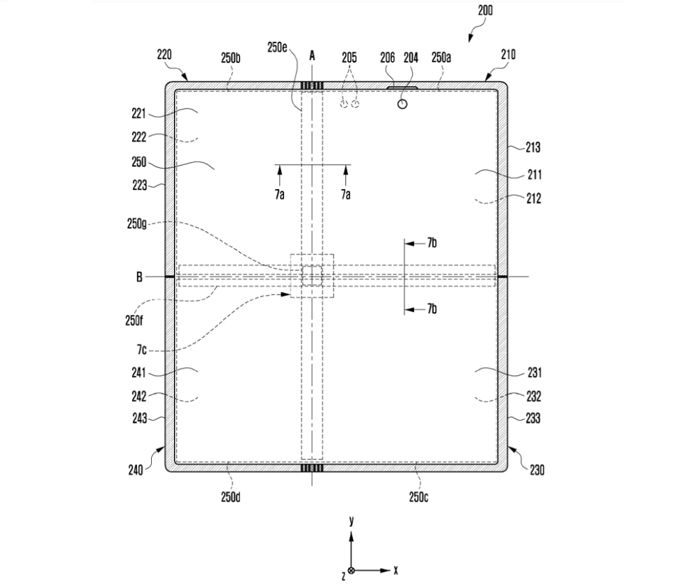
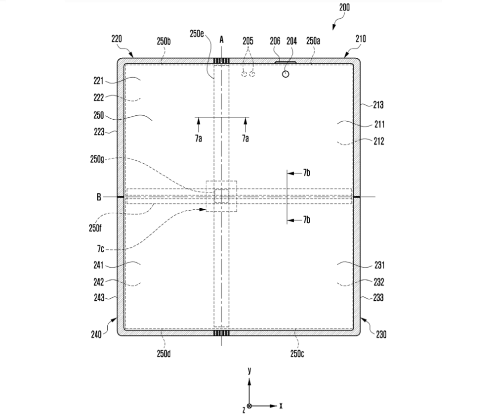
手机摄像机的话,从专利文档的描述来看,手机背面安装了1个摄像头,屏幕上有一个打孔摄像头,这似乎与Galaxy Z Flip的双摄模式类似。
02 卷曲屏加折叠屏,三层结构撑起新设计
该专利里面有两种关键技术:卷曲屏技术和折叠屏技术。卷曲屏技术用来完成屏幕的拉出或推回,折叠屏技术用来完成屏幕的展开或闭合。
整个设备可以分为三层的结构:外壳构件、支撑构件和显示构件。

我们可以看到随着使用者的拉动,从折叠状态变为平铺状态的部分手机屏幕随着导轨移动到了新的位置,隐藏的屏幕部分开始占据之前部分屏幕的位置。从这里面如何保证用户使用手机时不感觉有折痕或者断裂感是关键。
该专利演示的设备折叠地非常服帖。2021年11月,有报道说三星正在开发曲率可达1.4R的新型Flex OLED显示屏,该显示屏可能适用于该专利。

03 三星折叠屏再出新,商业化时间不确定
这是三星继上月公开横竖均可折叠的折叠屏专利后的又一次突破。(三星“奇葩”折叠屏专利:横竖、内外任意折!还能当笔记本电脑)

横竖均可折叠的折叠屏专利
与上一个专利类似,这个专利想要落地投产,还需要攻克屏幕材料等多方面难关,所以其商业化时间充满着不确定性。
不过,从三星发布第一款折叠屏手机到现在,三星已经成为折叠屏领域的龙头。根据国际调研机构Counterpoint数据,三星占据了全球折叠屏手机近90%的市场。折叠屏技术和创新方面,三星一直在投入。
04 结论:折叠智能设备形态越发多样
手机等智能设备的形态随着折叠屏等技术的发展越发多样,人们的体验也不断升级,像三星的这个专利就能让人一个手机体验三种屏幕用法。
随着三星等智能手机厂商加大力度发力折叠屏手机,折叠屏手机占智能手机的比例正不断升高。但是折叠屏能否保持现在的增长态势,走向更多用户,还有待时间检验。


评论