文|节点财经 三生
不知不觉中,新能源汽车的市场渗透率已经超过30%,越来越多的新能源汽车品牌在市场中涌现。其中,最近几个月销量增长最猛的一个,应该是属于哪吒汽车。从去年11月到今年1月,哪吒汽车脚踩“风火轮”,连续3个月销量破万,跻身造车新势力销量三强。
进入2月,理想的交付量为8414辆排名第一,而哪吒汽车的交付量则达到7117辆,排名第二。今年前两个月,哪吒累计交付量同比增长332%,而照这个势头,不远的未来哪吒或许将问鼎销量冠军,而理想、蔚来、小鹏新势力三强鼎立的局面,正在被哪吒打破。
但是,依靠“农村包围城市”逆袭的哪吒汽车,综合实力和“蔚小理”仍有差距。而在频频传出其赴港上市的声音背后,这家快速崛起的智能汽车“当红炸子鸡”,又有哪些软肋?
哪吒说“我命由我不由天”,哪吒汽车的“命”,又由谁来把握?
01 销量进前三“风火轮”靠什么加速?
整个2021年,哪吒汽车的销量共计69674辆,同比2020年增长361.7%,在主流造车新势力品牌排名第一。今年前两个月,高速增长的势头仍在继续。
那么,先来看看哪吒的“逆袭”是怎么来的。
首先,这就要提到哪吒汽车与“蔚小理”截然不同的市场定位,即所谓的“农村包围城市”。作为起步较晚的新能源汽车厂家,哪吒汽车选择了一条阻力最小的道路,避开竞争激烈的中高端汽车,从下沉市场发力,逐渐向中高端进军。

图片来源:汽车之家
“不造富人的玩具,只做老百姓买得起的车。”哪吒的这句口号,翻译过来就是便宜,性价格比高,所以也有一个“智能汽车界小米”的称号。
性能如何暂且先放下,哪吒汽车确实足够便宜,比如其最早的NO.1型车,以及目前销量最多V车型,价格区间都在6万到13万元。即便U型车的价格有所提高,也没有超过20万元。可以说,基本处于“蔚小理”的地盘之外。
其次,虽然哪吒汽车在科技含量上,相比“蔚小理”等前辈差了一块,用车体验也没少被吐槽,但也并非一无是处,否则不会有这么多消费者愿意掏钱买单。
除了配置上的大屏、音箱、座椅等硬件可以和“蔚小理”有一拼,哪吒U和哪吒V Pro等车型也都标配了全套L2级辅助驾驶系统,后者的定位是新势力A级纯电SUV。
虽然在很多行业人士看来,哪吒汽车的“智能”程度仍值得商榷,但在消费者眼中,哪吒确实也有了智能汽车的样子,可以满足相当一部分大众消费者在智能汽车方面的需求。
第三,哪吒汽车从B端入手,然后向C端渗透,这对其销量有一定的保障。
哪吒的第一款车型NO.1主要就是面对B端市场,这款车上市之前,就收到了滴滴出行等平台的5万辆战略采购协议。另外,浙江桐乡、江西宜春、广西南宁三地对哪吒都有大量投入,在汽车采购方面,从公务用车到企事业单位团购,都少不了照顾。
不仅如此,目前在全国十多个省份及国家税务总局等至少22个政府采购中,哪吒汽车都有入围。
最后,哪吒汽车能够快速崛起,也和公司不遗余力,甚至无所不用其极的营销有关。比如在吴某凡事件中,哪吒汽车曾因蹭热点备受指责;在Facebook改名Meta时,哪吒投资方之一的周鸿祎曾表示,这是向哪吒(Neta)致敬,引发网络关注。
相比很多智能汽车品牌中规中矩的营销,作为后来者,哪吒汽车的路子确实有点“野”。
总之,哪吒汽车的销量已经冲了上来。但在风风火火的表象背后,其反噬作用也正在威胁着哪吒汽车的未来。比如“农村包围城市”固然可以快速提高销量,但低端的品牌定位一旦形成,未来再想提高品牌溢价,可能困难重重。小米从低到高不断挣扎的心路历程就可见一斑,而汽车相比手机,对品牌更为敏感,这无疑是未来哪吒要进阶的一大挑战。
当然,对于目前的智能汽车行业来说,技术仍然是核心竞争力,赚钱能力也是硬杠杠。如果说哪吒是“我命由我不由天”,那它到底有多少真本事呢?
02 哪吒的真本事,干货有多少?
去年7月,智能汽车圈曾有一个挺火的话题:“15万能不能造智能汽车?”
当时,小鹏汽车创始人何小鹏在某论坛上表示,“在智能(汽车)领域,如果没有15万,是不可能真正把智能做好的。”威马汽车创始人沈晖也表示:“10万以下只能叫电动汽车,不能叫智能电动汽车”。
在哪吒看来,自己显然是被针对了,当时刚投资哪吒不久的周鸿祎亲自下场火力全开:“他们造高价的智能汽车,是想做消费者的第二辆车,但我不是,我要造的是国民智能汽车。”
双方的争议主要围绕着“智能”两个字。在何小鹏、沈晖看来,智能汽车的电池成本居高不下,而用户对智能技术的需求在不断上升,这方面的成本短期内不会大幅下降,甚至高等级自动辅助驾驶的成本还会提高。
对此,周鸿祎的回应更偏重于“科技平权”口号下的畅想,即“让每个人都能享受到科技带来生活体验上的改善提升”。
其实,双方的争论根本不在一个频道上。一个在聊技术聊成本,一个在聊平权聊未来,都在扬长避短。作为互联网嘴仗“老炮”的周鸿祎选择这个角度,某种程度上,也是因为目前哪吒相比“蔚小理”等造车新势力,确实还存在一定的差距。
从股东背景来看,每一家造车新势力背后几乎都有互联网巨头站台,蔚来背后有腾讯,小鹏背后有阿里,理想背后有美团,威马背后有百度。相比之下,哪吒汽车背后的360入局时间有点晚。
从哪吒汽车的主打车型上看,2021年,价格区间6-12万的哪吒V销量达49646辆,占到了整体销量的70%以上。这款车型主推全触控14.6寸大屏+AI智能语音交互,这样的卖点在很多传统汽车上也已屡见不鲜,如果和其他智能汽车对手竞争,大概也只有便宜这一个优势了。
当然,目前哪吒也有了自己的高端车型哪吒S,据说将于2022年四季度上市,号称基于自研的“山海平台”,在华为MDC计算平台辅助下,可以实现部分路况L4级别自动驾驶。
且不论这种级别的车型,目前国内的政策法规尚不支持上路,仅从“山海平台”来看,虽然设想很好,但完善这个平台还需要时间与资本的沉淀。而在实际项目上,哪吒与360在智能汽车上的合作如“智能驾驶、车载操作系统、驱动系统”等并不多。
毕竟,360只是网络安全龙头,在智能汽车这个烧钱的赛道并没有多少技术积累。
另一方面,也许各种新鲜的技术名词可以忽悠人,但真金白银的研发投入更为直观,因为没有足够的资金投入,智能汽车肯定玩不转。
根据360披露的财务数据,2020年全年,哪吒的营收为12.97亿元,净亏损13.21亿元;2021年上半年营收为16.32亿元,净亏损6.93亿元。

相比之下,2021年上半年,蔚来的营收达到164.32亿元,几乎是哪吒的十倍。而在研发投入上,蔚来2020年研发投入接近25亿元,几乎是哪吒总营收的两倍,2021年的研发投入则超过了50亿元。
不仅蔚来,小鹏、理想等造车新势力在烧钱上都不遗余力,目的也很简单,就是要在核心技术上保持竞争力。
还未上市的哪吒汽车虽然融资不断,今年2月份刚刚完成新一轮20亿元的融资,但在研发投入仍无法和“蔚小理”相提并论,实力差距仍然存在。
正如蔚来创始人李斌所说,“造车需要储备的资金门槛,几年前我说的是200亿,现在没有400亿可能都干不了了”。
哪吒汽车想要更进一步,上市已成为必经之路。
03 估值翻十倍,时间不等人
关于哪吒汽车品牌主体合众汽车赴港上市的消息不少,公司方面对此的态度是不予置评。其实,早在2020年7月,哪吒就曾表示计划2021年登陆科创板,后来无疾而终。
何时上市虽还没有定论,但哪吒融资的步伐已经非常紧凑。
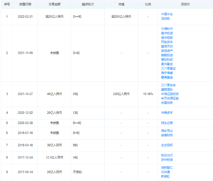
2021年10月,哪吒官宣完成D1轮40亿元融资,由360集团领投20亿元,多家知名投资机构跟投。紧接着11月,锂电巨头宁德时代与哪吒正式签署战略协议,将参与D2轮融资。今年2月21日,哪吒又完成一轮超过20亿元的融资,投资机构包括中车基金、深创投等。

图片来源:天眼查
当时有消息称,完成D轮融资后,哪吒的估值超过250亿元,而目前哪吒已开启预计规模约30亿元的Pre-IPO轮融资,目标估值约450 亿元。总之,哪吒的融资是一轮接着一轮,上市似乎已经不远了。
哪吒创始人张勇曾表示,360入局之前,很多投资人对哪吒汽车的印象是“产品弱、底子薄,缺乏互联网基因”。2020年底C轮融资时,其估值只有35亿元,资本的脸色确实不好看。
总体算下来,截至目前,哪吒9轮融资的总额约为130亿元,并不算突出,同为二梯队的威马汽车仅2020年的D轮融资额就有100亿。
但从2020年2月至今年2月,两年时间哪吒汽车的估值翻了十多倍,确实迎来了一个爆发期。
不过,哪吒汽车虽然销量逆袭,但营收水平和综合实力上与“蔚小理”仍有差距。
截至3月30日收盘,蔚来汽车的市值约为3000亿港元,理想市值约为2200亿港元,小鹏市值约为2000亿港元,而按目前哪吒Pre-IPO轮融资的消息,其450亿元人民币的估值还差着一截。
总体来看,哪吒汽车依靠一路飙升的销售量,已经成功吸引了各路资本的关注,估值仍有进一步上升的空间。但是,对于已经站在上市门槛的哪吒来说,真正的考验,或许还在后面。
一旦上市,前述提到过的品牌问题、营销问题以及质量问题,都有可能在资本市场的发酵中被放大。而伴随着全球范围内的通胀,造车成本不断增加,几天前,哪吒也刚刚宣布涨价,而这或许成为未来一个时期的常态。对于以低价取胜、主力客户对价格更为敏感的哪吒汽车来说,不断涨价并不是好现象。
更为重要的是,智能汽车赛道的未来,需要技术的积淀,更需要资本的大笔投入,而哪吒还有很长的路要走。
在它身前身后,威马、天际、奇点等都已传出了IPO的消息,时间不等人。


评论