近期上海分批实施核酸筛查,为更好地满足疫情期间居家生活和就医服务需求,小研从各区政务微信搜集整理了各区为民服务热线电话。一起来看↓
浦东新区各街镇为民服务热线电话

(注:上述热线电话仅限3月28日5点至4月1日5点期间使用)
黄浦区各街道24小时服务热线电话

黄浦区24小时服务热线电话:63130821
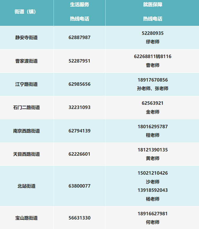
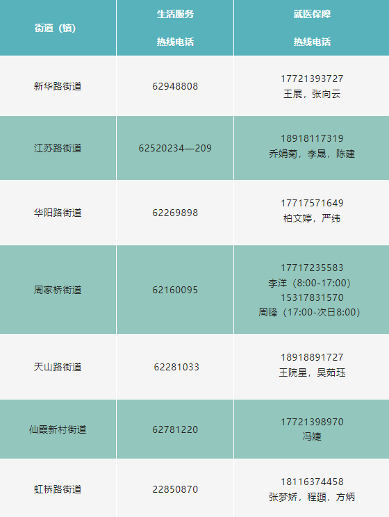
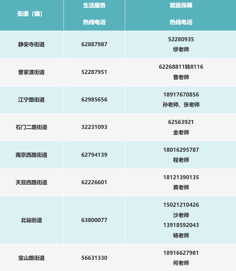
静安区各街道(镇)24小时生活物资保障热线


静安区城运中心24小时服务热线电话:33094207
徐汇区24小时生活物资保障热线
24小时服务热线电话:58910910
徐汇区58910910为民服务热线平台直接对接13个街道(镇)的疫情防控服务专线,“一号直达”。
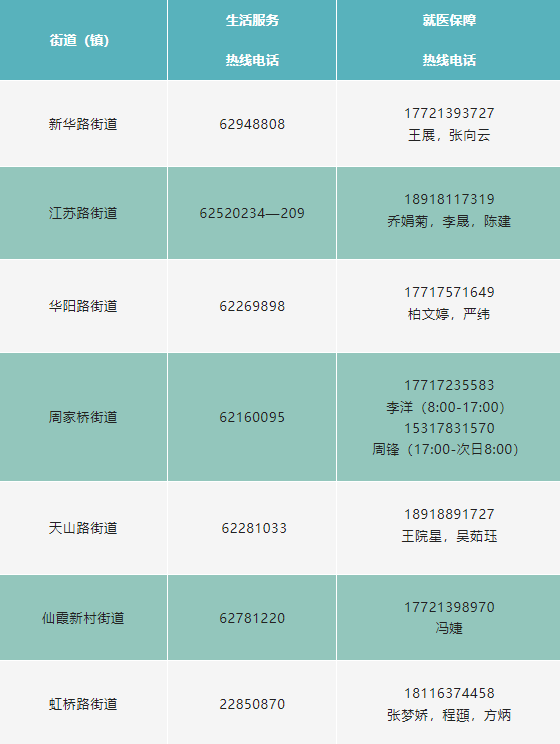
长宁区各街道(镇)24小时服务热线电话


长宁区城运中心24小时服务热线电话:60715191
普陀区各街道(镇)4月1日-4月5日期间24小时服务热线电话

普陀区24小时服务热线电话:52560990
虹口区疫情防控期间为民服务热线电话


杨浦区各街道24小时服务热线电话


杨浦区城运中心24小时服务热线电话:25033259
宝山区疫情防控期间为民服务热线电话

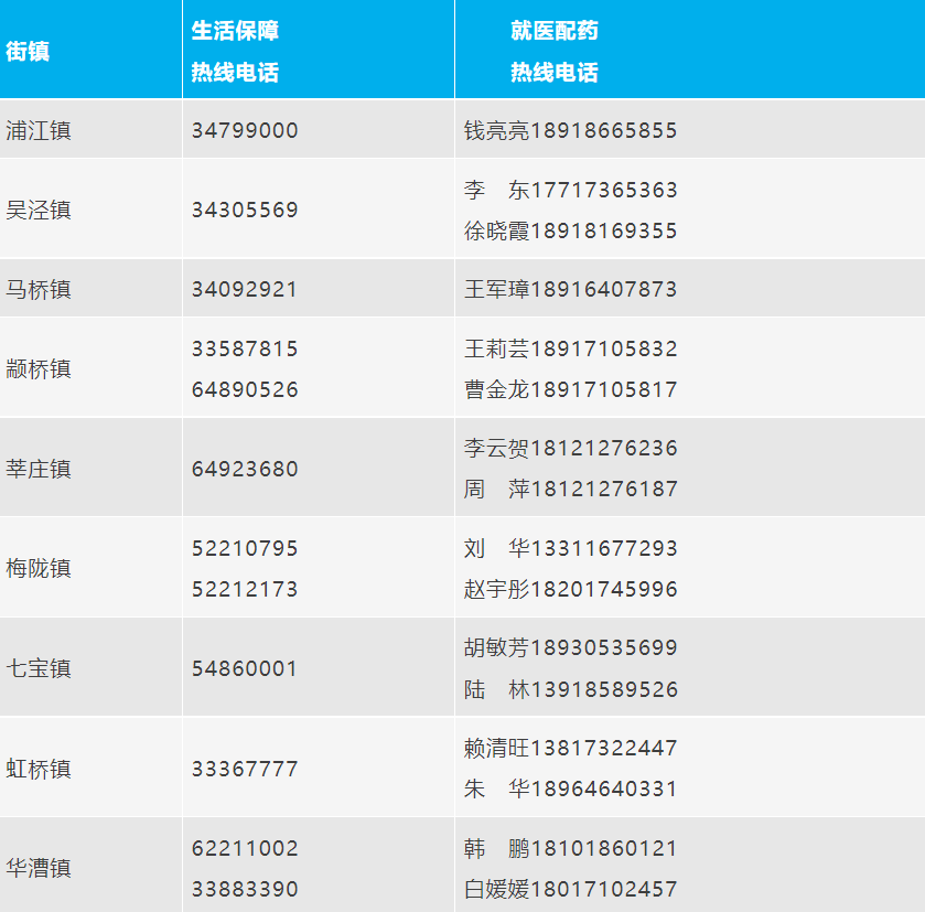
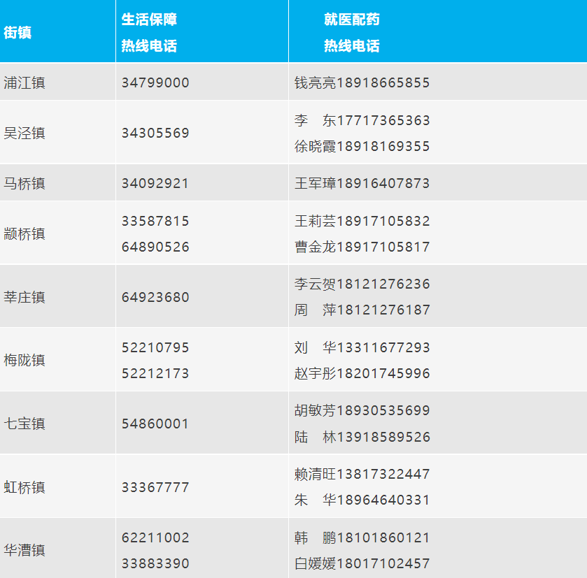
闵行区疫情防控期间为民服务热线电话


闵行区城运中心服务热线电话:962000
嘉定区疫情防控期间为民服务热线电话

金山区各街镇生活服务热线电话

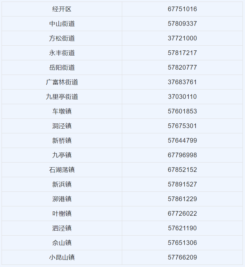
松江区各街镇、园区24小时为民服务热线

青浦区各街镇24小时服务热线电话


奉贤区疫情防控期间为民服务热线电话


(注:上述热线电话仅限3月28日5点至4月1日5点期间使用)
崇明区各乡镇生活物资保供热线电话

(注:上述热线电话仅限3月28日5点至4月1日5点期间使用)
综合自:浦东新区 黄浦区 静安区 徐汇区 长宁区 普陀区 虹口区 杨浦区 宝山区 闵行区 嘉定区 金山区 松江区 青浦区 奉贤区 崇明区
来源:上海大调研


评论