文|聚美丽 诗 诗
5月16日,国家市场监督管理总局反垄断局官网公示了天津市医药集团有限公司(以下简称“天津医药”)收购天津郁美净集团有限公司(以下简称“郁美净”)股权案,公示期为2022年5月16日至2022年5月25日。

截图自国家市场监管总局反垄断局官网
据案件公示表显示,天津医药拟收购天海胜御美投资合伙企业(有限合伙)(以下简称“海胜御美”)持有的郁美净87.7671%股权,并同时取得海胜御美持有的郁美净1.1%股权对应的股权收购权。
据了解,天津医药是一家国有大型综合性制药集团,其前身为成立于1979年的天津市医药管理局,该公司主要包括五大产业板块:绿色中药、化学原料药、化学制剂与生物药、特色医疗器械和现代商业物流。
天眼查公开信息显示,天津医药的经营范围还包括化妆品批发和零售、日用化学产品销售等。该公司的两大股东为津沪深生物医药科技有限公司、天津渤海国有资产经营管理有限公司,分别持股67%和33%。
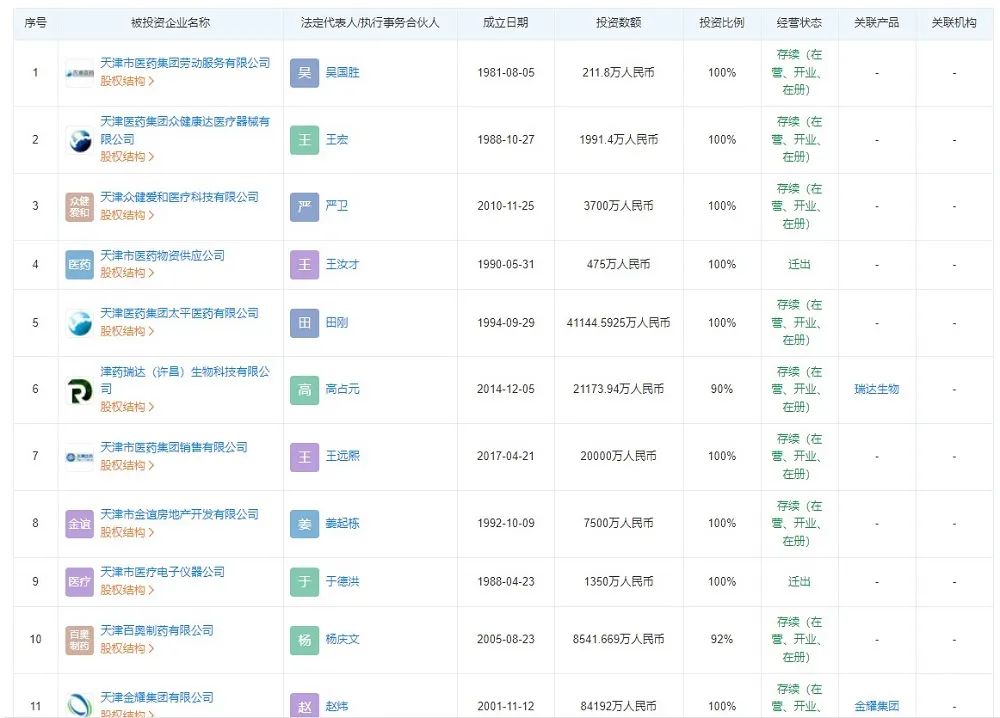
在对外投资上,天津医药投资的企业大多数来自医药领域,主要包括天津医药集团太平医药有限公司、天津百奥制药有限公司、天津金耀集团有限公司等。

天津医药的对外投资企业(截图自天眼查官网)
此次股权收购案中的郁美净,是一家以生产郁美净品牌系列化妆品、艾贝丽特美容院线化妆品为主业,集化妆品科学理论研究、生产加工制造、市场经营销售为一体,涉及香精香料、彩色印刷等行业的企业。
郁美净品牌,可以说是儿童护肤品牌中的老牌国货,曾一度家喻户晓。其产品线就以儿童护肤和婴儿护肤系列为主,还包括化妆水、乳液、面霜、防晒等护肤系列,以及洗发水、沐浴露、香皂、身体乳等个人护理品。
天眼查官网显示,郁美净是海胜御美唯一的对外投资企业。与此同时,海胜御美持有郁美净87.7671%的股份,是该公司的第一股东。

郁美净股东信息(截图自天眼查官网)
此次股权收购案的交易完成后,天津医药将持有郁美净87.7671%的股权,并享有郁美净1.1%股权的收购权,正式成为郁美净控股股东。
同时,这也标志着天津医药首次完成对化妆品企业的对外投资,或将成为该医药公司正式入局化妆品赛道的起点。


评论