近几年在资本市场日益活跃的山东,其IPO排队大军又将迎来“后备军团”。
今年5月份以来,山东证监局已有13家企业辅导状态变更为“辅导验收”或“辅导工作完成”,青岛证监局近期则有2家企业处于“辅导验收”状态,这意味着,一旦辅导验收顺利通过,山东将迎来10余家企业集中申报IPO的盛况。而据Wind资讯数据,山东目前IPO排队企业共39家。
山东或再迎农商行冲刺上市
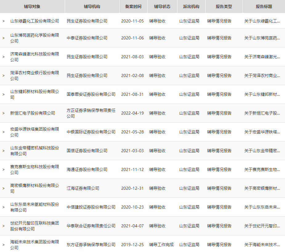
随着世纪开元智印互联科技集团股份有限公司辅导状态变更为“辅导验收”,5月以来山东证监局完成IPO辅导工作的企业已达13家,他们分别为:
● 山东绿霸化工股份有限公司(济南)
● 山东博苑医药化学股份有限公司(潍坊)
● 济南森峰激光科技股份有限公司(济南)
● 菏泽农村商业银行股份有限公司(菏泽)
● 山东键邦新材料股份有限公司(济宁)
● 新恒汇电子股份有限公司(淄博)
● 宏盛华源铁塔集团股份有限公司(济南)
● 山东金帝精密机械科技股份有限公司(聊城)
● 赛克赛斯生物科技股份有限公司(济南)
● 高密银鹰新材料股份有限公司(潍坊)
● 山东东岳未来氢能材料股份有限公司(淄博)
● 世纪开元智印互联科技集团股份有限公司(济南)
● 海能未来技术集团股份有限公司(济南)
● 青岛两家处于“辅导验收”状态的企业分别为
● 青岛海力威新材料科技股份有限公司
● 青岛沃隆食品股份有限公司
山东财经报道注意到,上述企业中,辅导时间最长的为海能技术,其2019年12月就进行了辅导备案;2020年辅导备案的企业则有6家,2021年辅导备案的有7家,新恒汇电子备案时间为2022年4月。
不过,新恒汇仅1个月就完成辅导工作,是由于4月份原券商辅导人员带项目“跳槽”,导致新恒汇更换了辅导券商,但辅导期进行了连续计算。
▼ 证监会辅导公示系统披露的5月辅导验收鲁企:


从上述企业所属行业来看,制造业企业占据了绝大多数,显示了山东强大的制造业实力。但这其中,菏泽农商行完成辅导,预示着山东又一家银行将冲刺上市。
据了解,菏泽农商行2021年2月7日与民生证券签订了辅导协议,至今共进行了7期辅导工作,对内部职工股问题、股权质押问题、房屋产权证书问题进行了改进规范。

国家企业信用信息公示系统显示,菏泽农商行成立于2014年10月31日,注册资本11亿元,股东共有99名,其中,自然人股东40名,企业法人股东59名。菏泽农商行官方微信显示,2021年末该行各项存款余额427亿元,较年初增长48亿元,各项贷款余额280亿元,较年初增长34亿元;连续第3年位居全省110家农商银行综合考评首位。
截至目前,山东共有齐鲁银行、青岛银行、青农商行三家A股上市银行以及威海银行一家H股上市银行,如果菏泽农商行能顺利闯关,山东将再增加一家上市银行。
济南“后备军”袭来,辅导券商“较分散”
统计发现,此次“扎堆”进行辅导验收或完成辅导工作的企业中,济南企业数量最多,有6家,潍坊、淄博、青岛各有2家,菏泽、聊城、济宁各有1家。
而从辅导机构来看,券商分布比较分散,除民生证券给3家企业辅导外,其余券商均辅导1家企业,包括中泰证券、国泰君安、方正证券、中银国际、国信证券、江海证券、中信建投、华泰联合、东方证券、东亚前海、中信证券,显示券商在IPO辅导市场竞争激烈。
山东财经报道通过Wind资讯了解到,山东目前还有39家IPO排队企业,从目前排队企业的辅导券商分布看,头部券商和山东本土券商占比较高。据统计,在39家排队企业中,中信证券是6家企业的辅导券商,中泰证券是6家企业的辅导券商,中信建投是5家企业的辅导券商,其他东吴证券、招商证券、中金、海通证券、安信证券等,辅导企业数量1-3家不等。
▼ 山东IPO排队企业(Wind资讯)


从目前39家IPO排队企业的审核状态看,1家“已发行”,2家“证监会注册”,7家“报送证监会”,5家“已通过发审会”或“已审核通过”,1家“待上会”,7家“已预披露更新”,4家“已问询”,1家“已受理”,1家“已回复”,3家“已反馈”,7家处于“中止审查”状态。
而从目前IPO排队企业城市分布看,青岛市12家、烟台市8家、淄博市5家、济南市3家、威海市2家、聊城市2家、日照市2家、潍坊市1家、泰安市1家、临沂市1家、济宁市1家、东营市1家。

来源:山东财经报道


评论