文|聚美丽 August
据天眼查官网信息披露,日本DHC品牌的国内经销商“上海蝶翠诗商业有限公司”(以下称DHC蝶翠诗)于7月5日被上海市浦东新区市场监督管理局罚没近115万元。
根据行政处罚详情内容显示,处罚原因是DHC蝶翠诗在从事“蝶翠诗”、“DHC”品牌化妆品的销售过程中,被市监局发现其产品中含有“羟乙磷酸四钠”成分,因此被认定为不符合化妆品安全技术规范的产品。

图片来源于天眼查官网
据悉,“羟乙磷酸四钠”成分主要是作为螯合剂、乳化稳定剂、粘度控制剂等,应用于个人护理用品领域。
此次处罚事件中,主要涉及两款产品,分别是:2019年8月7日、2021年4月26日所进口的蝶翠诗男士保湿平衡霜化妆品,以及2019年7月31日进口的蝶翠诗男士保湿平衡爽肤水,该两款产品均于2019年9月1日开始对外销售。

保湿平衡霜(左)、保湿平衡爽肤水(右),图片来源于DHC官方微博
因此,上海市浦东新区市场监督管理局针对上述两款不符合化妆品安全技术规范的化妆品,没收违法所得1146618.5元,并没收违法产品蝶翠诗男士保湿平衡霜1863瓶,蝶翠诗男士保湿平衡爽肤水1745件。
事发后,DHC蝶翠诗将其产品及时下架,并主动发布召回公告,将上述涉案产品召回。据记者观察,截止目前,DHC蝶翠诗天猫官方旗舰店已经没有相关涉案产品的内容。
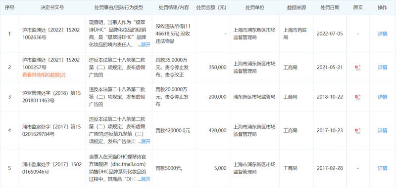
记者了解到,这并不是DHC蝶翠诗第一次被罚。在过去的六年时间里,DHC蝶翠诗被罚五次,其中因虚假广告宣传被罚的违法事实涉及三起,因成分问题被罚则是第一次。

图片来源于企查查官网
DHC蝶翠诗是日本知名化妆品品牌,很多中国消费者都听说过它。据悉,DHC集团在1983年设立了化妆品业务,其拥有护肤品、彩妆品、美体护理、身体护理等多个产品品类。根据媒体报道,DHC蝶翠诗已在2021年9月中旬正式退出韩国市场,但未提及终止营业的原因。
而在中国的天猫平台上,DHC蝶翠诗官方旗舰店的粉丝数已达259w,产品单价在18元-650元不等,销量最高的产品为DHC橄榄卸妆油,月销为1w+,看起来品牌业务还是很不错的。

图片来源于DHC蝶翠诗天猫官方旗舰店
关于DHC蝶翠诗此次被罚,不得不说,近年来市场监管日益严格,多数品牌被罚的原因主要集中在功效宣称、虚假宣传等方面。对此,品牌们应该不断提高相关意识,完善自身的管理,以免多次收到罚单,也会影响品牌在消费者端的形象。


评论