文|快刀财经 朱末
“不走寻常路”的美特斯邦威,以一种极其意想不到的方式,冲上了热搜。
近日,多名自称美邦员工的用户在社交平台上发声,称美邦出现大范围拖欠工资的情况,涉及范围包括上海、辽宁、天津、江苏、安徽等地多个子公司及关联机构。
根据网传截图,美特斯邦威先是因疫情原因延缓发放了3月的工资;之后的5月、6月和7月,美特斯邦威不断重申由于上海总部无法正常运转,对公司的销售造成非常巨大的困难,导致现金流紧张,不得不继续延缓发放工资,一时间人心惶惶。

一波未平一波又起,美特斯邦威的门店也在大撤退。事实上,2020年美特斯邦威就已经关闭了937家门店,截至2021年,其门店仅剩1600家。
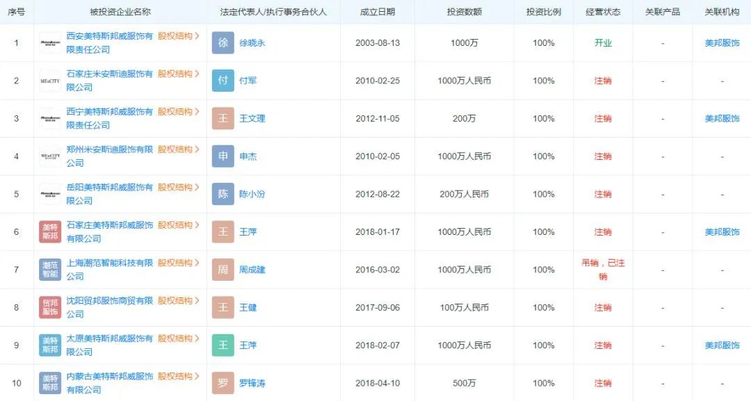
另据天眼查APP显示,美邦服饰18家分支机构中,仅1家为开业状态,该公司在北京、河北、河南、浙江、陕西等多个省市的投资公司,其中部分公司已注销,存续状态的公司中,分支机构多数也已注销。

无论真相如何,中期巨额预亏数据骗不了人。美邦服饰日前发布的2022年半年度业绩预告显示,今年上半年,美邦服饰归母净利润和扣非净利润预计双双下降,预计上半年实现归母净利润为亏损6.2亿元-6.8亿元,较上年3的亏损额进一步扩大1492.73%-1646.86%;扣非净利润为亏损6亿元-6.6亿元,较上年的亏损额进一步增长78.46%-96.30%。

曾几何时,美邦的服装随着周杰伦的广告火遍全国,各个城市乃至乡镇,都有美特斯邦威的身影,不仅承载了无数80和90后的青春记忆,总市值更是一度接近千亿。
而今时光流转,沧海桑田,这个曾引领中国服饰消费新方向,甚至被誉为“中国服装界黄埔军校”的国民品牌,或将成为“时代的眼泪”。
01 误打误撞,成就“休闲服饰第一股”
作为成长于国内私营经济大本营的浙江人,美特斯邦威创始人周成建的发家史,几乎是第一代浙商的典型模板。
80年代,浙江各地兴起了大批兼做零售生意的批发市场。刚刚经历失败的周成建,拿着仅有的1万块钱翻本钱,踏上了去温州的路。
在此之前,年仅17岁的周成建在老家浙江丽水开了家服装厂。由于初出茅庐经验不足,厂子很快宣告倒闭,周成建背上了30万的巨债。
当时温州流行前店后厂,决定重新开始的周成建,在温州妙果寺服装市场,开了家小店,不仅自己卖衣服,也帮别人代工服装,铆足了劲没日没夜的干活。
周成建过人的商业头脑,开始初露锋芒。为了招揽客商,在同行还在讨价还价之际,周成建用“一口价”的模式独占鳌头,仅用两半年时间,周建成就把债务都还清了。
然而,就当周成建准备大施拳脚之际,意外降临了。由于连轴转的工作,太过疲劳的周成建在给一批西服打版时,不慎将袖子缩短了一截,眼看又是一笔巨额损失。
无奈之下,周成建铤而走险,用别的布料补上袖口,再把衣服的下摆也截短,换上其他颜色的布料收边。在一众中规中矩的西服中,这款堪称“异类”的西服居然卖爆了。
尝到甜头的周成建得到了启发:与其复制别人设计的衣服,不如自己做出更有个性的款式来。恰逢1994年前后,港派服饰如佐丹奴、班尼路等品牌在大陆急速扩张,掀起了休闲服饰的热潮,周成建敏锐地捕捉到了机会,注册了美特斯邦威品牌。
1995年4月,周成建在温州解放剧院旁边开设了第一家美特斯邦威专卖店。开业当天,温州五马街全部铺上了红地毯直通门店,美特斯邦威成为大街小巷热议的话题。
此后,美特斯邦威一路高歌猛进。凭借明快大胆的颜色搭配、标新立异的风格,美特斯邦威很快走红全国。
2000年前后,周成建又做了一个大胆的决定:走“自主设计、委托生产、加盟销售”的商业模式,再次走在了时代前列。
通过门店加盟、美邦的销售触角得以推向全国;管理团队又辅以强大的设计团队,推出快速多变的产品;再分别委托不同厂商加工,顺利形成良性循环,美邦愈发势不可挡。
2001年,美邦的销售收入已经达到8亿元,是创业初期的80倍;2003年,美特斯邦威签下周杰伦当代言人,“不走寻常路”的Slogan深入人心;2008年,美邦服饰在深交所挂牌上市,成为“休闲服饰第一股”,周成建也以170亿元身家成为中国服装业的首富。
春风得意马蹄疾,如日中天的美特斯邦威没有注意到,一场酝酿已久的危机,正在悄然逼近。
02 内忧外患,美邦帝国走起了下坡路
就在国内休闲服饰发展得如火如荼之时,外国资本也盯上了这块“蛋糕”,吹响了进击的号角。
2002年,优衣库进入中国;2006年,ZARA进入中国;2007年,H&M进入中国;2010年,GAP进入中国。
这些国际快时尚品牌,以超大店的模式,更快的推新速度,迅速俘获了中国消费者的心。据《中国日报》报道,快时尚鼻祖ZARA每年至少给市场带来7.5万个SKU,并保持两周上新一次的速度,小批量多款式,周期短,库存更灵活。
这种速度,大部分国产服装品牌都无法做到,美邦也不例外。为了缓解冲击,美邦不断做大规模,全国门店数一度突破了5000家。
这种做法,的确为美邦带来了不菲的收益,但也从另一方面破坏了品牌形象。此外,为了跟上开店速度,周成建选择将服装供应链和产品研发全部外包,不仅造成了公司管理效率的下降,也给美邦带来品控难以保障的弊端,次品问题明显。
压力之下,周成建对加盟商的策略也十分激进。要求加盟商每年必须有25%的业务增长率,这显然是极其不平等的条款,为日后的分歧埋下了隐患。
还未和竞争对手分出胜负,天猫商城、唯品会等电商渠道又来势汹汹,让美邦更加焦头烂额。2010年,美特斯邦威顺势推出了自己的电商平台“邦购网”。
但是,由于线上线下没有形成协同效应,在物流配送等方面又无法跟上电商发展的节奏,2011年10月,仅上线10个月的邦购网,在耗费6000多万元之后,便偃旗息鼓。
2012年,传说中的玛雅文明世界末日没有到来,倒是之前跑马圈地的国内服装业开始步入拐点,哀鸿遍野。
裹挟在其中的美邦,处境同样艰难。在美邦2012年的第一季度财报中,公司营收额为26亿元,库存量高达23亿元,占营收额的88%以上。
其中,过季衣服的库存量更是超过13亿元。作为服装快消品,过季代表着巨大贬值,意味着经营性现金流和库存周转率的急剧减少,存在潜在的爆雷危机。
对内,处在舆论暴风眼的周成建狠批下属“三蛋一不”,即混蛋、王八蛋、瞎扯淡以及不作为,对业绩不达标的员工采取灭“蛋”政策,导致公司骨干批量流失,气氛剑拔弩张。
对外,周成建强作镇定,扬言“中国市场巨大,很容易就消化掉”。为此,美特斯邦威不得不陷入“商品卖不动-高库存积压-降价清仓-竞争力再次下降”的恶性循环。
更糟糕的是,在消化库存的过程当中,美邦强令加盟商打折销售,由加盟商承受大幅降低带来的损失,导致人心尽失。
2015年上半年,美邦服饰出现了上市7年来的首次亏损:归属母公司股东的净利润为-9476万元,同比下跌152.9%;2016年1月,周成建因涉嫌操盘运作被警方带走,美邦紧急停牌,之后,周成建卸任董事长、总裁等职务,由女儿接任。
褪下光环的美特斯邦威,慢慢淡出了年轻人的视线,门店数量从巅峰时的5220家,到2021年仅剩1600家。美邦的股价,也从高位跌落,并开启了向每股10元以下的探底过程。
不走寻常路,铸就了它曾经的辉煌,也见证了它如今的落寞。
03 转型失利,一手好牌打烂究竟为何?
盛极而衰,厄运还在继续。
2019年-2021年,美特斯邦威实现营收54.63亿元、38.19亿元、26.29亿元,归属净利润分别亏损4.685亿元、8.594亿元、8.255亿元,三年累计亏损超21亿元。
为解困局,美特斯邦威只得变卖资产以补充现金流。2021年3月,美邦服饰以4.48亿元,将持有的“上海模共实业”100%股权出售,买家是上市公司百润股份。百润股份有锐澳鸡尾酒,简单来说就是锐澳鸡尾酒相关公司买了美邦的资产。

这栋位于上海康桥东路799号的房产,曾是美邦的博物馆和设计中心,连公司的象征都卖,可见美邦是真的急了。
紧接着,2021年6月,美邦服饰发布重大资产出售预案,拟以4.24亿元向“凯泉泵业”出售所持“华瑞银行”10.1%的股份。频频出售资产,对于身陷囹圄的美邦来说,只是为了生存下去,然而,短暂的回血并不能纾解长期的困境。
追根溯源,剖析美特斯邦威这几年的转型动作,就能发现,美邦看似积极,但实际并未从根本上解决问题,缺乏明确的定位和自省。
拿错失电商红利来说,美邦触网确实不晚,但美邦想当然地认为,有品牌、有资源就能做好电商平台,甚至只把其当做消化库存的补充渠道。
周成建曾在公开演讲上谈及马云的“劝诫”:“单一品牌,最多是一个官网,不能是平台,用官网思维做平台,就是纯烧钱”。果真一语成谶。
但美邦并没有及时意识到方向上的错误,还坚持在2015年推出“有范”APP。为了造势,“有范”连续三年天价冠名《奇葩说》,尽管如此,依旧改变不了失败的结局。
从诞生开始,“有范”就没有想清楚:到底是卖所有品牌还是只卖美邦的?前者要与京东、天猫正面刚,后者又无法营造购物社区氛围,留客能力不足。浑浑噩噩之下,“有范”坚持两年就宣告下架。
为了挽回下滑的业绩,美邦服饰又在2018年宣布在三五线城市推进“百城千店”计划,来振奋业绩。然而,渠道的过于下沉,又给美邦品牌贴上了“土味”、“LOW”的标签,消费者对美邦的滤镜消失殆尽。
一切改变只是徒有形式,而没有真正触动到公司运营、供应链、渠道等本质性问题,美邦在转型道路上,硬生生把自己走进了死胡同。
直到国潮的崛起,让美邦意外抓住了救命稻草。2020年,美邦推出国粹京剧系列、中华博物馆系列服装,试图通过年轻人接受和感知的方式,来摆脱既有形象。
但对于美邦押注国潮赛道的做法,业内人士并不看好:“闻道有先后,术业有专攻,每个企业都有自己的基因,就像百度做购物,阿里做社交,结果恐怕自毁长城。”
这个担忧并非没有道理。毕竟,美邦曾高调推出“ME&CITY”高端品牌来另起炉灶,但实力跟不上野心,牌子还是做糊了。
时尚日新月异,年轻人喜新厌旧的速度只会越来越快。美特斯邦威却还停留在远去的青春回忆中,雁过虽留痕,却也只剩昨日辉煌,现实总是冰冷而残酷。
眼看他起高楼,眼看他楼塌了。试图重塑品牌的美邦依然动作频频,只是市场和消费者们,还会给它机会吗?
参考资料:
1.谷仓新国货研究院《三年亏损超21亿,市值蒸发近九成,美特斯邦威怎么了?》
2.琥珀消研社《从国货之光到卖房自救,美特斯邦威已无路可走?》


评论