文|WEMONEY研究室 刘双霞
8月31日,上市银行中期业绩披露落下帷幕,17家A股上市城商行上半年业绩也浮出水面。
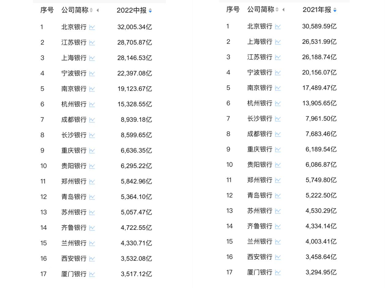
今年上半年,城商行领头羊仍为北京银行,其凭借3.2万亿元的资产总额,稳坐国内城商行头把交椅。
不过,值得关注的是,上半年,江苏银行强势崛起,资产规模赶超上海银行,跃居城商行第二位。同时,其营收、净利润水平居17家银行首位,净利润同比增长超3成。
在17家A股上市城商行中,8家银行营收保持两位数增长,9家银行净利润同比实现两位数增长。
与此同时,西安银行、兰州银行上半年营收同比减少,西安银行、贵阳银行净利润同比减少。西安银行也成为17家银行中唯一一家营收、净利润双降的银行。

01 上海银行规模不敌江苏银行,滑落至第三位
第一梯队中,当之无愧的城商行“四大天王”分别是:北京银行、江苏银行、上海银行和宁波银行。这四家城商行总资产规模均超过2万亿元,其中,北京银行总资产规模超3万亿元。
截至今年6月末,北京银行仍稳居资产规模最大的城商行。截至6月末,北京银行资产总额3.2万亿元,较年初增长4.63%。
值得关注的是,相较于2021年末的总资产规模,江苏银行已赶超上海银行,跃居第二大城商行。

截至2022年6月末,上海银行资产总额2.81万亿元,较上年末增长6.09%。截至2022年6月末,江苏银行资产总额为2.87万亿元,较上年末增长9.61%。
此外,在“四大天王”中,宁波银行总资产增幅最大。截至今年6月末,宁波银行资产总额2.24万亿元,比年初增长11.12%。
二季度末,总资产规模排在第5到第10位的A股上市城商行依次为:南京银行、杭州银行、成都银行、长沙银行、重庆银行、贵阳银行。
其中,南京银行、杭州银行总资产规模在万亿水平,南京银行总资产逼近2万亿元。
而相较2021年末数据来看,成都银行排名赶超长沙银行。截至今年6月末,成都银行总资产达到8939.18亿元,较上年末增长1255.71亿元,增幅16.34%。截至6月末,长沙银行资产总额近8600亿元,达8599.65亿元,在上年末的基础上增长8.02%。
排在第三梯队的城商行依次为郑州银行、青岛银行、苏州银行、齐鲁银行、兰州银行、西安银行、厦门银行。这一梯队的城商行上半年总资产稳步增长,排名相较2021年末未出现变化。
02 江苏银行成为“盈利王”,西安银行营收净利双降
银行的资产排名和盈利能力并不能画上等号。上半年,江苏银行无论是营收水平还是净利润水平均赶超规模最大的城商行北京银行。上半年,江苏银行净利润同比增长超3成,保持了高增长性。

今年上半年,营收排名前四位的依次为江苏银行、北京银行、宁波银行、上海银行。上半年营业收入分别为351.07亿元、339.43亿元、294.12亿元、279.42亿元。
从营收增速来看,宁波银行、江苏银行同比增长超两位数,分别为17.56%、14.22%。北京银行上半年营收同比增长为1.71%,上海银行营收增长不足1%,为0.86%。
在17家A股上市城商行中,8家城商行营收保持两位数增长。其中,齐鲁银行营收同比增长达19.08%,此后依次为厦门银行18.17%、宁波银行17.56%、成都银行17.02%、青岛银行16.56%、杭州银行16.31%、南京银行16.28%、江苏银行14.22%。
值得关注的是,今年上半年,重庆银行、西安银行、兰州银行三家银行营收同比减少。
上半年,重庆银行实现营业收入67.67亿元,降幅为6.97%。从营收结构看,重庆银行利息净收入为53.55亿,同比减少4.31%;手续费及佣金净收入为4.12亿,同比减少3.75%。
此外,西安银行、兰州银行上半年营收分别减少8.48%、2.99%。
从净利润数据来看,上半年,在17家A股上市城商行中,有9家银行净利润同比实现两位数增长,其中,江苏银行、杭州银行、成都银行三家增长超30%,苏州银行增长超20%。

具体来看,上半年,江苏银行净利润为138.49亿元,同比增长31.79%。净利润总额和同比增速均排在首位。杭州银行、成都银行净利润同比增长也超过30%,分别为31.67%、31.47%。
此外,还有6家城商行上半年净利润同比实现两位数增长,分别为苏州银行22.41%、南京银行19.7%、齐鲁银行18.01%、宁波银行17.99%、厦门银行16.11%,青岛银行12.4%。
另外,也有6家银行上半年净利润保持个位数增长。具体为兰州银行9.74%、北京银行7.6%、重庆银行5.18%、长沙银行4.07%、郑州银行3.63%、上海银行3.22%。
值得关注的是,西安银行、贵阳银行上半年净利润同比减少,其中,西安银行同比减少13.42%。
西安银行也成为17家银行中唯一一家营收、净利润双降的银行。



评论