文|猎云网 盛佳莹
上市一个月不到,股价下滑严重的趣睡科技再次面临经营难题。
近日,趣睡科技发布了一份核心品牌“8H”商标侵权诉讼事项进展的公告,根据公告显示,趣睡科技收到杭州市中级人民法院送达的民事判决书,被要求立即停止在“8H 官网趣睡科技”、小米商城、京东平台“8H 官方旗舰店”,同时杭州尚境电子科技有限公司立即停止在其运营的天猫平台“8H 旗舰店”等线上渠道销售带有“8H”标识的侵权商品。
对于一家面向C端的家居企业,品牌名“8H”比公司名“趣睡科技”可能名声更响,此次商标侵权案一审判决落地,若趣睡科技不上诉或上诉失败,意味着其将不能再使用已经打出名气的“8H”,这对于上市一个月不到的趣睡科技来说,无疑是一记重锤。
“8H”对于趣睡科技而言有多重要?
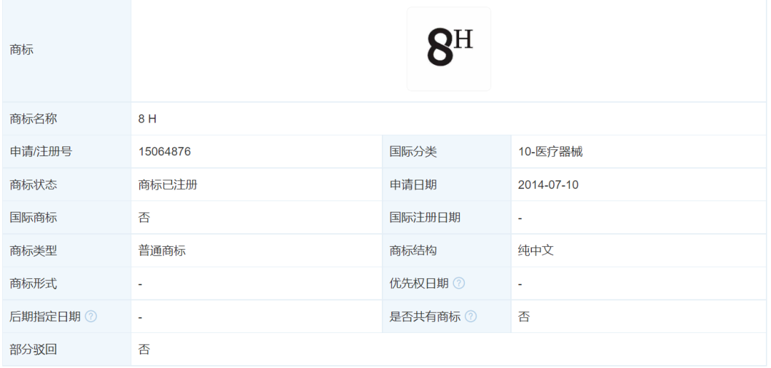
根据天眼查显示,豪中豪早在2014年7月10日就已申请注册“8H”商标,国际分类为“10-医疗器械”。

来源:天眼查
趣睡科技则成立于2014年10月22日,最早是在2015年8月30日申请“8H”商标,但并未成功。

来源:天眼查
此后,趣睡科技又相继申请了多个不同国际分类的“8H”商标。
2021 年 7 月,浙江豪中豪健康产品有限公司(以下简称“豪中豪”)以趣睡科技侵害其商标权为由将趣睡科技、杭州尚境电子科技有限公司作为被告,向浙江省杭州市中级人民法院提起诉讼。
该案件于2022年3月21日开庭审理,彼时,尚未作出一审判决。
在此期间,趣睡科技正在冲刺创业板IPO。在其招股书中,也坦言此次诉讼案存在对其发展的风险,趣睡科技表示:“如发行人在上述商标侵权诉讼及商标被申请无效行政诉讼中败诉,发行人存在被认定为侵权以及承担赔偿责任等的风险。”
风险提示一语成谶。
根据公告显示,按照一审判决,趣睡科技将立即停止销售各个渠道中带有“8H”标识的侵权商品;并且在被判决生效之日起三十日内在其“8H 官网趣睡科技”首页刊登声明,就其实施的涉案商标侵权行为消除影响,刊登时间不少于三天,在被判决生效之日起十日内赔偿原告浙江豪中豪健康产品有限公司经济损失及维权合理费用共计 450,000 元。
“8H”对于趣睡科技而言有多重要?
根据招股书显示,趣睡科技产品主要包括家具、家纺两大类别。家具类别主要包括软体家具与木质家具、智能家居,其中软体家具包括床垫、沙发、软床等产品;木质家具包括实木床、实木茶几、实木组合柜、实木餐桌椅、实木床头柜等产品;智能家居包括智能电动床系列、智能电动沙发等。家纺类别主要包括枕头、被子、床褥、四件套等产品。
这些产品无一例外,全部使用“8H”品牌名,线上销售渠道店铺名称也几乎都使用“8H”。
根据招股书显示,趣睡科技重点经营“8H”自主品牌及相关产品,报告期各期自主品牌产品的销售收入分别为5.27亿元、4.32亿元和 4.18亿元,占当期主营业务收入的比例分别为 95.54%、90.22%和 88.44%。
对于趣睡科技来说,“8H”品牌不仅是核心品牌也是优质并且有知名度的品牌资源。尤其是近年来,作为一家小米生态链企业,趣睡科技有意减少对米家系列产品的开发和经营力度,转而对8H 自主品牌重点经营。
此前,有业内人士分析指出,对于消费企业而言,未来增长最重要的是形成品牌,提高复购率和用户留存。而对于趣睡科技而言,其主打的“8H”品牌获得了一定的市场知名度。
可见,“8H”对于趣睡科技而言是一张已经打响的名招牌,而要停止使用“8H”,对上市不到一个月的趣睡科技而言无疑是一记重锤。
质疑声不断,股价连跌
除了商标侵权之外,趣睡科技受到的质疑声一直不断。
一直以来,趣睡科技标榜自己的“科技”属性,但趣睡科技的研发费用率却常年在2%以下,更没有一项已获授权的发明专利。
根据招股书数据,截至2021年底,趣睡科技研发人员总数为43人,占员工总数比例仅为27.74%。
在冲刺创业板IPO时,趣睡科技的创业板定位也曾遭到问询,而除此之外,对小米集团的依赖问题更是遭到多次问询。
小米是趣睡科技的天使投资人,作为最早与小米平台合作的品牌方之一,趣睡科技一直通过直接向小米集团销售产品,报告期内,趣睡科技来自小米系列平台的收入分别为 4.18亿元、3.27亿元和 2.9亿元,收入占比分别为75.69%、68.43%和61.41%。
小米不仅为趣睡科技提供了销售渠道,还是趣睡科技的最大客户。报告期内,趣睡科技向前小米集团销售金额占该公司营业收入的比例均在20%以上。
虽然小米从趣睡成立之初就投入资金和资源,但根据招股书显示,雷军的顺为投资在2017年至2019年总共7次转让手中股份,合计13.83%的股权,转让金额达1.9亿元。
而让外界更质疑的是,作为一家家具、家纺企业,趣睡科技甚至连一家工厂都没有,产品全部采用代工生产,这意味着趣睡科技很难把控生产流程,产品便容易出现质量问题。
事实上,趣睡科技的8H床垫就曾出现多起质量问题投诉。
核心产品质量不过硬,也很快体现在了趣睡科技的财务数据上。2019-2021年度,趣睡科技实现营业收入分别为5.52亿元、4.79亿元、4.73亿元,毛利率分别为33.59%、27.89%、27.86%。可以看出,这三年趣睡科技的营收不增反降,毛利率也呈现逐年下降的趋势。
研发不足营收不增反降,遭小米减持,加上品控等诸多问题,趣睡科技上市后的日子也不好过。
8月12日,趣睡科技登陆创业板,首日收盘涨幅达171.04%至101.72元/股,但上市即巅峰,其后,趣睡科技开启滑梯模式,一路连跌。
截至今日发稿前,趣睡科技股价为58.35元/股,股价接近跌去五成。

来源:富途截图
有网友戏称,“买了这家公司股票再也睡不香了。”
而如今核心品牌“8H”商标侵权,对趣睡科技而言更是雪上加霜,至少将进入一段阵痛期。


评论