文 | 一刻商业 栗不旬
编辑 | 周烨
格力的经销商市场,风起云涌。
近期,“格力电器停止对河北经销商供货”的话题登上热搜,这一切发端于格力“老将”徐自发的“倒戈”。
整个事件,要从八月份讲起,2022年8月9日,格力电器河北总经销商——河北新兴格力电器销售有限公司(下称:河北新兴格力)董事长徐自发以股东身份现身飞利浦空调的新品发布会。
随后不久的8月18日,河北新兴格力向格力河北全体经销商发布通知称,因2022年8月16日珠海格力电器突然对河北格力停止发货,现本着对经销商负责的态度,即日起,已投款的经销商请尽快做计划提货,河北公司货源可以保证及时供应。
紧接着8月20日,徐自发在河北石家庄某大型酒店设宴,邀请全省格力主要经销商,正式宣布自己不再经营格力空调,并在宴会上表示,希望经销商们支持他投资的飞利浦。
自此,在格力奋斗了24年之久的老将徐自发与格力电器正式“撕破脸”,格力与经销商之间的尽力维持的平衡,也被打破了。
面对徐自发的倒戈,格力电器也迅速采取了动作——更换经销商、切断售后服务平台、经销商必须在格力与飞利浦之间二选一……
格力采用股份制区域经销模式已有二十余年,但时过境迁,随着线上电商渠道的迅速崛起,格力的线下经销模式已经不再所向披靡,反而成为前行路上的负担。
时代已变,格力亟需改变,于是格力走上了渠道改革之路,采取了加码电商、“铁娘子”董明珠亲自下场做直播等一系列举措。
但渠道改革,对经销商而言则意味着利益的收缩,格力与经销商之间早已暗流涌动,随着格力渠道改革的步伐不断加快,双方矛盾冲突愈演愈烈,徐自发的“倒戈”更是将这场矛盾彻底点燃。
一旦经销商的利益受到更严重的冲击,在徐自发出走之后,难保不会出现其他经销商效仿徐自发的举动,格力将会陷入被围攻的局面,进而影响正常经营。
可想而知,格力渠道改革之路势必不会轻松,如今,格力必须要打一场硬仗了。
1、徐自发出走后,格力强势管控经销商
徐自发这次出走之所以引起这么高的关注度,不仅是因为他在格力体系的工作时间久,更重要的是,他在整个格力的经销商体系中占据着核心位置。
企查查显示,徐自发不仅是格力电器在河北的官方渠道河北格力盛世欣兴贸易有限公司的法定代表人,同时也是格力河北省级代理河北新兴格力的实控人,这两家代表着格力在河北省举足轻重的渠道公司背后都有徐自发的身影。
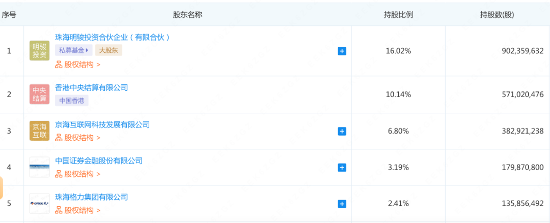
徐自发的影响力远不止局限在河北省。2007年,为深度绑定经销商利益,由10家格力重要经销商组成了河北京海担保投资有限公司(现名“京海互联”),截至今年6月,京海互联仍是格力电器第三大股东。

京海互联受益自然人,图/企查查
而在这10家经销商中,与徐自发关联的河北格力电器营销有限公司持股最多,比例为28%,而这家公司最终实控人为徐伟,据第一财经报道,徐伟正是徐自发的儿子。此外,徐自发本人间接持有京海互联6.7375%的股份。
由此可见,徐自发,在格力电器经销商团队中,乃至对于整个格力电器来说,都有着不小的分量。
徐自发“倒戈”飞利浦,其实早有预兆。据第一财经在2021年11月报道,飞利浦空调中国运营总部背后的投资人是格力空调原河北代理商徐自发。
同时,徐自发一直在减持格力电器的股份。6月24日,格力电器公告称,第三大股东京海互联减持格力电器股份1.1亿股,占格力电器总股本的1.86%,套现规模近35亿元,减持后京海担保持有格力电器股份比例下降至6.47%。
面对徐自发的“出走”,董明珠一如既往地杀伐果断,反应迅速。
格力应对的第一步,便是更换河北经销商。8月22日,格力电器发布授权书,授权珠海桓格数字科技有限公司(简称:珠海桓格 )在河北全渠道使用格力旗下商标。
值得注意的是,企查查显示珠海桓格的大股东是江苏赛夫绿色食品发展有限公司,而后者的定位为品牌全渠道服务商,立足京东,不断开拓天猫、抖音、拼多多、唯品会等传统及新兴电商渠道,同时珠海桓格的董事之一谢帆为京东家电事业部总裁。
格力将河北销售权交给在电商领域积淀已久的企业,不禁让人猜测有主动向电商靠拢之意。
随后,格力开启了全面排查,同样让经销商做出“二选一”的选择。
据新浪科技报道,一位格力空调的经销商表示,8月25日,珠海格力电器总部派人在河北对格力的所有门店进行排查,要求经销商必须在格力与飞利浦之间二选一,如果两个品牌的展台在一起,必须拆除其中一方的展台,如果不拆,格力今后将停止与其合作。
切断原代理的售后服务也是格力空调重掌河北市场的重要一步,9月5日晚间,河北盛世欣兴发布《河北2300万格力消费者告知书》称,其售后服务平台突然被格力电器关闭,已无法再接到派工信息,无法再上门维修。
对于空调业务而言,售后服务带来的利益并不低,甚至比销售新空调要更大。据第一财经报道,格力电器在河北新授权公司珠海桓格从9月1日开始与当地服务网点换签,并于9月6日前完成换签、全面接手售后服务。
一系列“组合拳”下来,格力电器从授权到售后,彻底重新梳理了河北经销商体系,完成大换血。
而徐自发此举,意味着他所代表的传统经销商与格力电器的渠道改革之间,正在进行史无前例的利益博弈,谁输谁赢,直接决定着格力的未来。
2、经销商体系的成就与桎梏
格力早年的崛起,线下经销商体系功不可没。
正如董明珠所说,1997年家电市场打价格战,她一手创造了格力的营销模式。随后推动格力与经销商绑定,形成利益共享。
2007年,格力集团将10%的公司股权转让给由10家格力重要经销商组成的河北京海担保投资有限公司(现名“京海互联”),后者成为了格力电器的第二大股东,由此将省级销售公司、代理商、经销商的三级渠道体系和格力彻底绑定在了一起,成为了一个庞大的利益共同体。

格力电器股东信息,图/企查查
这样的深度绑定模式为格力电器带来的不少助力,让格力登上“空调之王”的宝座,依靠经销商体系,格力能直接触达客户,能更好地提供售前和售后服务,同时将格力电器和经销商的利益绑定在一起,充分调动经销商的积极性。
格力此前在财报中也写道,“通过产权关系有效地将公司与经销商的利益牢牢地捆绑在一起,对公司经营产生了深远的影响。”
与此同时,经销商也是董明珠掌握格力控制权的武器。2012年,格力创始人朱江洪退休,当时珠海国资委作为格力最大的股东,本准备委派新高管来接班,但在股东大会上,京海股份作为中小股东代表力挺董明珠,让董明珠顺利接任格力电器董事长。
只是世易时移,直播成新风口,加上疫情的影响,线下零售业饱受冲击,尤其是空调业务的特殊性需要线下进小区安装,但受到疫情的影响也频频受阻。
多重因素影响下,曾经如鱼得水的线下经销商体系,如今却成了格力的“桎梏”。
董明珠意识到,格力必须要变,于是开始推进渠道改革,开始发力线上。
2020年春节后,董明珠首次公开提出渠道变革,取消各级代理商,由经销商直接向总部打款提货。“董明珠的店”成了格力重要的线上渠道,零售商可以在“董明珠的店”直接下单进货,消费者也可以直接在上面购物。
同时,董明珠开始亲自下场,大搞直播。2020年4月,董明珠开启直播首秀;2020年全年,董明珠也代表格力电器在快手、抖音、京东等平台进行了13场直播,总共创下476.2亿元的销售额,其中,2020年“618”当晚的直播,格力电器的销售额破了百亿元。
而2020年全年,格力的总营收为1704.97亿元,这也意味着,董明珠线上13场直播占据了格力全年收入的近四分之一。
渠道改革的成效,正在逐步显现。格力电器核心业务——空调业务,2019年格力空调线上销售占总销量的比例为10.87%,2021年这一数字上升至17%以上。
线上渠道的欣欣向荣,对线下经销商们的冲击是相当直观的。由于格力直播间的价格非常低。为了清库存,一些经销商不得不降价卖才有竞争力,由此导致利润越来越低。
徐自发公开倒戈后,很难确保其他经销商会不会效仿做出同样的事情。据河北新闻网报道,一位经销商表示,现在一天可以接到几十个电话,目前接到的电话主要是两类:一个是竞品同行,询问有没有意向转做其他品牌;一个是线上渠道电商来谈合作。
一旦大量经销商群起“倒戈”,格力就会被陷入被围攻的局面,可以预见,格力的终端销售也将因此受到影响。
渠道改革至今,格力与经销商之间的矛盾已彻底激化,但显然,一直以来高度依赖经销商体系的格力短时间内不可能直接放弃它,否则售前售后业务链断裂,别说重回“空调之王”的宝座,连正常经营或许都成问题。
3、铁娘子,不会受制于人
董明珠,真的会被经销商牵制住吗?
从董明珠的职业逆袭道路到她上综艺呈现在大众眼中的形象,董明珠一直是一位个性强硬、雷厉风行的“铁娘子”。
此前,董明珠曾公开表示,不希望自己受制于人,更希望能够改变别人。
“不受制于人”也一直是董明珠的管理思路,不管是在线下渠道受阻时果断开启渠道改革,还是在经销商倒戈后的一系列举动,都能看出董明珠的杀伐决断。
当下,线上销售已是大势所趋,如果格力仍死守线下单一的经销商体系,将来势必会被市场所淘汰。所以,为了重拾空调终端市场份额的优势,格力的渠道改革势在必行。
在2021年年度格力电器股东大会上,董明珠说道:“1997年家电市场打价格战,我一手创造了格力的营销模式,20多年来几乎没什么变革,但现在疫情加速了线上模式的发展,在这个背景下,格力的营销模式需要改革。”
其实,与其他竞争对手相比,格力的渠道改革脚步已经慢了一拍。
以美的为例,2014年,美的成立集团电商子公司加码线上销售,2017年起美的进一步推动渠道扁平化,这样的结果是,即使受到疫情的冲击,美的也能实现逆势增长。
在大势所趋之下,格力电器没有退路,线下经销商体系的安抚是当前的重中之重,线上电商直播也是格力渠道改革的重要一环。
从线下来看,格力似乎已经找到了经销商利润变薄的解决之法。在近期召开的全国经销商新冷年订货会上,方详建对针对2023年新冷年政策给经销商吃了颗定心丸,承诺对于部分线上不力的区域经销商滞销产品予以成本价兜底收回,并且告知收回的流程和满足条件。方祥建正是现任珠海格力电器股份有限公司副总裁。
但在线上,不得不承认的是,董明珠直播带货的声量已不似从前。

明珠羽童精选抖音账号,图/抖音App
目前,明珠羽童精选、明珠羽童空调直播间、明珠羽童冰洗直播间三个抖音账号累计粉丝数为300万,同是转型直播的东方甄选的主账号的粉丝数已过2400万,不在同一量级之上。
据IT时报报道,今年618当天,董明珠就连续直播到了晚上12点,换来的成绩是618期间,格力抖音直播矩阵销售额突破4000万元,尚不及东方甄选直播间最火热时的单日销售额,毕竟农产品的客单价远低于家电。
这背后,是格力改革必须要经历的阵痛。因此,当前梳理如何持续做好直播带货,成为格力渠道变革以及未来发展的关键。
格力的渠道改革正迈入深水区,新策略能否稳住线下经销商队伍尚未可知,线上直播渠道仍未独当一面,董明珠面对的不仅是一场硬战,更是一场持久战。


评论