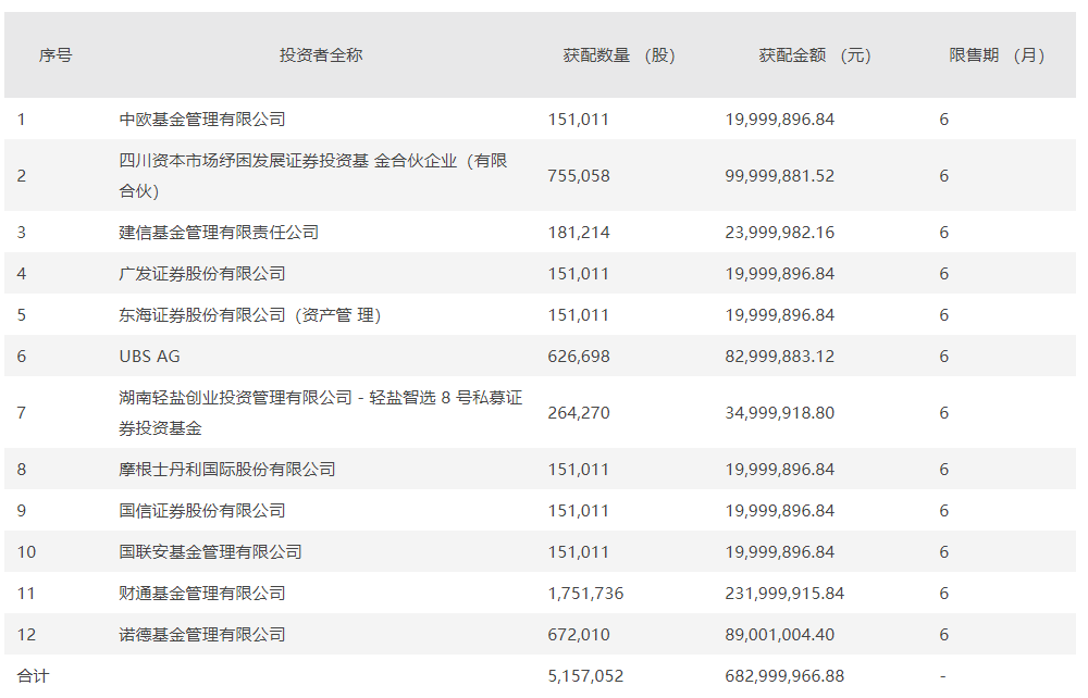
瑞可达9月14日公布2022年度向特定对象发行A股股票发行情况报告书,此次发行价格为132.44元/股,发行股数515.7052万股,募集资金总额6.83亿元。此次发行对象最终确定为12家,四川资本市场纾困发展证券投资基金、中欧基金、建信基金、摩根士丹利等参投。

来源:界面新闻
瑞可达9月14日公布2022年度向特定对象发行A股股票发行情况报告书,此次发行价格为132.44元/股,发行股数515.7052万股,募集资金总额6.83亿元。此次发行对象最终确定为12家,四川资本市场纾困发展证券投资基金、中欧基金、建信基金、摩根士丹利等参投。

评论