文 | 张颗
国家外汇管理局重庆外汇管理部公布了两张罚单,涉及浦发银行重庆分行和浙商银行重庆分行。
浦发银行重庆分行被罚没62.74万
据国家外汇管理局重庆外汇管理部公布的行政处罚信息显示,上海浦东发展银行股份有限公司重庆分行(简称浦发银行重庆分行)因办理经常项目资金收付,未对交易单证的真实性及其与外汇收支的一致性进行合理审查,违反了《中华人民共和国外汇管理条例》(中华人民共和国国务院令第532号)第十二条、《货物贸易外汇管理指引》(汇发〔2012〕38号文印发)第四条。
对此,国家外汇管理局重庆外汇管理部罚款对浦发银行重庆分行处以罚款50万元人民币,没收违法所得12.74万元人民币。
据悉,《中华人民共和国外汇管理条例》(中华人民共和国国务院令2008年第532号)第四十七条:金融机构有下列情形之一的,由外汇管理机关责令限期改正,没收违法所得,并处20万元以上100万元以下的罚款;情节严重或者逾期不改正的,由外汇管理机关责令停止经营相关业务:
(一)办理经常项目资金收付,未对交易单证的真实性及其与外汇收支的一致性进行合理审查的;
(二)违反规定办理资本项目资金收付的;
(三)违反规定办理结汇、售汇业务的;
(四)违反外汇业务综合头寸管理的;
(五)违反外汇市场交易管理的。
天眼查APP显示,浦发银行重庆分行成立于1998年6月,是1997年之后首家入渝的股份制商业银行。行政处罚一栏显示,近几年浦发银行重庆分行都因违反各类条例而被处罚,其中2018年被罚3次,次数最多。
风险方面,该分行有天眼风险信息52192条;还发现企业有法律诉讼5835条,涉案总金额28.1800253792亿元;涉诉关系6703条,开庭公告7371条, 立案信息4194条。
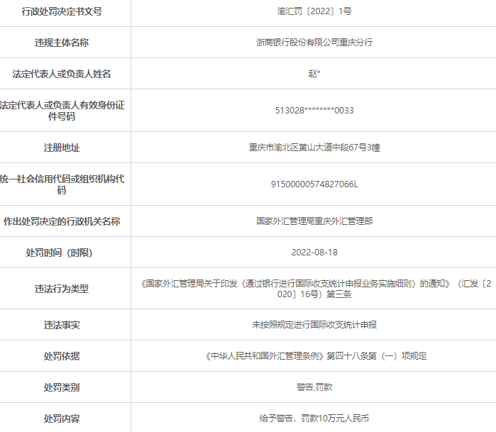
浙商银行重庆分行被罚10万元
另外就在同日,浙商银行重庆分行因未按照规定进行国际收支统计申报,违反《国家外汇管理局关于印发〈通过银行进行国际收支统计申报业务实施细则〉的通知》(汇发〔2020〕16号)第三条被国家外汇管理局重庆外汇管理部给予警告,并罚款10万元人民币。
天眼查APP显示,浙商银行重庆分行成立于2011年,是一家以从事货币金融服务为主的企业。风险方面共发现该分行有天眼风险信息7345条;还发现企业有法律诉讼1081条,涉案总金额11.9001425876亿元;涉诉关系1276条,开庭公告1382条,立案信息798条。浙商银行重庆分行的处罚集中在外汇方面,2020-2022年,浙商银行重庆分行都曾被国家外汇管理局重庆外汇管理部处罚过。


评论