文 | 智东西 云鹏
编辑 | 心缘
不可否认,不管你喜不喜欢苹果的“灵动岛”设计,它的确将大众的视线重新拉回到了本已“略显乏味”的手机屏幕上。
苹果用有些出人意料的软件设计,硬是把屏幕上的一颗原本“平庸”的开孔给盘活了。
看回手机屏幕本身,不论是120Hz高刷新率、屏下摄像还是折叠屏,虽然近几年手机厂商们和供应链企业一起,在手机屏幕上玩出了不少新花样,带来了一些新技术,但这些“卖点”现在似乎都已归于平静,成为新常态。
而伴随着这些新技术快速成长起来的手机AMOLED屏幕产业,在整个消费电子产业遭遇严冬的当下,也陷入了产能过剩、利润下降的困境,行业龙头们纷纷开始调低出货预期。
2021年,苹果、三星、小米、OPPO、vivo、荣耀,几乎所有手机厂商的旗舰手机都用上了高端AMOLED屏幕,AMOLED在智能手机中的渗透率超过三分之一。国产屏幕厂商也抓住机遇,依靠本土市场的旺盛需求、自身的价格优势等因素,逐渐缩小与韩国巨头之间的技术、产能差距。
但即使是这样曾被热捧的AMOLED技术,如今也成了“烫手的山芋”,甚至“卖不上价”。亮眼的创新难以寻觅、高企的产能也让屏厂们无心他顾,手机屏幕这条赛道,真的玩到头了吗?厂商们要如何寻找新的增长点,这里还有新的故事可以讲吗?
接下来,在一块小小的手机屏幕上,我们还能期待什么呢?
01.手机AMOLED失宠2022
今天,我们能看到越来越多的安卓手机都用上了国产AMOLED屏幕,其中以京东方和TCL华星为两大最主要供应商。
AMOLED属于OLED的一种,相比传统LCD屏幕显示效果更好、功耗也更低,近两年几乎成为了高端旗舰智能手机的标配。
而就在前不久,国内OLED一哥京东方突然大幅下调柔性OLED屏幕出货目标,从1亿片下调至8000万片,降幅约20%。
此前京东方已经打入苹果iPhone 14屏幕供应链,此次的调整,不知是否与iPhone 14标准版销量不及预期有关,iPhone 14 Pro系列屏幕由三星独家供应,京东方并没能从中分得一杯羹。

▲▲iPhone 14和iPhone 14 Plus
在与业内人士的交流中我们得知,虽然我们表面上看,越来越多的厂商采用了国产OLED屏幕,但实际上目前手机AMOLED领域存在比较明显的“压价”情况,屏幕厂商们“并不赚钱”。
当然,客观来说,赚钱是一定的,只是赚多赚少的问题。
为什么会被“压价”?我们很自然地就会联想到供求关系出了问题,事实也的确如此。
实际上,仅今年上半年,全球智能手机AMOLED屏幕出货量就同比下滑了10.5%以上,出货量约为2.78亿片。
手机行业销量遇冷,如今已成为常态,即使苹果、华为的两款重磅旗舰手机发布,也只是在平静的湖面上激起了水花,但难以形成改变流向的波澜。
值得一提的是,此前华为曾是国产屏幕厂商重要的AMOLED屏幕客户,华为这一大客户如今手机业务的势微,造成了很大一块“订单缺口”。
另一方面,OLED一直是各家屏厂重点推进的技术方向,近年来产线都在快速扩张,以提升产能,突然遇到需求骤降,产能过剩已是必然。
“原来的客户没有了,自然就会有拓展新客户的需求,而遇上产能过剩,需求不足,被终端厂商压价是必然的。”一位接近屏幕厂商人士告诉智东西。
那么今天,OLED产能到底有多少?根据公开数据,全球AMOLED的月产能大约在168万片,如果简单地统一按照6代线每片切割约200块6.7英寸手机屏幕来计算,每月全球可以生产约3.36亿块手机AMOLED屏幕。
今年二季度,全球智能手机出货量仅约为2.87亿部,也就是说,开足马力一个月生产的屏幕,全球手机市场三个月都可能消化不完,供求比大约为3.5:1。

▲全球AMOLED产线(已建及拟建),来源:国元证券
虽然这样的计算略显粗糙,但可以很直观的看到,AMOLED产能,是真的过剩了。
一位业内人士告诉智东西,今年国内厂商擅长的大尺寸LCD行业不景气,OLED又面临“滞销”,双重作用下,屏厂们下个季度的财报可能不会太好看。
02.OLED没得玩了?苹果给你创造新赛点
面对国内屏幕产业当下的困境,供应链厂商和终端厂商们都在积极寻找新的机会点。
既然手机上这种“小屏”玩不转了,不少厂商将目光投向了中、大尺寸的OLED产品,比如平板、笔记本电脑、显示器等。
屏厂们通常将这类OLED产品称为“IT OLED”。
为什么会对这类OLED屏幕感兴趣,核心是因为有潜在大客户要用了,这位大客户不是别人,正是科技巨头苹果。
从Omdia预测的一份苹果OLED屏幕迭代路线图中我们可以看到,未来苹果的iPad、MacBook、iMac三条极为重要的产品线,都将会逐渐采用OLED屏幕。

▲苹果IT OLED面板路线图(Omdia预测)
去年三季度,苹果卖出了782万台Mac电脑和1470万台iPad,这样的规模是不容小觑的。
而之所以说是“潜在”客户,是因为苹果是不是要用、具体什么时候用、要用谁家的屏,仍然要看具体的技术成熟度以及产能情况。
目前从韩国的传统OLED巨头三星、LG,到国内的京东方、TCL华星、维信诺、天马,都在积极推进相关技术的布局。
OLED屏幕在手机中应用了很多年,但在平板、电脑、显示器等中尺寸领域应用却并不常见,一方面,这些设备往往针对生产力场景,对于OLED技术有新的要求和考验。
OLED屏幕的寿命能否保证、是否能够解决“烧屏”问题,抑或是在材料、成本良率等方面达到新的标准,都是OLED技术面临的挑战。
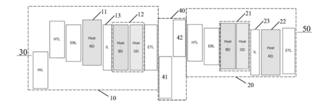
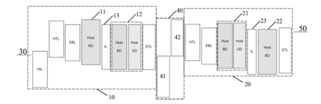
双层串联OLED技术,是大部分主流厂商选择的研发方向,简单来说,“双层串联”就是通过采用两层OLED发光材料,让屏幕的亮度更高、寿命更长,同时相同亮度下又能保证更低的功耗。
听起来简单,但实际实现起来,还有屏幕结构设计、电路、驱动芯片、量产工艺、良率等诸多方面存在困难需要解决。

▲ 双层OLED显示单元层级结构示意图
根据业内信息,苹果设计了双层串联OLED屏幕的驱动芯片、OLED结构和线路,交给三星和LG研发量产技术。业内普遍预测,2024年前后我们就能看到苹果采用OLED屏幕的iPad、MacBook等产品上市。
据悉,三星和LG都已经开始了相关技术的研发,而国内这边,已经打入苹果供应链的京东方也在研发相关技术,目前已经进入量产阶段,根据京东方财报,这种“双堆叠串联”OLED结构能够让屏幕亮度增加一倍,产品寿命延长四倍,用于智能手机,可降低30%左右的耗电量。
能够看到,在OLED一些细分新兴领域,国内厂商相较于三星、LG等行业龙头已经在研发进度上基本追平。
不论双层串联OLED技术是否会在消费电子产品的屏幕领域掀起一场新的革命,有一点很明确,OLED技术能够继续挖掘的方向还有很多。
03.手机方寸屏幕之间 我们还能期待什么?
全球OLED下游应用中,智能手机的占比接近九成,可以说,AMOLED屏幕在智能手机上的广泛使用,带动了整个OLED产业的发展。
而在智能手机深陷疲态的今天,OLED技术的渗透重点逐渐开始转向中、大尺寸,向平板、电脑、电视等领域转移。
那么在手机这一块小小的屏幕上,我们是否还能期待新的颠覆性体验?
在与多位业内人士交流后我们发现,虽然机会仍然存在,但想要颠覆性的视觉体验,或许目光已经不能局限于一部手机了。
先说机会。很显然,前几年火爆一时的屏下摄像技术,仍然不够成熟,虽然三星、小米、中兴都推出了多代屏下摄像手机,但拍照效果,仍然不尽人意。
各家厂商在屏幕材料、结构、电路设计等方面做出多轮迭代后,屏幕“透光率低”的问题依然没有实质性解决。
一位从事3D视觉行业人士告诉智东西,苹果并没有急于在iPhone中应用屏下摄像技术,与其拍照效果并不令人满意有不小的关系,对于苹果来说,完善的体验比看起来有新意的“卖点”要更重要。

▲苹果iPhone屏幕形态路线图预测,作者:Ross Young
除了让屏幕更“好看”,让屏幕更健康、更环保也是厂商们优化的重点方向,比如如何通过PWM高频调光,让屏幕可以更加护眼。
提到环保,各类“节能”技术,也成为屏幕领域的一大新看点,未来消费电子产品零部件小型化、轻薄化、低功耗化已是发展的必然趋势。
在三星最新折叠屏旗舰手机Galaxy Z Fold4上,有一项被许多人忽视的“黑科技”,三星将其命名为Eco2 OLED Plus技术。

简单来说,这项技术利用新的彩膜材料来代替OLED屏幕中关键的偏光片,让屏幕的光线透过率达到了68%,而屏幕功耗仅为普通OLED屏幕不到一半。
国内这边也有厂商在研发类似技术,比如天马的CFOT技术,其原理也是利用CFOT来代替OLED中偏光片,使光线的透过率提升达到30%,而面板功耗则降低25%以上。
总体来看,手机屏幕领域仍然有一些技术有待打磨成熟,但想要颠覆性的视觉交互体验,我们的目光或许要从手机这个“平面世界”来到“3D世界”了,没错,就是元宇宙。
就在近日,根据业内信息,苹果要求韩国三星和LG开发新的用于VR/AR产品的硅基OLED屏幕,而这中硅基OLED的屏幕像素密度达到了惊人的3500PPI。

▲硅基OLED屏幕结构示意图,来源:LG
要知道,目前主流的27英寸4K显示器,其像素密度不过163PPI。
一位韩国零部件行业负责人称,苹果希望开发一种能给人带来“视觉错觉沉浸感”的技术,简单理解就是让虚拟世界看起来更真实。
此前郭明祺曾曝料称,苹果首款MR头显上的OLED屏幕将由索尼独家供应,此次苹果引入三星、LG另外两大巨头,无形中也给索尼增加了压力。
苹果iPhone X曾开启了主流智能手机的“OLED时代”,而五年后,苹果能否用一款惊艳的产品杀入元宇宙时代,带动屏幕产业向下一个关键节点迈进,答案已经离我们不远了。
04.结语:一块屏的故事还远没有讲完
尺寸不断增加、像素不断提升、刷新率从60Hz提升至165Hz,屏下摄像、柔性、LTPO各类新技术不断,短短几年间,手机AMOLED屏幕从野蛮生长走到今天的“瓶颈期”,而突破瓶颈或许就会迎来新的开始。
都说互联网要从二维转到三维,如今各大屏幕厂商也在积极研究应用于各类AR、VR产品中的显示屏,或许屏幕大战的焦点,也即将从手机互联网时代走向元宇宙时代。


评论