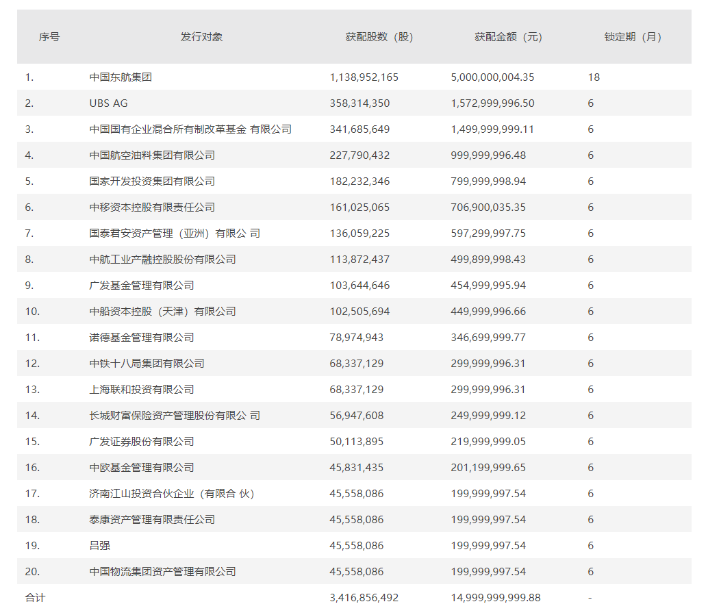
中国东航1月6日发布非公开发行股票发行情况报告书,本次非公开发行的股票数量为34.17亿股,发行对象为中国东航集团、UBS AG等共20家。本次非公开发行股票募集资金总额为150亿元,扣除发行费用后的募集资金净额将用于引进38架飞机项目及补充流动资金。

来源:界面新闻
中国东航1月6日发布非公开发行股票发行情况报告书,本次非公开发行的股票数量为34.17亿股,发行对象为中国东航集团、UBS AG等共20家。本次非公开发行股票募集资金总额为150亿元,扣除发行费用后的募集资金净额将用于引进38架飞机项目及补充流动资金。

评论