文|化妆品财经在线CBO
近日,东阿阿胶股份有限公司申报的驴油(国妆原备字20230001)、驴乳粉(国妆原备字20220040)2款化妆品新原料均获得国家药品监督管理局备案。

01 驴浑身是宝?为美妆带来新原料
阿胶是经漂泡去毛后的驴皮熬制而成的胶块,由骨胶原组成,经水解后得到多种氨基酸。东阿阿胶从动物原料入手,注册的两款化妆品新原料皆由驴身上提取的生物成分制成。
国家药监局官网资料显示,驴油是一种来源于驴脂肪(驴板油)的动物原料,通过将原料粉碎、负压提炼,再进行油渣分离并过滤,罐装并检验后即可制成成品入库,性状为浅黄色油状液体,具有驴油固有的气味。
驴油可以作为保湿剂应用于各类肤用化妆品,安全使用量为:躯干部位产品不超过8%,面部产品不超过41%,手部产品不超过30%,唇部产品无用量限制。
驴乳粉则是由生驴乳经低温浓缩、均质巴氏杀菌后,再通过冻干工艺制成的一种奶基动物原料,通常为乳白色或微黄色的干燥均匀粉末,具有纯正的乳香味。驴乳粉可作为收敛剂应用于各类肤用化妆品,安全使用量最多不超过46%。
东阿阿胶从自身核心产品出发,借助阿胶的文化历史价值及社会认知度,从驴身上寻找价值延伸,向化妆品领域发起进攻。
02 多次涉足美妆,屡屡受挫不放弃
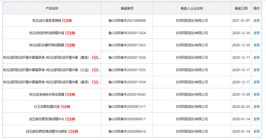
东阿阿胶拓展化妆品领域市场的意图由来已久。国家知识产权局商标局官网显示,东阿阿胶股份有限公司注册的日化用品类商标多达90个,包括“桃花润”、“桃花姬”、“润玉颜”、“胶城”、“真颜CHINELLE”、“黛娇颜”等诸多具有东方特色的商标。
查询国产普通化妆品备案信息,2020年时东阿阿胶就以“润玉颜”、“似玉”的品牌名注册了精华液、乳液、面膜等多个产品备案,2021年以“桃花润”注册了眼霜、护手霜、精华、唇膏等产品,但目前都已被注销。


在东阿阿胶2021年的某场股东大会上,东阿阿胶旗下首个独立美妆品牌“桃花润”携“臻润”系列护肤品登场,采用“桃花”做包装元素,打造专属桃花香型,并添加多效桃花提取物,以“开启中式护肤新哲学”的宣传口号,旨在扩充公司在美妆领域的产品线布局,推动公司在美妆市场发展。

虽然东阿阿胶意图通过打造“桃花润”这一新国货美妆品牌,满足多元化市场需求,拓展公司竞争力,但事与愿违,“桃花润”没能成功带领东阿阿胶在美妆行业突围,最终只是昙花一现。
沉寂一段时间后,2023新年伊始,东阿阿胶拿下两个化妆品新原料备案,似乎打算重整士气再战美妆。
03 中药跨界美妆,有优势也有劣势
中药企业推出美妆已不新鲜,同仁堂、白云山、华润三九、马应龙、云南白药等一众老字号陆续涉足美妆。片仔癀更是带给美妆行业带来不小的惊喜,片仔癀化妆品业绩持续增长。
2020年,东阿阿胶启动了数字化转型,提高产品、研发和运营差异化,通过线上销售带动线下传统库存优化,建立了新的增长逻辑。2020年年报中,东阿阿胶提出了“东阿阿胶生活化”的新目标,桃花润的推出便是这一战略走向现实的重要一步。
无独有偶,去年年底,厦门市燕之屋丝浓食品有限公司也从自身特色出发,备案了化妆品原料“燕窝肽”,可以做皮肤保护剂和抗氧化剂。
将中药成分和养生概念引入护肤品通常是中医药企业入局美妆的重要切入点,也是与传统美妆品牌打出差异化的优势手段。药企以自身原有的知名度和医药背景,可以为美妆产品带来强有力的背书,但这并不足以证明药企做美妆是一件轻松事。
身为“局外人”,药企想要成功入局陌生的美妆领域,在品牌打造、市场营销和销售渠道方面还有许多要克服的困难,医药领域有用的思维在美妆领域不一定行得通。


评论