文|青眼
日前,广州市市场监督管理局发布了关于注销《化妆品生产许可证》的通告,共7家化妆品企业化妆品生产许可证被注销。
青眼发现,曾在化妆品行业“名噪一时”的广州多美生物科技有限公司(下称:多美生物)也同样出现在名单中。无疑,这些工厂销证再度印证行业赚快钱时代结束。
转让?这家网红工厂销证
根据广州市市场监督管理局发布的通告,多美生物系主动注销化妆品生产许可证,其许可证号为“粤妆20180067”。

截自广州市市场监督管理局官网
众所周知,2015年底国家药监局发布了“两证合一”的新规,《化妆品生产许可证》也自2016年起正式开始使用,有效期为5年。也正是因此,化妆品行业从2021年开始就掀起了第一波“换证潮”。
根据《化妆品生产许可工作规范》规定,化妆品生产许可证有效期届满,企业继续生产的,应当在生产许可证有效期届满3个月前向原许可机关提出延续申请。逾期提出延续申请或申请不予批准的,《化妆品生产许可证》自有效期届满之日起失效。
那么,多美生物注销化妆品生产许可证,到底是因为到期换证注销?还是工厂不做了?
根据上述信息,青眼在国家药监局官网检索发现,多美生物化妆品生产许可证发证日期是2021年10月11日,有效期则是2023年6月21日。但在2022年12月30日,多美生物化妆品生产许可证已显示注销,距离有效期仍有半年之久。

截自国家药品监督管理局官网
青眼了解到,多美生物曾是化妆品行业上游企业中的“网红工厂”,并以“今日下单,明日出货”为口号在行业内进行过广泛的宣传。
有公开报道显示,多美生物成立于2017年,主营化妆品OEM/ODM/OBM业务。据悉,该企业成立之初就以“智能工厂”作为标签,到2019年,多美生物还曾表示,其已投入2.5亿购买多功能设备、创办智能化车间、建设云仓等配置,以实现智能化工厂建设。
在2019年8月,多美生物还曾公开表示,其在海外投资的第一家工厂——多美澳洲智能工厂正式建成投产。
也有报道称,多美生物合作的多个品牌销售过亿。相关负责人也曾扬言,2020年,多美生物在电商渠道要冲10个亿。
从上述信息不难发现,多美生物在企业规模、资金实力等方面不容小觑。那为何多美生物会主动注销生产许可证?
今日,青眼尝试联系多美生物公司进一步了解详情,但截至发稿未获回复。一位曾担任多美生物重要职务的知情人士向青眼透露,“多美工厂很早就转让了,大概是两年前的事。”
不过,青眼在国产普通化妆品备案平台搜索发现,2022年6月,多美生物仍有产品备案。

截自国家药品监督管理局官网
曾深陷舆论危机
“2020年前多美生物在行业的动作还挺多的,但是这两年没怎么听说过它们的消息了。”针对多美生物的主动销证,一位曾与多美生物合作过的行业人士告诉青眼。
青眼调查发现,多美生物官方微信公众号已于2020年7月停更至今。而自2019年起,多美生物便数次陷入舆论危机,被指涉嫌虚假宣传、公司现金流出现问题等。
比如多美生物在企业宣传册中表示,其可生产具有美白、抗皱、紧致等功效的化妆品。但有报道指出,多美生物并无特殊化妆品注册信息,因此认定其有关“美白”功效的产品宣传涉嫌虚假广告。
今日,青眼在国家药监局官网检索发现,截至2023年2月7日,多美生物并无国产特殊化妆品的注册信息。

截自国家药品监督管理局官网
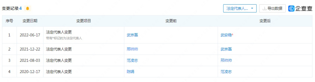
另从2020年至今,多美生物的法定代表人经历了四次变更,从最初的陈娟变更至当前的武安稳。

截自企查查官网
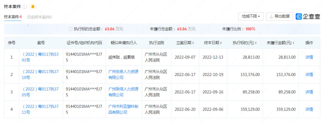
除了法定代表人的频繁更换,据企查查显示,多美生物更是自2022年8月起,因未按期履行给付义务,4次被广东省广州市从化区人民法院发布了“限制消费令”,公司法定代表人武安稳同样被“限制高消费”,涉案金额共计63.06万元。
随后,广州市从化区人民法院又对上述4起执行案件做出了终本处理。据青眼了解,终本案件一般是指“对确无财产可供执行的案件,法院将暂时终结执行程序并做结案处理,待发现财产后继续恢复执行”。

截自企查查官网
关联公司曾被罚419万,赚快钱时代结束了
事实上,不只是多美生物本身,与之关联的广州昕美化妆品有限公司(下称:昕美公司)一样麻烦不断。据企查查,昕美公司与多美生物拥有同一法定代表人武安稳,并且多美生物备案生产Mergian品牌的第3类商标权所属公司即是昕美公司。
据公开信息,2022年9月,国家税务总局广州市税务局第一稽查局对昕美公司做出了一则处罚决定。据处罚决定书显示,2017年以来,昕美公司经历了数次股权变更,但未按规定代扣代缴转让人财产转让所得个人所得税,因而被依法处以了419万元的罚款。
2022年10月21日,因无法通过登记的住所或者经营场所联系,昕美公司已被广州市市场监督管理局列为“经营异常”。
从曾经“网红工厂”到注销化妆品生产许可证,关联公司经营异常,多美生物疫情3年的经历,将“行业大洗牌”展现得淋漓尽致。
结合此次还有6家化妆品企业也注销许可证,近两年相继有工厂倒下、品牌消失,以及大量企业因为生产经营不规范,虚假宣传被处罚,无不说明行业监管缩紧,门槛提高,赚快钱的时代一去不返。
这也意味着,只有以合法合规为前提,同时不忘修炼内功,深耕产品研发与创新创造,才能拥有穿越周期的底气。


评论