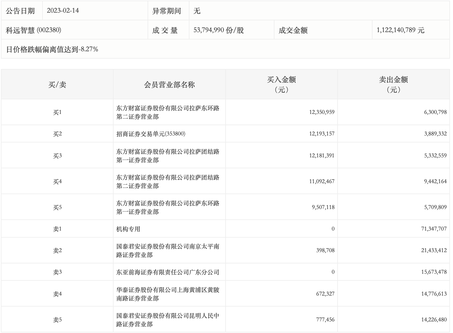
2月14日,科远智慧今日跌8.35%,龙虎榜数据显示,上榜营业部席位全天成交2.27亿元,占当日总成交金额比例为20.26%。其中,买入金额为5917.36万元,卖出金额为1.68亿元,合计净卖出1.09亿元。
具体来看,机构合计净卖出7134.77万元。此外,知名游资现身龙虎榜,作手新一(国泰君安证券南京太平南路证券营业部)、东亚前海证券广东分公司分别卖出2143.34万元、1567.35万元;东方财富证券拉萨东环路第二证券营业部、招商证券交易单元(353800)分别买入1235.10万元、1219.32万元。

评论