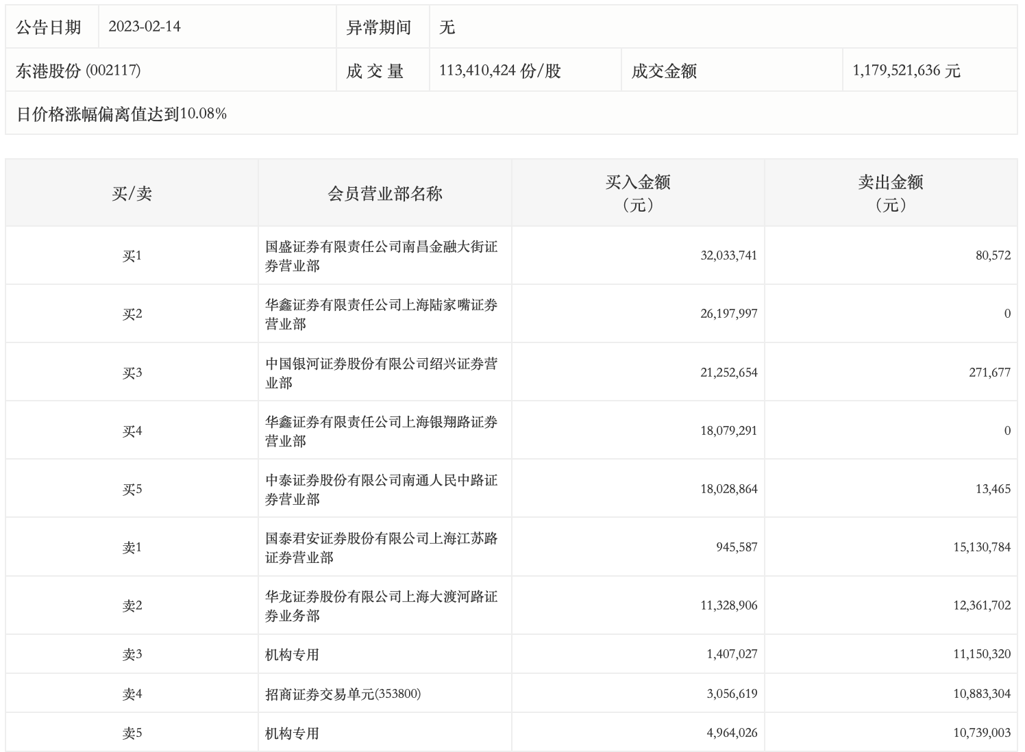
2月14日,东港股份今日涨停,龙虎榜数据显示,上榜营业部席位全天成交1.98亿元,占当日总成交金额比例为16.78%。其中,买入金额为1.37亿元,卖出金额为6063.08万元,合计净买入7666.39万元。
具体来看,机构买入637.11万元,卖出2188.93万元,合计净卖出1551.83万元。此外,知名游资现身龙虎榜,国盛证券南昌金融大街证券营业部、华鑫证券上海陆家嘴证券营业部分别买入3203.37万元、2619.80万元;章盟主(国泰君安证券上海江苏路证券营业部)、华龙证券上海大渡河路证券业务部分别卖出1513.08万元、1236.17万元。

评论