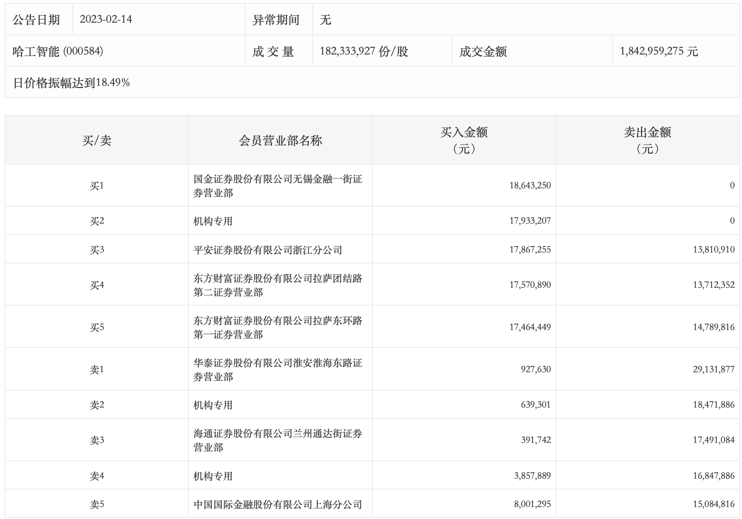
2月14日,哈工智能今日跌3.85%,龙虎榜数据显示,上榜营业部席位全天成交2.43亿元,占当日总成交金额比例为13.17%。其中,买入金额为1.03亿元,卖出金额为1.39亿元,合计净卖出3604.37万元。
具体来看,机构买入2243.04万元,卖出3531.98万元,合计净卖出1288.94万元。此外,华泰证券淮安淮海东路证券营业部、海通证券兰州通达街证券营业部分别卖出2913.19万元、1749.11万元;国金证券无锡金融一街证券营业部、平安证券浙江分公司分别买入1864.33万元、1786.73万元。

评论