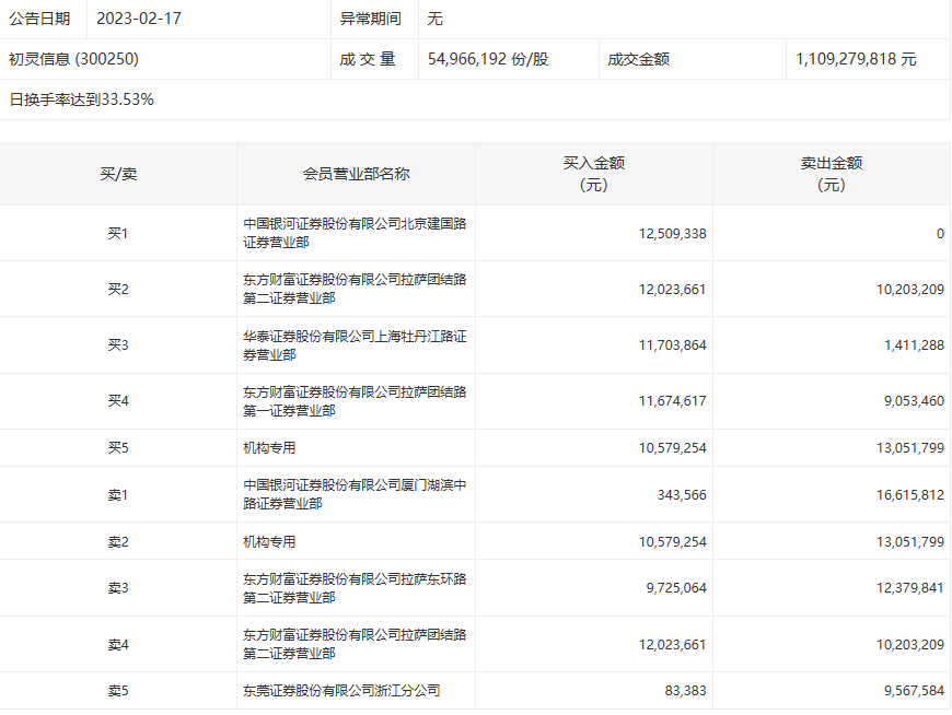
2月17日,初灵信息今日跌10.59%,龙虎榜数据显示,上榜营业部席位全天成交1.41亿元,占当日总成交金额比例为12.7%。其中,买入金额为6864.27万元,卖出金额为7228.3万元,合计净卖出364.02万元。
具体来看,机构买入1057.93万元,卖出1305.18万元,合计净卖出247.25万元。此外,中国银河证券厦门湖滨中路证券营业部、东方财富证券拉萨东环路第二证券营业部分别卖出1661.58万元、1237.98万元;中国银河证券北京建国路证券营业部、东方财富证券拉萨团结路第二证券营业部分别买入1250.93万元、1202.37万元。

评论