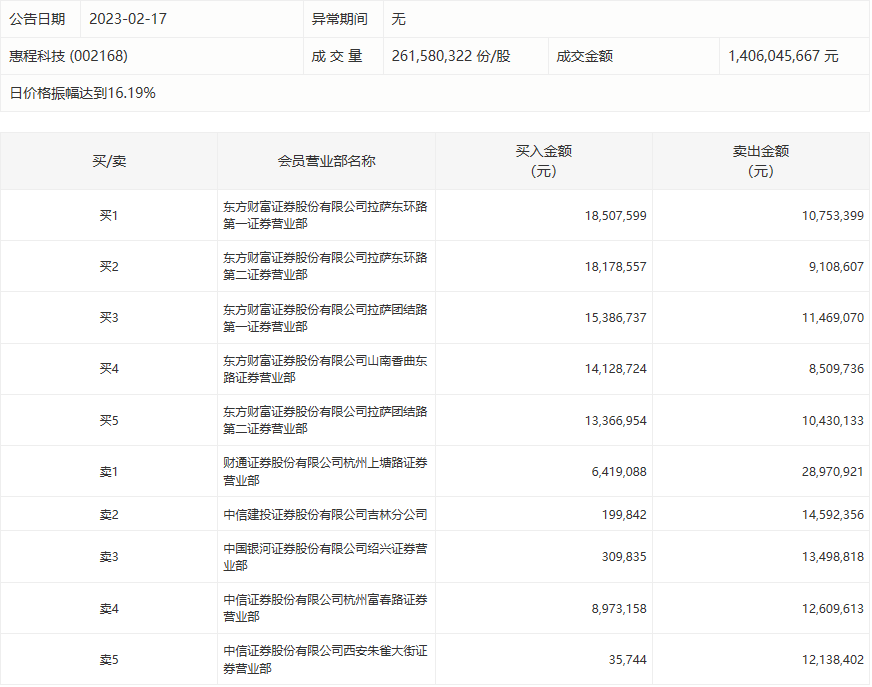
2月17日,惠程科技今日跌0.19%,龙虎榜数据显示,上榜营业部席位全天成交2.28亿元,占当日总成交金额比例为16.19%。其中,买入金额为9550.62万元,卖出金额为1.32亿元,合计净卖出3657.48万元。
具体来看,知名游资现身龙虎榜,赵老哥(中国银河证券股份有限公司绍兴证券营业部)净卖出1318.90万元、方新侠(中信证券股份有限公司西安朱雀大街证券营业部)净卖出1210.27万元。此外,财通证券杭州上塘路证券营业部、中信建投证券吉林分公司分别卖出2897.09万元、1459.24万元;东方财富证券拉萨东环路第一证券营业部、东方财富证券拉萨东环路第二证券营业部分别买入1850.76万元、1817.86万元。

评论