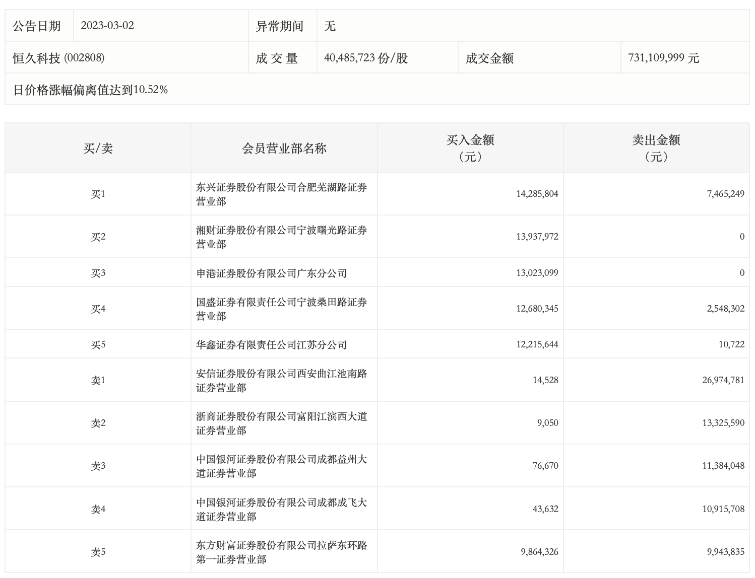
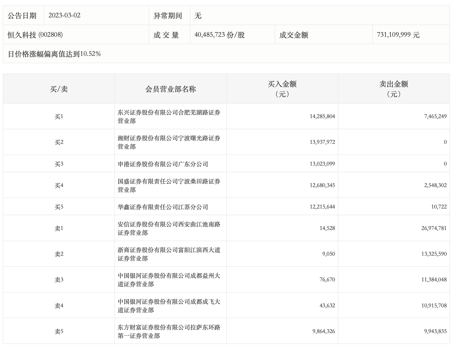
3月2日,恒久科技今日涨停,龙虎榜数据显示,上榜营业部席位全天成交1.59亿元,占当日总成交金额比例为21.71%。其中,买入金额为7615.11万元,卖出金额为8256.82万元,合计净卖出641.72万元。
具体来看,知名游资现身龙虎榜,宁波桑田路(国盛证券有限责任公司宁波桑田路证券营业部)净买入1013.20万元。此外,东兴证券合肥芜湖路证券营业部、湘财证券宁波曙光路证券营业部分别买入1428.58万元、1393.80万元;安信证券西安曲江池南路证券营业部、浙商证券富阳江滨西大道证券营业部分别卖出2697.48万元、1332.56万元。

评论