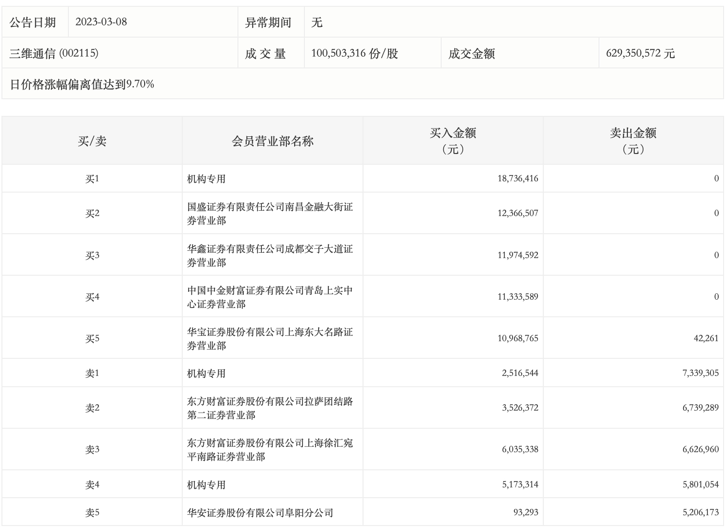
3月8日,三维通信今日涨停,龙虎榜数据显示,上榜营业部席位全天成交1.14亿元,占当日总成交金额比例为18.19%。其中,买入金额为8272.47万元,卖出金额为3175.5万元,合计净买入5096.97万元。
具体来看,机构买入2642.63万元,卖出1314.04万元,合计净买入1328.59万元。此外,国盛证券南昌金融大街证券营业部、华鑫证券成都交子大道证券营业部分别买入1236.65万元、1197.46万元;东方财富证券拉萨团结路第二证券营业部、东方财富证券上海徐汇宛平南路证券营业部分别卖出673.93万元、662.70万元。

评论