文|公司研究室大健康组 刀客
近日,李安平及其实际控制的振东制药(300158.SZ)再次领受了监管罚单。
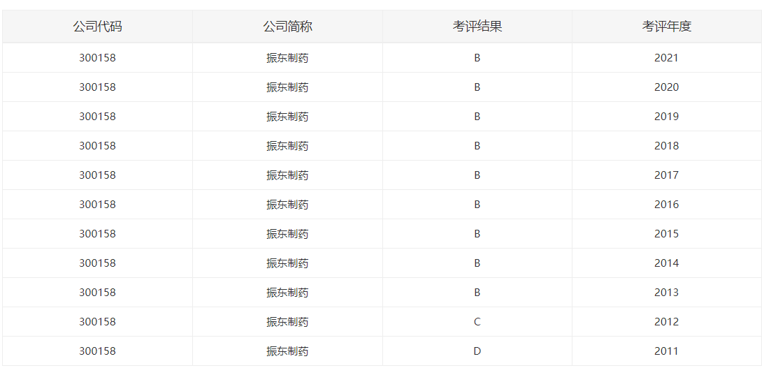
自2011年1月登陆创业板以来,李安平及振东制药受到多次监管处罚,公司财报也多次遭到深交所关注,更因为计税依据造假被问询。最奇葩的是,截至2021年,11年间,这家公司的信息披露考评从未得过A。这个成绩,与其代码隔壁的ST新研(300159.SZ)有的一拼。
更让人惊讶的是:李安平还通过振东集团占用上市公司7114万资金。此前,他刚通过上市公司分红拿到10亿现金,通过股份减持套现十几亿,手头现有股份也质押出去了44%。这位山西长治首富,目前究竟有多缺钱,才会做出违规占用上市公司资金这么LOW的事?

数据来源:深交所
01、信披违规“惯犯”,实控人及高管被监管多次处罚
3月6日,振东制药披露山西证监局行政监管措施决定书。根据这份决定,振东制药存在三个方面问题。
信息披露方面:2019年12月—2021年3月,公司控股股东振东集团非经营性占用公司资金7114万元,用于日常经营、归还股票质押借款等。对此,振东制药未进行披露。
财务基础及内部控制方面,公司关于收入确认的内部控制存在重大缺陷;一是公司收入确认政策为经销商收到相应药品时确认营业收入。但在日常执行过程中,公司根据发货单即确认销售收入,未严格按照收入确认政策进行会计处理。二是子公司道地药材未针对收入确认建立有效内控。

内幕信息知情人登记管理方面:2021—2022年,振东制药出售子公司朗迪制药、筹划 2021年度利润分配等重大事项时,未按照规定进行内幕信息知情人登记管理。
监管部门认为,公司时任董事长李安平、董秘周红军、财务总监刘长禄对前述事项负有主要责任,决定对振东制药及李安平、周红军、刘长禄采取责令改正并出具警示函的监督管理措施,并记入证券期货市场诚信档案。
这已不是李安平第一次遭受监管处罚。
早在2012年5月25日,振东制药刚上市不久,就因关联方资金占用违规,深交所发布《关于对山西振东制药股份有限公司及相关当事人给予处分的决定》,对山西振东制药股份有限公司给予公开谴责的处分;对振东制药董事长、实际控制人李安平给予公开谴责的处分;对刘近荣、秦正国、陈群、赵燕红给予通报批评的处分。对于振东制药及相关当事人的违规行为和深交所给予的上述处分,深交所将记入上市公司诚信档案,并向社会公布。

振东制药还曾因信披违规被山西证监局责令改正。
2015年8月25日,山西证监局向振东制药发布了《关于对山西振东制药股份有限公司采取责令改正措施的决定》。《决定》指出,振东制药2014年8月30日与北京正聚医药科技有限公司签订研发合同,合同总金额1000万元,占公司2013年年末经审计净资产的0.51%,并于2014年9月5日支付预付款350万元。
经查,正聚医药与振东制药存在关联关系,但振东制药2014年财务报告中未披露与其发生的上述关联交易。该行为违反了《上市公司信息披露管理办法》相关规定,山西证监局决定对振东制药采取责令改正的监管措施,并记入证券期货市场诚信档案。

业内人士坦言,就信息披露而言,已上市十几年的振华制药可谓是违规“惯犯”。在注册制全面推行后,信息披露将成为上市公司最为核心的监管内容。如果振华制药在信息披露中的违规行为屡犯不改,以后大概率会遭遇严厉处罚,甚至被监管机关立案调查,届时公司将面临多重风险。
02、“粗暴”分红大股东豪取10亿,仍违规占用上市公司7114万
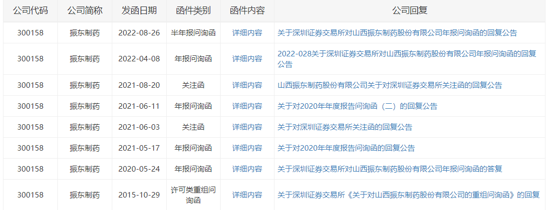
除了信披违规,公司研究室注意到,自上市以来,振东制药已收到过交易所多份关注问询函。这些问询函,涉及公司经营中的方方面面,包括销售服务费用过大,销售费用营收占比过高等等。

不过,最让人惊讶的是,刚被披露的李安平通过振东集团占用上市公司7114万资金。
此前,他刚通过上市公司分红,股份减持套现,以及现有股份质押等多种形式,筹集到大批资金。这位山西长治首富,目前究竟有多缺钱,才会做出违规占用上市公司资金这么LOW的事?
据不完全统计,从2018年3月开始,李安平通过振东集团大举减持。截至2022年3月31日,振东集团通过6次减持,合计套现8.04亿元。此外,2022年7月,振东集团还将所持振东制药5%股权转让给中泰资管,套现约3.41亿元。

2021年,作为公司实际控制人、董事长,李安平强力推动振东制药异常分红,当年10派27元。截至目前,振东制药已累计分红33.29亿元,其中2015年、2021年,分别分红1.73亿元、28.77亿元。

粗略估算,李安平持有振东集团99.9%股权,通过减持加分红,累计变现24亿元左右。
除此之外,李安平通过振东集团持有的股份也质押出去了44%。
如果说大股东真的缺钱,那么,其主导上市公司卖掉堪称现金奶牛的朗迪药业,就更令人费解了。
2021年8月,振东制药作价58亿元将朗迪制药100%股权出售。这次交易,公司获利约29亿元。结果,2021年,公司实现的净利润、扣非净利润分别为26.17亿元、1.34亿元,同比变动898.92%、-25.93%。
出售之后,公司当年分红28.77亿元。也就是说,公司将出售核心资产所得全部分掉了。核心资产卖掉后,公司开始出现亏损。三季报显示,2022年,公司前9个月,扣非净利润-2645万元。
这样的结果,让人很难理解公司当初卖出朗迪的理由。
对于出售原因,振东制药公告中称,朗迪制药在保健品和消费品领域的进一步扩张,将面临管理和资金投入的制约,与其他业务的协同效应和关联度相对有限,出售朗迪制药可以使其战略更为聚焦,同时大幅降低商誉。

商誉确实大幅减少了,可是利润也没有了。然后,卖掉这块优质的资产的钱,被大股东主导分掉了。这或许是机构投资者对这家公司望而却步的重要原因。东方财富数据显示,截至2022年12月31日,仅一家基金持有振东制药4.16万股。
当然,这个数据统计的或许不够全面,但从2022年中报看,基金最多持股也就147.73万,占总股本0.14%;QFII持股625.8979万,占占总股本0.61%.这样的持股比例,只能说是聊胜于无。

事实上,作为医药创新类企业,多年来,振东制药一直以销售作为发展导向,销售费用占比长期居高不下,接近50%;研发费用则多年低于5%。因此,当其卖掉现金奶牛朗迪,转而拥抱生发用品达霏欣米诺地尔搽剂时,很多投资者都看不懂李安平这波神操作。



评论