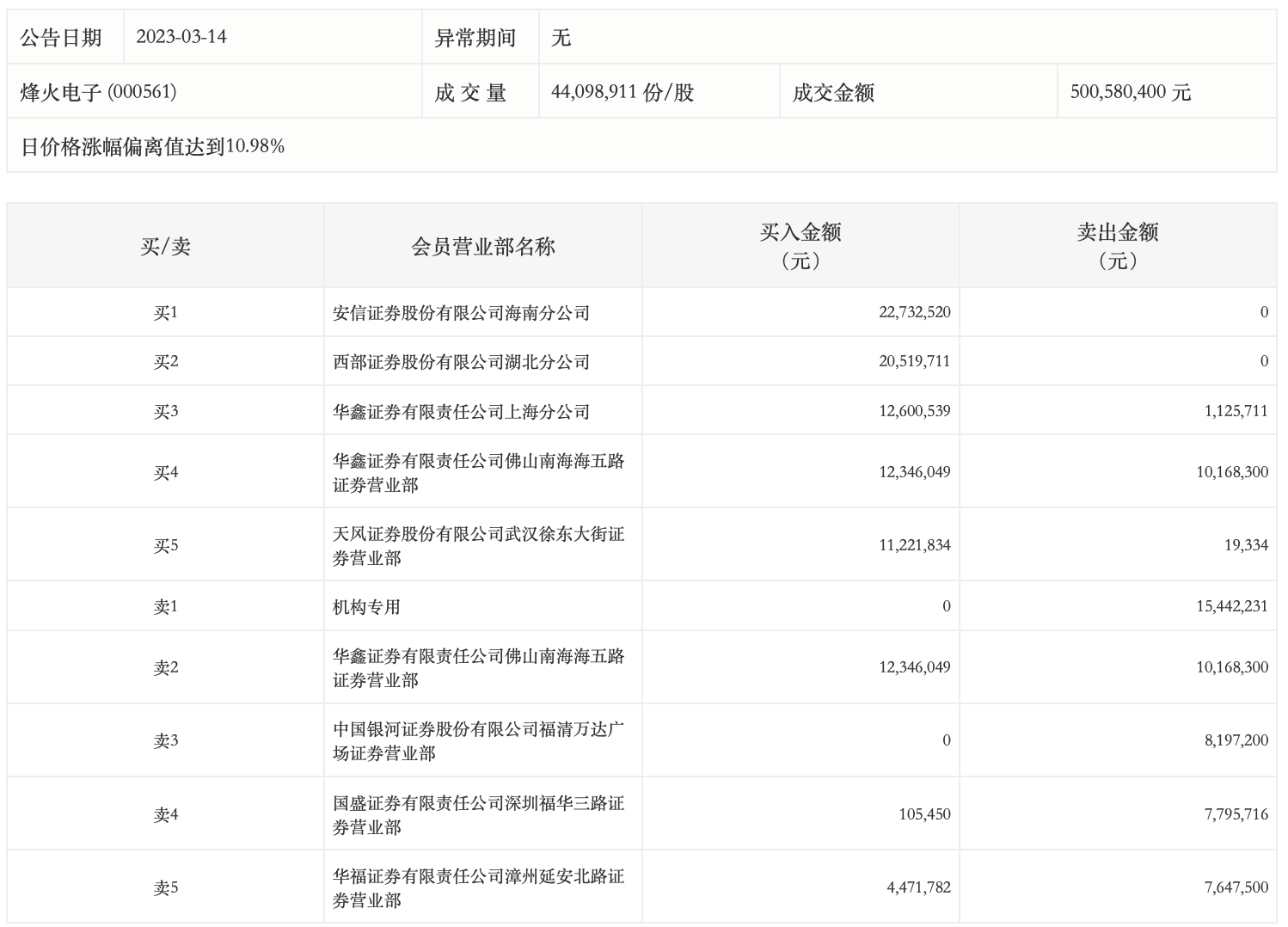
3月14日,烽火电子今日涨停,龙虎榜数据显示,上榜营业部席位全天成交1.34亿元,占当日总成交金额比例为26.85%。其中,买入金额为8399.79万元,卖出金额为5039.6万元,合计净买入3360.19万元。
具体来看,机构合计净卖出1544.22万元。此外,安信证券海南分公司、西部证券湖北分公司分别买入2273.25万元、2051.97万元;华鑫证券佛山南海海五路证券营业部、中国银河证券福清万达广场证券营业部分别卖出1016.83万元、819.72万元。

来源:界面新闻
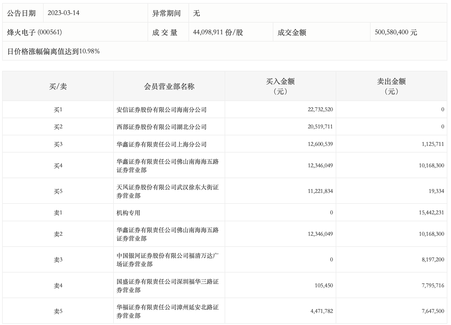
3月14日,烽火电子今日涨停,龙虎榜数据显示,上榜营业部席位全天成交1.34亿元,占当日总成交金额比例为26.85%。其中,买入金额为8399.79万元,卖出金额为5039.6万元,合计净买入3360.19万元。
具体来看,机构合计净卖出1544.22万元。此外,安信证券海南分公司、西部证券湖北分公司分别买入2273.25万元、2051.97万元;华鑫证券佛山南海海五路证券营业部、中国银河证券福清万达广场证券营业部分别卖出1016.83万元、819.72万元。

评论