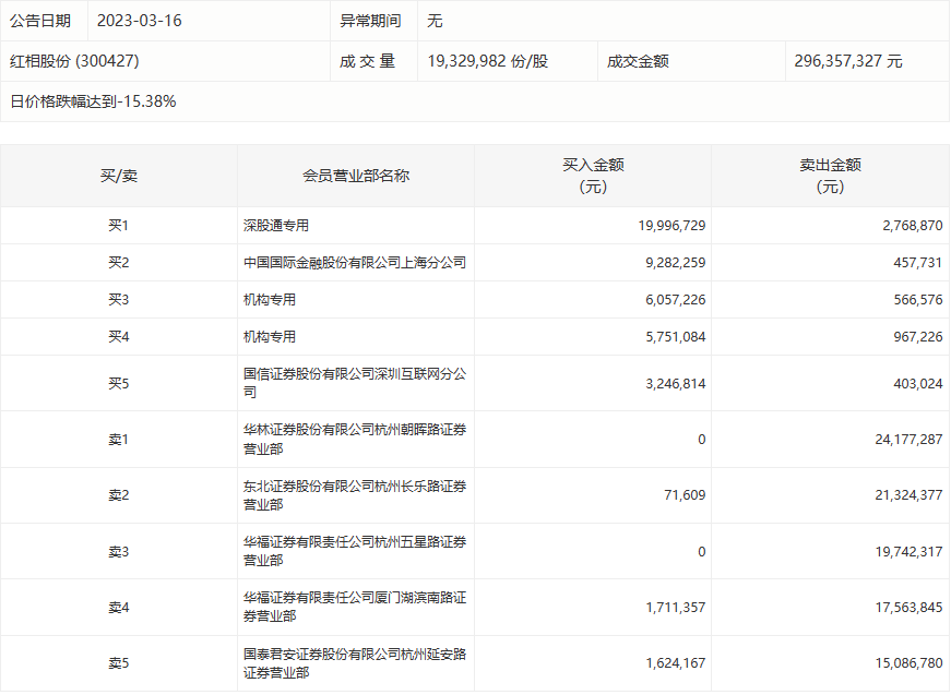
3月16日,红相股份今日跌15.38%,龙虎榜数据显示,上榜营业部席位全天成交1.51亿元,占当日总成交金额比例为50.88%。其中,买入金额为4774.12万元,卖出金额为1.03亿元,合计净卖出5531.68万元。
具体来看,机构买入1180.83万元,卖出153.38万元,合计净买入1027.45万元。此外,华林证券杭州朝晖路证券营业部、东北证券杭州长乐路证券营业部分别卖出2417.73万元、2132.44万元;深股通专用、中国国际金融上海分公司分别买入1999.67万元、928.23万元。

评论