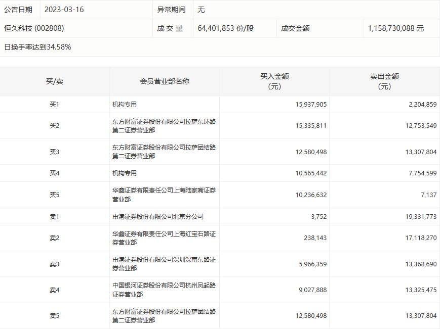
3月16日,恒久科技今日跌4.38%,龙虎榜数据显示,上榜营业部席位全天成交1.79亿元,占当日总成交金额比例为15.45%。其中,买入金额为7989.24万元,卖出金额为9917.22万元,合计净卖出1927.97万元。
具体来看,机构买入2650.33万元,卖出995.95万元,合计净买入1654.39万元。此外,知名游资现身龙虎榜,申港证券北京分公司、炒股养家(华鑫证券上海红宝石路证券营业部)分别卖出1933.18万元、1711.83万元;东方财富证券拉萨东环路第二证券营业部、东方财富证券拉萨团结路第二证券营业部分别买入1533.58万元、1258.05万元。

评论