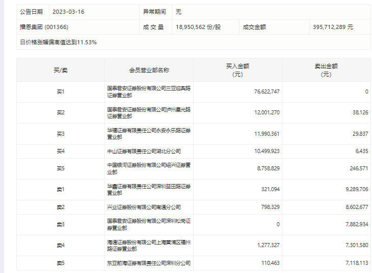
3月16日,播恩集团今日涨停,龙虎榜数据显示,上榜营业部席位全天成交1.63亿元,占当日总成交金额比例为41.17%。其中,买入金额为1.22亿元,卖出金额为4051.6万元,合计净买入8186.44万元。具体来看,知名游资现身龙虎榜,赵老哥(中国银河证券股份有限公司绍兴证券营业部)净买入851.23万元。此外,国泰君安证券三亚迎宾路证券营业部、国泰君安证券泸州星光路证券营业部分别买入7662.27万元、1200.13万元;华鑫证券深圳益田路证券营业部、兴业证券南通分公司分别卖出928.97万元、860.27万元。

评论